PRAVILNIK O KATEGORIJAMA, ISPITIVANJU I KLASIFIKACIJI OTPADA("Sl. glasnik RS", br. 56/2010, 93/2019, 39/2021 i 65/2024) |
Ovim pravilnikom propisuje se: Katalog otpada; lista kategorija otpada (Q lista); lista kategorija opasnog otpada prema njihovoj prirodi ili aktivnosti kojom se stvaraju (Y lista); lista komponenti otpada koji ga čine opasnim (C lista); lista opasnih karakteristika otpada (H lista); lista postupaka i metoda odlaganja i ponovnog iskorišćenja otpada (D i R lista); granične vrednosti koncentracije opasnih komponenti u otpadu na osnovu kojih se određuju karakteristike otpada; vrste parametara za određivanje fizičko-hemijskih osobina opasnog otpada namenjenog za fizičko-hemijski tretman; vrste parametara za ispitivanje otpada za potrebe termičkog tretmana; vrste parametara za ispitivanje otpada i ispitivanje eluata namenjenog odlaganju; vrste, sadržina i obrazac izveštaja o ispitivanju otpada i način i postupak klasifikacije otpada.
Katalog otpada je zbirna lista neopasnog i opasnog otpada prema kojoj se vrši razvrstavanje otpada u dvadeset grupa u zavisnosti od mesta nastanka i porekla, data u Prilogu 1. koji je odštampan uz ovaj pravilnik i čini njegov sastavni deo.
Grupe otpada iz stava 1. ovog člana označene su dvocifrenim brojevima, a šestocifrenim brojevima označene su pojedinačne vrste otpada.
Brojevi iz stava 2. ovog člana nazivaju se indeksni brojevi otpada i označavaju:
1) prve dve cifre označavaju aktivnost iz koje nastaje otpad;
2) treća i četvrta cifra označavaju proces u kojem otpad nastaje;
3) peta i šesta cifra označavaju deo procesa iz kojeg otpad nastaje.
U Katalogu otpada, opasan otpad označen je zvezdicom (*) koja se stavlja posle indeksnog broja.
Otpad je određen prema kategorijama koje su date u Prilogu 2. koji je odštampan uz ovaj pravilnik i čini njegov sastavni deo.
Lista kategorija ili srodnih tipova opasnog otpada prema njihovoj prirodi ili prema aktivnosti kojom se stvaraju (Y lista) data je u Prilogu 3. koji je odštampan uz ovaj pravilnik i čini njegov sastavni deo.
Opasan otpad se određuje prema karakteristikama otpada koje ga čine opasnim (H lista) i komponentama otpada zbog kojih se otpad smatra opasnim (C lista).
Komponente otpada zbog kojih se otpad smatra opasnim ako ima opasne karakteristike (C lista) date su Prilogu 4. koji je odštampan uz ovaj pravilnik i čini njegov sastavni deo.
Otpad karakterisan kao opasan koji pokazuje jednu ili više karakteristika sa Liste opasnih karakteristika otpada (H lista) dat je u Prilogu 5. koji je odštampan uz ovaj pravilnik i čini njegov sastavni deo i u odnosu na H3-H8, H10 i H11 jednu ili više od sledećih karakteristika, i to:
1) tačka paljenja ≤ (manje ili jednako) 55°C;
2) jedna ili više supstanci klasifikovanih kao veoma toksične pri ukupnoj koncentraciji ≥ 0,1%;
3) jedna ili više supstanci klasifikovanih kao toksične pri ukupnoj koncentraciji ≥ 3%;
4) jedna ili više supstanci klasifikovanih kao štetne pri ukupnoj koncentraciji ≥ 25%;
5) jedna ili više korozivnih supstanci klasifikovanih kao R35 (izaziva ozbiljne opekotine) pri ukupnoj koncentraciji ≥ 1%;
6) jedna ili više korozivnih supstanci klasifikovanih kao R34 (izaziva opekotine) pri ukupnoj koncentraciji ≥ 5%;
7) jedna ili više iritantnih supstanci klasifikovanih kao R41 (rizik od ozbiljnog oštećenja očiju) pri ukupnoj koncentraciji ≥10%;
8) jedna ili više iritantnih supstanci klasifikovanih kao R36, R37, R38 (nadražuje oči, respiratorni sistem i kožu) pri ukupnoj koncentraciji ≥20%;
9) jedna supstanca za koju se zna da je karcinogena kategorija 1 ili 2 pri koncentraciji ≥0.1%;
10) jedna supstanca za koju se zna da je karcinogena kategorija 3 pri koncentraciji ≥1%;
11) jedna supstanca toksična za reprodukciju kategorije 1 ili 2 klasifikovane kao R60, R61 (može smanjiti plodnost, može prouzrokovati oštećenje fetusa) pri koncentraciji ≥5%;
12) jedna supstanca toksična za reprodukciju kategorije 3 klasifikovane kao R62, R63 (rizik od smanjenja plodnosti, mogući rizik od oštećenja fetusa) pri koncentraciji ≥5%;
13) jedna mutagena supstanca kategorije 1 ili 2 klasifikovane kao R46 (može prouzrokovati nasledno genetsko oštećenje) pri koncentraciji ≥0.1%;
14) jedna mutagena supstanca kategorije 3 klasifikovane kao R40 (ograničeno prisustvo karcinogenog efekta) pri koncentraciji ≥1%.
Za karakteristike opasnog otpada navedene u H1, H2, H9 i H12 do H14 ne mogu se primeniti karakteristike specificirane u stavu 4. ovog člana.
Oznake postupaka i metoda odlaganja ili postupaka i metoda radi ponovnog iskorišćenja otpada određene (D i R lista) date su u Prilogu 6. koji je odštampan uz ovaj pravilnik i čini njegov sastavni deo.
Utvrđivanje sastava, odnosno opasnih karakteristika otpada vrši se ispitivanjem i klasifikacijom otpada, kao i određivanje daljih postupaka ili metoda postupanja sa otpadom u skladu sa Zakonom.
Ispitivanje otpada vrši se kroz sledeće postupke:
1) uzorkovanje otpada;
2) identifikacija otpada sa utvrđivanjem kategorije otpada;
3) karakterizacija otpada u zavisnosti od stepena opasnosti (inertan, neopasan, opasan) i određivanje opasnih karakteristika otpada;
4) karakterizacija opasnog otpada i utvrđivanje koncentracije opasnih materija u otpadu;
5) određivanje fizičko-hemijskih karakteristika otpada;
6) određivanje toksikoloških karakteristika i efekata na ljudsko zdravlje;
7) određivanje mogućih uticaja na životnu sredinu;
8) druge postupke u skladu sa primenjenom metodologijom;
9) izrada Izveštaja o ispitivanju otpada.
Granične vrednosti koncentracije opasnih komponenti u otpadu na osnovu kojih se određuju karakteristike otpada date su u Prilogu 5. koji je odštampan uz ovaj pravilnik i čine njegov sastavni deo.
Opasan otpad namenjen za fizičko-hemijski tretman ispituje se u skladu sa članom 6. ovog pravilnika, a prema Listi parametara za određivanje fizičko-hemijskih karakteristika opasnog otpada namenjenog za fizičko-hemijski tretman, datoj u Prilogu 8. koji je odštampan uz ovaj pravilnik i čini njegov sastavni deo.
Otpad koji nastane nakon fizičko-hemijskog tretmana se klasifikuje drugom oznakom iz Kataloga otpada, a ukoliko se odlaže na deponiju mora ispunjavati minimalne kriterijume za odlaganje granulisanog otpada ili monolitnog otpada koji su sastavni deo Priloga 8.
Monolitni otpad iz stava 2. ovog člana je otpad koji je tretiran sa namerom, radi solidifikacije i čvrstog vezivanja (kalupi, blokovi, kolone, materijali koji imaju osobine cementa i sl.).
Otpad namenjen termičkom tretmanu ispituje se u skladu sa članom 6. ovog pravilnika, a prema Listi parametara za ispitivanje otpada za potrebe termičkog tretman datoj u Prilogu 9. koja je odštampana uz ovaj pravilnik i čini njegov sastavni deo.
Otpad namenjen termičkom tretmanu je:
a) otpad visoke toplotne moći, koji je sagorljiv bez dodatnog goriva; ili
b) otpad niske toplotne moći, koji nije sagorljiv bez dodatnog goriva.
Otpad namenjen odlaganju ispituje se prema u skladu sa članom 6. ovog pravilnika, a ispituje prema Listi parametara za ispitivanje otpada namenjenog odlaganju, datoj u Prilogu 10. koji je odštampan uz ovaj pravilnik i čini njegov sastavni deo.
Toksične karakteristike otpada namenjenog odlaganju ispituju se radi utvrđivanja rizika po zdravlje ljudi i životnu sredinu usled mogućeg zagađenja podzemnih voda iz odloženog otpada.
Otpad namenjen za odlaganje na deponije neopasnog, opasnog ili inertnog otpada se ispituje posebno, u zavisnosti od karaktera otpada.
Parametri za ispitivanje otpada namenjenog odlaganju na deponiju dati su u Prilogu 10. ovog pravilnika.
Izveštaj o ispitivanju otpada sadrži:
1) naziv i adresu laboratorije koja je vršila ispitivanja;
2) jedinstvenu identifikaciju izveštaja o ispitivanju i identifikaciju svake strane izveštaja;
3) podatke o podnosiocu zahteva za ispitivanje (naziv, ime i prezime odgovornog lica, adresu, broj telefona, faksa i e-mail);
4) podatke o uzorku: naziv uzorka, naziv proizvođača otpada, lokacija sa koje je uzet uzorak, GPS koordinate, način i metodu uzorkovanja, datum i vreme uzorkovanja i drugi podaci o uzorku, ako je relevantno, ime lica koje je vršilo uzorkovanje;
5) opis stanja i nedvosmislenu identifikaciju uzorka koji je ispitivan;
6) rezultate ispitivanja (parametre koji se ispituju, nađene vrednosti koncentracija, nađene vrednosti fizičkih, bioloških i mikrobioloških ispitivanja, referentne vrednosti određene važećim propisima i referentne vrednosti koje nisu sadržane u propisima već u posebno naznačenim dokumentima, jedinice u kojima se rezultati izdaju, oznaku metoda);
7) potpis lica koje je vršilo ispitivanje i koje overava izveštaj o ispitivanju;
8) datum izdavanja izveštaja;
9) prostor za upisivanje eventualnih napomena (ako nisu sprovedena sva zahtevana ispitivanja ili se na drugi način odstupilo od zahteva za ispitivanje, ako je deo ispitivanja obavilo drugo ovlašćeno lice, navode se svi podaci o drugom ovlašćenom licu i njegovom ispitivanju koje je sastavni deo izveštaja);
10) originalni izveštaj laboratorije koja je izvršila deo ispitivanja;
11) fotografski snimak ili video zapis terena na kome je izvršeno uzorkovanje.
Izveštaj o ispitivanju otpada iz stava 1. ovog člana sadrži i klasifikaciju otpada sa sledećim podacima, i to:
1) broj i datum izveštaja o ispitivanju otpada;
2) naziv otpada;
3) identifikacioni broj uzorka otpada;
4) opis postupka nastanka otpada;
5) količina otpada od koje je izvršeno uzorkovanje;
6) fizičko svojstvo otpada: prah, čvrsta materija, viskozna materija, pasta, mulj, tečna materija, gasovita materija, ostalo;
7) kategorija otpada prema Listi kategorija otpada (Q lista);
8) indeksni broj otpada prema Katalogu otpada;
9) karakter otpada (opasan/neopasan/inertan);
10) Y oznaku prema Listi kategorija ili srodnih tipova opasnog otpada prema njihovoj prirodi ili aktivnosti kojom se stvaraju (Y lista), ukoliko je otpad opasan;
11) C oznaku prema Listi komponenti otpada koji ga čine opasnim (C lista), ukoliko je otpad opasan;
12) H oznaku prema Listi karakteristika otpada koje ga čine opasnim (H lista), ukoliko je otpad opasan;
12a) klasa i kategorija opasnosti i obaveštenje o opasnosti supstanci i smeša koje sačinjavaju opasan otpad;
13) napomene.
Izgled izveštaja o ispitivanju otpada dat je na Obrascu 1. koji je odštampan uz ovaj pravilnik i čini njegov sastavni deo.
Za prekogranično kretanje otpada izveštaj o ispitivanju otpada sadrži podatke iz Obrasca 1. ovog pravilnika i podatke o klasifikaciji otpada za uvoz, izvoz i tranzit otpada, i to:
1) broj i datum izveštaja o ispitivanju otpada;
2) naziv otpada;
3) identifikacioni broj uzorka otpada;
4) opis postupka nastanka otpada;
5) količina otpada od koje je izvršeno uzorkovanje;
6) ukupna količina otpada predviđena za uvoz, izvoz ili tranzit;
7) predviđen period za uvoz, izvoz ili tranzit;
8) fizičko svojstvo otpada: prah, čvrsta materija, viskozna materija, pasta, mulj, tečna materija, gasovita materija, ostalo;
9) karakter otpada (opasan/neopasan/inertan);
10) oznaka otpada prema Bazelskoj konvenciji (Aneks VIII - lista A i Aneks IX - lista B);
11) kategorija otpada prema Bazelskoj konvenciji (Aneks I - Y oznaka);
12) opasna karakteristika otpada prema Bazelskoj konvenciji (Aneks III - H oznaka);
13) identifikacioni broj UN;
14) UN klasa (ADR/RID propisi: ADR - propisi za transport opasnih materija u drumskom saobraćaju ili RID propisi za transport opasnih materija u železničkom saobraćaju);
15) oznaka otpada iz Kataloga otpada;
16) klasifikacija otpada prema OECD listi otpada (zelena, oker);
17) nacionalna oznaka otpada i carinski broj;
18) metode postupanja sa otpadom (prema Bazelskoj konvenciji, Aneks IVa - D i Aneks IVb - R);
19) napomene.
Podaci o klasifikaciji otpada iz stava 1. ovog člana dati su u Obrascu 2. koji je odštampan uz ovaj pravilnik i čini njegov sastavni deo.
Način i postupak klasifikacije otpada, odnosno svrstavanja otpada na jednu ili više lista otpada, prema njegovom poreklu, sastavu i daljoj nameni dat je u Prilogu 13. koji je odštampan uz ovaj pravilnik i čini njegov sastavni deo.
Danom stupanja na snagu ovog pravilnika prestaje da važe:
1) odredbe člana 2. tač. 1)-9) i član 3. Pravilnika o uslovima i načinu razvrstavanja, pakovanja i čuvanja sekundarnih sirovina ("Službeni glasnik RS", br. 55/01 i 72/09 - dr. pravilnik);
2) odredbe čl. 2, 3. i 11. Pravilnika o načinu postupanja sa otpacima koji imaju svojstva opasnih materija ("Službeni glasnik RS", broj 12/95).
Ovaj pravilnik stupa na snagu osmog dana od dana objavljivanja u "Službenom glasniku Republike Srbije".
Samostalni član Pravilnika o izmenama i dopuni
Pravilnika o kategorijama, ispitivanju i klasifikaciji otpada
("Sl. glasnik RS", br. 39/2021)
Član 3
Ovaj pravilnik stupa na snagu narednog dana od dana objavljivanja u "Službenom glasniku Republike Srbije".
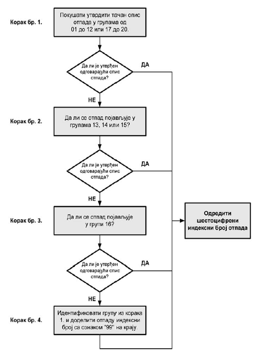
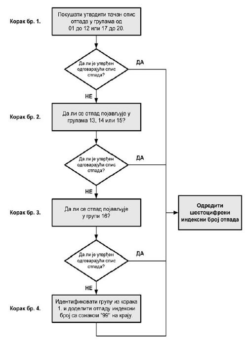
Za određivanje otpada u Katalogu otpada potrebno je:
1) identifikovati izvor nastajanja otpada u grupama 01 do 12, ili 17 do 20 i odrediti šestocifrenu oznaku otpada, izuzimajući oznake koje se završavaju sa 99 u tim grupama;
2) pri identifikaciji specifičnih proizvodnih jedinica koje zahtevaju označavanje svojih aktivnosti u drugim grupama, kao što je proizvodnja automobila, otpad se može označiti prema različitim procesima proizvodnje u kojima nastaje, i to: prema 08 (otpadi od korišćenja boja), ili 11 (neorganski otpadi koji sadrže metale iz procesa tretmana metala i bojenja metala) ili 12 (otpadi iz procesa oblikovanja i površinske obrade metala), u zavisnosti od redosleda postupaka određivanja, odnosno identifikacije;
3) ako se ne može odrediti odgovarajuća oznaka otpada u grupama 01 do 12, ili 17 do 20, razmatraju se grupe 13, 14 i 15 za identifikaciju otpada;
4) ako se ne može primeniti ni jedna oznaka otpada u prethodno navedenim grupama otpad se mora identifikovati u grupi 16;
5) ako se otpad ne identifikuje u grupi 16, koristi se oznaka 99 (otpad koji nije drugačije specificiran) prema grupi koja se odnosi na aktivnost identifikovanu kao izvor nastajanja otpada.
INDEKS
1 |
Otpadi koji nastaju u istraživanjima, iskopavanjima iz rudnika ili kamenoloma i fizičkom i hemijskom tretmanu minerala |
Oznake za N listu opasnosti |
01 01 |
otpadi od iskopavanja minerala |
|
01 01 01 |
otpadi od iskopavanja minerala za crnu metalurgiju |
N |
01 01 02 |
otpadi od iskopavanja minerala za obojenu metalurgiju |
N |
01 03 |
otpadi od fizičke i hemijske obrade minerala za crnu metalurgiju |
|
01 03 04* |
jalovine iz prerade sulfidne rude koje stvaraju kiselinu |
V1 |
01 03 05* |
druge jalovine koje sadrže opasne supstance |
V1 |
01 03 06 |
jalovine drugačije od onih navedenih u 01 03 04 i 01 03 05 |
V1 |
01 03 07* |
ostali otpadi iz fizičkog i hemijskog tretmana minerala za crnu metalurgiju koji sadrže opasne supstance |
V2 |
01 03 08 |
prašnjavi i praškasti otpadi drugačiji od onih navedenih u 01 03 07 |
V2 |
01 03 09 |
crveni mulj iz proizvodnje aluminijuma drugačiji od onog navedenog u 01 03 07 |
V2 |
01 03 99 |
otpadi koji nisu drugačije specificirani |
N |
01 04 |
otpadi iz fizičke i hemijske obrade minerala za obojenu metalurgiju |
|
01 04 07* |
otpadi iz fizičke i hemijske obrade minerala za obojenu metalurgiju koji sadrže opasne supstance |
V3 |
01 04 08 |
otpadni šljunak i drobljeni kamen drugačiji od onih navedenih u 01 04 07 |
V3 |
01 04 09 |
otpadni pesak i gline |
N |
01 04 10 |
prašnjavi praškasti otpadi drugačiji od onih navedenih u 01 04 07 |
V3 |
01 04 11 |
otpadi od prerade potaše i kamene soli drugačiji od onih navedenih u 01 04 07 |
V3 |
01 04 12 |
ostaci i drugi otpadi od pranja i čišćenja minerala drugačiji od onih navedenih u 01 04 07 i 01 04 11 |
V3 |
01 04 13 |
otpadi od sečenja i obrade kamena drugačiji od onih navedenih u 01 04 07 |
V3 |
01 04 99 |
otpadi koji nisu drugačije specificirani |
N |
01 05 |
muljevi nastali bušenjem i drugi otpadi od bušenja |
|
01 05 04 |
muljevi i otpadi od bušenja za izvorišta pitke vode |
N |
01 05 05* |
muljevi i otpadi od bušenja koji sadrže naftu |
V4 |
01 05 06* |
muljevi od bušenja i drugi otpadi od bušenja koji sadrže opasne supstance |
V4 |
01 05 07 |
muljevi od bušenja i otpadi koji sadrže barit drugačiji od onih navedenih u 01 05 05 i 01 05 06 |
V4 |
01 05 08 |
muljevi od bušenja i otpadi koji sadrže hloride drugačiji od onih navedenih u 01 05 05 i 01 05 06 |
V4 |
01 05 99 |
otpadi koji nisu drugačije specificirani |
N |
2 |
Otpadi iz poljoprivrede, hortikulture, akvakulture, šumarstva, lova i ribolova, pripreme i prerade hrane |
|
02 01 |
Otpadi iz poljoprivrede, hortikulture, akvakulture, šumarstva, lova i ribolova |
|
02 01 01 |
muljevi od pranja i čišćenja |
N |
02 01 02 |
otpad od životinjskog tkiva |
N |
02 01 03 |
otpad od biljnog tkiva |
N |
02 01 04 |
otpadna plastika (isključujući ambalažu) |
N |
02 01 06 |
životinjski feces, urin i đubrivo (uključujući i otpadnu slamu), tečni otpad, sakupljen odvojeno i tretiran van mesta nastajanja |
N |
02 01 07 |
otpadi iz šumarstva |
N |
02 01 08* |
agrohemijski otpad koji sadrži opasne supstance |
V5 |
02 01 09 |
agrohemijski otpad drugačiji od onog navedenog u 02 01 08 |
V5 |
02 01 10 |
otpad od metala |
N |
02 01 99 |
otpadi koji nisu drugačije specificirani |
N |
02 02 |
otpadi od pripreme i obrade mesa, ribe i druge hrane životinjskog porekla |
|
02 02 01 |
muljevi od pranja i čišćenja |
N |
02 02 02 |
otpad od životinjskog tkiva |
N |
02 02 03 |
materijali nepodobni za potrošnju ili obradu |
N |
02 02 04 |
muljevi od tretmana tečnog otpada na mestu nastajanja |
N |
02 02 99 |
otpadi koji nisu drugačije specificirani |
N |
02 03 |
otpadi od pripreme i prerade voća, povrća, žitarica, jestivih ulja, kakaa, kafe, čaja i duvana; proizvodnje konzervisane hrane; prerade duvana; proizvodnje kvasca i ekstrakta kvasca; pripreme i fermentacije melase |
|
02 03 01 |
muljevi od pranja, čišćenja, ljuštenja, centrifugiranja i separacije |
N |
02 03 02 |
otpadi od konzervansa |
N |
02 03 03 |
otpadi od ekstrakcije rastvaračima |
N |
02 03 04 |
materijali nepodobni za potrošnju ili obradu |
N |
02 03 05 |
muljevi od tretmana tečnog otpada na mestu nastajanja |
N |
02 03 99 |
otpadi koji nisu drugačije specificirani |
N |
02 04 |
otpadi od prerade šećera |
|
02 04 01 |
zemlja od čišćenja i pranja šećerne repe |
N |
02 04 02 |
kalcijum karbonat van specifikacije |
N |
02 04 03 |
muljevi od tretmana tečnog otpada na mestu nastajanja |
N |
02 04 99 |
otpadi koji nisu drugačije specificirani |
N |
02 05 |
otpadi od industrije mlečnih proizvoda |
|
02 05 01 |
materijali nepodobni za potrošnju ili obradu |
N |
02 05 02 |
muljevi od tretmana tečnog otpada na mestu nastajanja |
N |
02 05 99 |
otpadi koji nisu drugačije specificirani |
N |
02 06 |
otpadi od industrije peciva i konditorske industrije |
|
02 06 01 |
materijali nepodobni za potrošnju ili obradu |
N |
02 06 02 |
otpadi od konzervansa |
N |
02 06 03 |
muljevi od tretmana tečnog otpada na mestu nastajanja |
N |
02 06 99 |
otpadi koji nisu drugačije specificirani |
N |
02 07 |
otpadi od proizvodnje alkoholnih i bezalkoholnih napitaka (izuzev kafe, čaja i kakaa) |
|
02 07 01 |
otpadi od pranja, čišćenja i mehaničkog tretmana sirovog materijala |
N |
02 07 02 |
otpadi od destilacije alkohola |
N |
02 07 03 |
otpadi od hemijskog tretmana |
N |
02 07 04 |
materijali nepodobni za potrošnju ili obradu |
N |
02 07 05 |
muljevi od tretmana tečnog otpada na mestu nastajanja |
N |
02 07 99 |
otpadi koji nisu drugačije specificirani |
N |
3 |
Otpadi od prerade drveta i proizvodnje papira, kartona, pulpe, panela i nameštaja |
|
03 01 |
otpadi od prerade drveta i proizvodnje panela i nameštaja |
|
03 01 01 |
otpadna kora i pluta |
N |
03 01 04* |
piljevine, iverje, strugotine, drvo, iverica i furnir koji sadrže opasne supstance |
V6 |
03 01 05 |
piljevine, iverje, strugotine, drvo, iverica i furnir koji ne sadrže opasne supstance drugačije od onih navedenih u 03 01 04 |
V6 |
03 01 99 |
otpadi koji nisu drugačije specificirani |
N |
03 02 |
otpadi od zaštite drveta |
|
03 02 01* |
nehalogenovana organska zaštitna sredstva za drvo |
O1 |
03 02 02* |
organohlorna zaštitna sredstva za drvo |
O1 |
03 02 03* |
organometalna zaštitna sredstva za drvo |
O1 |
03 02 04* |
neorganska zaštitna sredstva za drvo |
O1 |
03 02 05* |
druga zaštitna sredstva koji sadrže opasne supstance |
O2 |
03 02 99 |
otpadi koji nisu drugačije specificirani |
N |
03 03 |
otpadi od proizvodnje i prerade pulpe, papira i kartona |
|
03 03 01 |
otpad od kore i drvni otpad |
N |
03 03 02 |
zeleni tečni mulj nastao obnavljanjem kuvane (bele) tečnosti |
N |
03 03 05 |
muljevi od uklanjanja štamparskih boja u procesu reciklaže papira |
N |
03 03 07 |
mehanički izdvojeni nepotrebni sastojci pri proizvodnji pulpe od otpadnog papira i kartona |
N |
03 03 08 |
otpadi od sortiranja papira i kartona namenjenih reciklaži |
N |
03 03 09 |
krečni otpadni mulj |
N |
03 03 10 |
ostaci vlakana, muljevi od vlakana, punioca i prevlaka iz mehaničke separacije |
N |
03 03 11 |
muljevi iz tretmana otpadne vode na mestu nastajanja |
N |
03 03 99 |
otpadi koji nisu drugačije specificirani |
N |
4 |
otpadi iz tekstilne, krznarske i kožarske industrije |
|
04 01 |
otpadi iz industrije kože i krzna |
|
04 01 01 |
otpadi od uklanjanja drugog tkiva sa kože |
N |
04 01 02 |
krečni otpad |
N |
04 01 03* |
otpadi od odmašćivanja koji sadrže rastvarače, bez tečne faze |
O3 |
04 01 04 |
tečnost za štavljenje koja sadrži hrom |
N |
04 01 05 |
tečnost za štavljenje bez hroma |
N |
04 01 06 |
muljevi koji sadrže hrom, posebno muljevi iz tretmana otpadne vode na mestu nastajanja |
N |
04 01 07 |
muljevi bez hroma, posebno muljevi iz tretmana otpadne vode na mestu nastajanja |
N |
04 01 08 |
otpad od uštavljene kože (otpad od skidanja dlaka, sečenja, prašina od glancanja) koji sadrži hrom |
N |
04 01 09 |
otpadi od krojenja i završne obrade |
N |
04 01 99 |
otpadi koji nisu drugačije specificirani |
N |
04 02 |
otpadi iz tekstilne industrije |
|
04 02 09 |
otpadi od mešovitih materijala (impregnirani tekstil, elastomer, plastomer) |
N |
04 02 10 |
organska materija iz prirodnih proizvoda (npr. mast, vosak) |
N |
04 02 14* |
otpadi iz završne obrade koji sadrže organske rastvarače |
V7 |
04 02 15 |
otpadi iz završne obrade drugačiji od onih navedenih u 04 02 14 |
V7 |
04 02 16* |
boje i pigmenti koji sadrže opasne supstance |
V8 |
04 02 17 |
boje i pigmenti koji ne sadrže opasne supstance drugačiji od onih navedenih u 04 02 16 |
V8 |
04 02 19* |
muljevi iz tretmana otpadnih voda na mestu nastajanja koji sadrže opasne supstance |
V9 |
04 02 20 |
muljevi iz tretmana otpadnih voda na mestu nastajanja drugačiji od onih navedenih u 04 02 19 |
V9 |
04 02 21 |
otpadi od neprerađenih tekstilnih vlakana |
N |
04 02 22 |
otpadi od prerađenih tekstilnih vlakana |
N |
04 02 99 |
otpadi koji nisu drugačije specificirani |
N |
5 |
OTPADI OD RAFINISANJA NAFTE, PREČIŠĆAVANJA PRIRODNOG GASA I PIROLITIČKOG TRETMANA UGLJA |
|
05 01 |
otpadi od rafinacije nafte |
|
05 01 02* |
muljevi od desalinacije |
O4 |
05 01 03* |
muljevi sa dna rezervoara |
O4 |
05 01 04* |
kiselo-bazni muljevi |
O4 |
05 01 05* |
mrlje istekle nafte |
O4 |
05 01 06* |
zauljeni muljevi od postupaka održavanja pogona i opreme |
O4 |
05 01 07* |
kiseli katran |
O4 |
05 01 08* |
ostali katran |
O4 |
05 01 09* |
muljevi iz tretmana otpadnih voda na mestu nastajanja koji sadrže opasne supstance |
V10 |
05 01 10 |
muljevi iz tretmana otpadnih voda na mestu nastajanja drugačiji od onih navedenih u 05 01 09 |
V10 |
05 01 11* |
otpadi od prečišćavanja goriva bazama |
O4 |
05 01 12* |
ulja koja sadrže kiseline |
O5 |
05 01 13 |
muljevi od vode iz kotla |
N |
05 01 14 |
otpadi iz rashladnih kolona |
N |
05 01 15* |
utrošene filterske gline |
O4 |
05 01 16 |
otpadi koji sadrže sumpor iz desulfurizacije nafte |
N |
05 01 17 |
bitumen |
N |
05 01 99 |
otpadi koji nisu drugačije specificirani |
N |
05 06 |
otpadi od pirolitičkog tretmana uglja |
|
05 06 01* |
kiseli katran |
O6 |
05 06 03* |
ostali katran |
O4 |
05 06 04 |
otpad iz kolona za hlađenje |
N |
05 06 99 |
otpadi koji nisu drugačije specificirani |
N |
05 07 |
otpadi od prečišćavanja prirodnog gasa i transporta |
|
05 07 01* |
otpadi koji sadrže živu |
O7 |
05 07 02 |
otpadi koji sadrže sumpor |
N |
05 07 99 |
otpadi koji nisu drugačije specificirani |
N |
6 |
OTPADI OD NEORGANSKIH HEMIJSKIH PROCESA |
|
06 01 |
otpadi od proizvodnje, formulacije, snabdevanja i upotrebe kiselina |
|
06 01 01* |
sumporna i sumporasta kiselina |
O8 |
06 01 02* |
hlorovodonična kiselina |
O8 |
06 01 03* |
fluorovodonična kiselina |
O8 |
06 01 04* |
fosforna i fosforasta kiselina |
O8 |
06 01 05* |
azotna i azotasta kiselina |
O8 |
06 01 06* |
ostale kiseline |
O8 |
06 01 99 |
otpadi koji nisu drugačije specificirani |
N |
06 02 |
otpadi od proizvodnje, formulacije, snabdevanja i upotrebe baza |
|
06 02 01* |
kalcijum hidroksid |
O9 |
06 02 03* |
amonijum hidroksid |
O10 |
06 02 04* |
natrijum hidroksid i kalijum hidroksid |
O10 |
06 02 05* |
ostale baze |
O10 |
06 02 99 |
otpadi koji nisu drugačije specificirani |
N |
06 03 |
otpadi od proizvodnje, formulacije, snabdevanja i upotrebe soli i rastvora soli i oksida metala |
|
06 03 11* |
čvrste soli i rastvori koji sadrže cijanide |
V11 |
06 03 13* |
čvrste soli i rastvori koji sadrže teške metale |
V11 |
06 03 14 |
čvrste soli i rastvori drugačiji od onih navedenih u 06 03 11 i 06 03 13 |
V11 |
06 03 15* |
oksidi metala koji sadrže teške metale |
V12 |
06 03 16 |
oksidi metala drugačiji od onih navedenih u 06 03 15 |
V12 |
06 03 99 |
otpadi koji nisu drugačije specificirani |
N |
06 04 |
otpadi koji sadrže metale koji nisu navedeni u 06 03 |
|
06 04 03* |
otpadi koji sadrže arsen |
O11 |
06 04 04* |
otpadi koji sadrže živu |
O11 |
06 04 05* |
otpadi koji sadrže ostale teške metale |
O12 |
06 04 99 |
otpadi koji nisu drugačije specificirani |
N |
06 05 |
muljevi od tretmana otpadnih voda na mestu nastajanja |
|
06 05 02* |
muljevi od tretmana otpadnih voda na mestu nastajanja koji sadrže opasne supstance |
V13 |
06 05 03 |
muljevi od tretmana otpadnih voda na mestu nastajanja drugačiji od onih navedenih u 06 05 02 |
V13 |
06 06 |
otpadi od proizvodnje, formulacije, snabdevanja i upotrebe hemikalija koje sadrže sumpor, hemijskih procesa sa sumporom i procesa odsumporavanja |
|
06 06 02* |
otpadi koji sadrže opasne sulfide |
V14 |
06 06 03 |
otpadi koji sadrže sulfide drugačije od onih navedenih u 06 06 02 |
V14 |
06 06 99 |
otpadi koji nisu drugačije specificirani |
N |
06 07 |
otpadi od proizvodnje, formulacije, snabdevanja i upotrebe halogena i hemijskih procesa sa halogenima |
|
06 07 01* |
otpadi koji sadrže azbest od elektrolize |
O13 |
06 07 02* |
aktivni ugalj od proizvodnje hlora |
O14 |
06 07 03* |
mulj barijum sulfata koji sadrži živu |
O15 |
06 07 04* |
rastvori i kiseline, na primer kiseline iz kontaktnog procesa |
O14 |
06 07 99 |
otpadi koji nisu drugačije specificirani |
N |
06 08 |
otpadi od proizvodnje, formulacije, snabdevanja i upotrebe silicijuma i derivata silicijuma |
|
06 08 02* |
otpadi od opasnih materija koje sadrže silicijum |
V15 |
06 08 99 |
otpadi koji nisu drugačije specificirani |
V15 |
06 09 |
otpadi od proizvodnje, formulacije, snabdevanja i upotrebe hemikalija koje sadrže fosfor i hemijskih procesa sa primenom fosfora |
|
06 09 02 |
fosforna šljaka |
N |
06 09 03* |
otpadi od reakcija sa kalcijumom koji sadrže ili su kontaminirani opasnim supstancama |
V16 |
06 09 04 |
otpadi od reakcija sa kalcijumom drugačiji od onih navedenih u 06 09 03 |
V16 |
06 09 99 |
otpadi koji nisu drugačije specificirani |
N |
06 10 |
otpadi od proizvodnje, formulacije, snabdevanja i upotrebe hemikalija koje sadrže azot, hemijskih procesa sa azotom i proizvodnje đubriva |
|
06 10 02* |
otpadi koji sadrže opasne supstance |
V17 |
06 10 99 |
otpadi koji nisu drugačije specificirani |
V17 |
06 11 |
otpadi od proizvodnje neorganskih pigmenata i neprozirnih materija |
|
06 11 01 |
otpadi od reakcija sa kalcijumom iz proizvodnje titan-dioksida |
N |
06 11 99 |
otpadi koji nisu drugačije specificirani |
N |
06 13 |
otpadi od neorganskih hemijskih procesa koji nisu drugačije specificirani |
|
06 13 01* |
neorganski pesticidi, sredstva za zaštitu drveta i drugi biocidi |
O16 |
06 13 02* |
potrošeni aktivni ugalj (osim 06 07 02) |
O17 |
06 13 03 |
ugljena čađ |
N |
06 13 04* |
otpadi od obrade azbesta |
O18 |
06 13 05* |
čađ |
O19 |
06 13 99 |
otpadi koji nisu drugačije specificirani |
N |
7 |
OTPADI OD ORGANSKIH HEMIJSKIH PROCESA |
|
07 01 |
otpadi od proizvodnje, formulacije, snabdevanja i upotrebe osnovnih organskih hemikalija |
|
07 01 01* |
tečnosti za pranje na bazi vode i matične tečnosti |
O17 |
07 01 03* |
organski halogenovani rastvarači, tečnosti za pranje i matične tečnosti |
O17 |
07 01 04* |
ostali organski rastvarači, tečnosti za pranje i matične tečnosti |
O17 |
07 01 07* |
halogenovani talozi i ostaci od reakcija |
O17 |
07 01 08* |
ostali talozi i ostaci od reakcija |
O17 |
07 01 09* |
halogenovani filter - kolači (pogače), potrošeni apsorbenti |
O17 |
07 01 10* |
ostali filter - kolači (pogače), potrošeni apsorbenti |
O17 |
07 01 11* |
muljevi od tretmana otpadnih voda na mestu nastajanja koji sadrže opasne supstance |
V18 |
07 01 12 |
muljevi od tretmana otpadnih voda na mestu nastajanja drugačiji od onih navedenih u 07 01 11 |
V18 |
07 01 99 |
otpadi koji nisu drugačije specificirani |
N |
07 02 |
otpadi od proizvodnje, formulacije, snabdevanja i upotrebe plastike, sintetičke gume i sintetičkih vlakana |
|
07 02 01* |
tečnosti za pranje na bazi vode i matične tečnosti |
O17 |
07 02 03* |
organski halogenovani rastvarači, tečnosti za pranje i matične tečnosti |
O17 |
07 02 04* |
ostali organski rastvarači, tečnosti za pranje i matične tečnosti |
O17 |
07 02 07* |
halogenovani talozi i ostaci od reakcija |
O17 |
07 02 08* |
ostali talozi i ostaci od reakcija |
O17 |
07 02 09* |
halogenovani filter - kolači (pogače), potrošeni apsorbenti |
O17 |
07 02 10* |
ostali filter - kolači (pogače), potrošeni apsorbenti |
O17 |
07 02 11* |
muljevi od tretmana otpadnih voda na mestu nastajanja koji sadrže opasne supstance |
V19 |
07 02 12 |
muljevi od tretmana otpadnih voda na mestu nastajanja drugačiji od onih navedenih u 07 02 11 |
V19 |
07 02 13 |
otpadna plastika |
N |
07 02 14* |
otpadi od aditiva koji sadrže opasne supstance |
V20 |
07 02 15 |
otpadi od aditiva drugačiji od onih navedenih u 07 02 14 |
V20 |
07 02 16* |
otpadi od opasnih materija koji sadrže silikone |
V21 |
07 02 17 |
otpadi koji sadrže silikone drugačije od onih navedenih u 07 02 16 |
V21 |
07 02 99 |
otpadi koji nisu drugačije specificirani |
N |
07 03 |
otpadi od proizvodnje, formulacije, snabdevanja i upotrebe organskih i pigmenata (osim 06 11) |
|
07 03 01* |
tečnosti za pranje na bazi vode i matične tečnosti |
O17 |
07 03 03* |
organski halogenovani rastvarači, tečnosti za pranje i matične tečnosti |
O17 |
07 03 04* |
ostali organski rastvarači, tečnosti za pranje i matične tečnosti |
O17 |
07 03 07* |
halogenovani talozi i ostaci od reakcija |
O17 |
07 03 08* |
ostali talozi i ostaci od reakcija |
O17 |
07 03 09* |
halogenovani filter - kolači (pogače), potrošeni apsorbenti |
O17 |
07 03 10* |
ostali filter - kolači (pogače), potrošeni apsorbenti |
O17 |
07 03 11* |
muljevi od tretmana otpadnih voda na mestu nastajanja koji sadrže opasne supstance |
V22 |
07 03 12 |
muljevi od tretmana otpadnih voda na mestu nastajanja drugačiji od onih navedenih u 07 03 11 |
V22 |
07 03 99 |
otpadi koji nisu drugačije specificirani |
N |
07 04 |
otpadi od proizvodnje, formulacije, snabdevanja i upotrebe organskih pesticida (osim 02 01 08 i 02 01 09), sredstava za zaštitu drveta (osim 03 02) i drugih biocida |
|
07 04 01* |
tečnosti za pranje na bazi vode i matične tečnosti |
O17 |
07 04 03* |
organski halogenovani rastvarači, tečnosti za pranje i matične tečnosti |
O17 |
07 04 04* |
ostali organski rastvarači, tečnosti za pranje i matične tečnosti |
O17 |
07 04 07* |
halogenovani talozi i ostaci od reakcija |
O17 |
07 04 08* |
ostali talozi i ostaci od reakcija |
O17 |
07 04 09* |
halogenovani filter - kolači (pogače), potrošeni apsorbenti |
O17 |
07 04 10* |
ostali filter - kolači (pogače), potrošeni apsorbenti |
O17 |
07 04 11* |
muljevi od tretmana otpadnih voda na mestu nastajanja koji sadrže opasne supstance |
V23 |
07 04 12 |
muljevi od tretmana otpadnih voda na mestu nastajanja drugačiji od onih navedenih u 07 04 11 |
V23 |
07 04 13* |
čvrsti otpadi koji sadrže opasne supstance |
V24 |
07 04 99 |
otpadi koji nisu drugačije specificirani |
V24 |
07 05 |
otpadi od proizvodnje, formulacije, snabdevanja i upotrebe farmaceutskih preparata |
|
07 05 01* |
tečnosti za pranje na bazi vode i matične tečnosti |
O17 |
07 05 03* |
organski halogenovani rastvarači, tečnosti za pranje i matične tečnosti |
O17 |
07 05 04* |
ostali organski rastvarači, tečnosti za pranje i matične tečnosti |
O17 |
07 05 07* |
halogenovani talozi i ostaci od reakcija |
O17 |
07 05 08* |
ostali talozi i ostaci od reakcija |
O17 |
07 05 09* |
halogenovani filter - kolači (pogače), potrošeni apsorbenti |
O17 |
07 05 10* |
ostali filter - kolači (pogače), potrošeni apsorbenti |
O17 |
07 05 11* |
muljevi od tretmana otpadnih voda na mestu nastajanja koji sadrže opasne supstance |
V25 |
07 05 12 |
muljevi od tretmana otpadnih voda na mestu nastajanja drugačiji od onih navedenih u 07 05 11 |
V25 |
07 05 13* |
čvrsti otpadi koji sadrže opasne supstance |
V26 |
07 05 14 |
čvrsti otpadi drugačiji od onih navedenih u 07 05 13 |
V26 |
07 05 99 |
otpadi koji nisu drugačije specificirani |
N |
07 06 |
otpadi od proizvodnje, formulacije, snabdevanja i upotrebe masti, masnoća, sapuna, deterdženata, dezinfekcionih i kozmetičkih sredstava |
|
07 06 01* |
tečnosti za pranje na bazi vode i matične tečnosti |
O17 |
07 06 03* |
organski halogenovani rastvarači, tečnosti za pranje i matične tečnosti |
O17 |
07 06 04* |
ostali organski rastvarači, tečnosti za pranje i matične tečnosti |
O17 |
07 06 07* |
halogenovani talozi i ostaci od reakcija |
O17 |
07 06 08* |
ostali talozi i ostaci od reakcija |
O17 |
07 06 09* |
halogenovani filter - kolači (pogače), potrošeni apsorbenti |
O17 |
07 06 10* |
ostali filter - kolači (pogače), potrošeni apsorbenti |
O17 |
07 06 11* |
muljevi od tretmana otpadnih voda na mestu nastajanja koji sadrže opasne supstance |
V27 |
07 06 12 |
muljevi od tretmana otpadnih voda na mestu nastajanja drugačiji od onih navedenih u 07 06 11 |
V27 |
07 06 99 |
otpadi koji nisu drugačije specificirani |
N |
07 07 |
otpadi od proizvodnje, formulacije, snabdevanja i upotrebe finih hemikalija i hemijskih proizvoda koji nisu drugačije specificirani |
|
07 07 01* |
tečnosti za pranje na bazi vode i matične tečnosti |
O17 |
07 07 03* |
organski halogenovani rastvarači, tečnosti za pranje i matične tečnosti |
O17 |
07 07 04* |
ostali organski rastvarači, tečnosti za pranje i matične tečnosti |
O17 |
07 07 07* |
halogenovani talozi i ostaci od reakcija |
O17 |
07 07 08* |
ostali talozi i ostaci od reakcija |
O17 |
07 07 09* |
halogenovani filter - kolači (pogače), potrošeni apsorbenti |
O17 |
07 07 10* |
ostali filter - kolači (pogače), potrošeni apsorbenti |
O17 |
07 07 11* |
muljevi od tretmana otpadnih voda na mestu nastajanja koji sadrže opasne supstance |
V28 |
07 07 12 |
muljevi od tretmana otpadnih voda na mestu nastajanja drugačiji od onih navedenih u 07 07 11 |
V28 |
07 07 99 |
otpadi koji nisu drugačije specificirani |
N |
8 |
Otpadi od proizvodnje, formulacije, snabdevanja i upotrebe premaza (boje, lakovi i staklene glazure), lepkovi, zaptivači i štamparske boje |
|
08 01 |
otpadi od proizvodnje, formulacije, snabdevanja i upotrebe i uklanjanja boja i lakova |
|
08 01 11* |
otpadna boja i lak koji sadrže organske rastvarače ili druge opasne supstance |
V29 |
08 01 12 |
otpadna boja i lak drugačiji od onih navedenih u 08 01 11 |
V29 |
08 01 13* |
muljevi od boje ili laka koji sadrže organske rastvarače ili druge opasne supstance |
V30 |
08 01 14 |
muljevi od boje ili laka drugačiji od onih navedenih u 08 01 13 |
V30 |
08 01 15* |
muljevi na bazi vode koje sadrže boju ili lak na bazi organskih rastvarača ili drugih opasnih supstanci |
V31 |
08 01 16 |
muljevi od boje ili laka drugačiji od onih navedenih u 08 01 15 |
V31 |
08 01 17* |
otpadi od uklanjanja boje ili laka koji sadrže organske rastvarače ili druge opasne supstance |
V32 |
08 01 18 |
otpadi od uklanjanja boje ili laka drugačiji od onih navedenih u 08 01 17 |
V32 |
08 01 19* |
vodene suspenzije koje sadrže boju ili lak na bazi organskih rastvarača ili drugih opasnih supstanci |
V33 |
08 01 20 |
vodene suspenzije koje sadrže boju ili lak drugačiji od onih navedenih u 08 01 19 |
V33 |
08 01 21* |
otpad od tečnosti za uklanjanje boje ili laka |
O20 |
08 01 99 |
otpadi koji nisu drugačije specificirani |
N |
08 02 |
otpadi od proizvodnje, formulacije, snabdevanja i upotrebe ostalih premaza (uključujući keramičke materijale) |
|
08 02 01 |
otpadni praškasti premazi |
N |
08 02 02 |
muljevi na bazi vode koji sadrže keramičke materijale |
N |
08 02 03 |
vodene suspenzije koje sadrže keramičke materijale |
N |
08 02 99 |
otpadi koji nisu drugačije specificirani |
N |
08 03 |
otpadi od proizvodnje, formulacije, snabdevanja i upotrebe štamparskog mastila |
|
08 03 07 |
muljevi na bazi vode koji sadrže mastilo |
N |
08 03 08 |
tečni otpad na bazi vode koji sadrži mastilo |
N |
08 03 12* |
otpadno mastilo koje sadrži opasne supstance |
V34 |
08 03 13 |
otpadno mastilo drugačije od onog navedenog u 08 03 12 |
V34 |
08 03 14* |
muljevi od mastila koje sadrži opasne supstance |
V35 |
08 03 15 |
muljevi od mastila drugačiji od onih navedenih u 08 03 14 |
V35 |
08 03 16* |
otpadni rastvori za ecovanje |
O21 |
08 03 17* |
otpadni toner za štampanje koje sadrži opasne supstance |
V36 |
08 03 18 |
otpadni toner za štampanje drugačiji od onog navedenog u 08 03 17 |
V36 |
08 03 19* |
dispergovana ulja |
O21 |
08 03 99 |
otpadi koji nisu drugačije specificirani |
N |
08 04 |
otpadi od proizvodnje, formulacije, snabdevanja i upotrebe lepkova i zaptivača (uključujući i vodootporne proizvode) |
|
08 04 09* |
otpadni lepkovi i zaptivači koji sadrže organske rastvarače ili druge opasne supstance |
V37 |
08 04 10 |
otpadni lepkovi i zaptivači drugačiji od onih navedenih u 08 04 09 |
V37 |
08 04 11* |
muljevi od lepkova i zaptivača koji sadrže organske rastvarače ili druge opasne supstance |
V38 |
08 04 12 |
muljevi od lepkova i zaptivača drugačiji od onih navedenih u 08 04 11 |
V38 |
08 04 13* |
muljevi na bazi vode koji sadrže lepkove ili zaptivače koji sadrže organske rastvarače ili druge opasne supstance |
V39 |
08 04 14 |
muljevi na bazi vode koji sadrže lepkove ili zaptivače drugačiji od onih navedenih u 08 04 13 |
V39 |
08 04 15* |
tečni otpad na bazi vode koji sadrži lepkove ili zaptivače koji sadrže organske rastvarače ili druge opasne supstance |
V40 |
08 04 16 |
tečni otpad na bazi vode koji sadrži lepkove ili zaptivače drugačiji od onih spomenutih u 08 04 15 |
V40 |
08 04 17* |
ulje od destilacije smola |
O22 |
08 04 99 |
otpadi koji nisu drugačije specificirani |
N |
08 05 |
otpadi koji nisu drugačije specificirani u 08 |
|
08 05 01* |
otpadni izocijanati |
O23 |
9 |
OTPADI IZ FOTOGRAFSKE INDUSTRIJE |
|
09 01 |
otpadi iz fotografske industrije |
|
09 01 01* |
rastvori razvijača i aktivatora na bazi vode |
O24 |
09 01 02* |
rastvori razvijača za offset ploče na bazi vode |
O24 |
09 01 03* |
rastvori razvijača na bazi rastvarača |
O24 |
09 01 04* |
rastvori sredstava za fiksiranje |
O24 |
09 01 05* |
rastvori za izbeljivanje i rastvori sredstava za fiksiranje izbeljenosti |
O24 |
09 01 06* |
otpadi koji sadrže srebro od tretmana fotografskog otpada na mestu nastajanja |
O24 |
09 01 07 |
fotografski film i papir koji sadrži srebro ili jedinjenja srebra |
N |
09 01 08 |
fotografski film i papir koji ne sadrži srebro ili jedinjenja srebra |
N |
09 01 10 |
kamere za jednokratnu upotrebu bez baterija |
N |
09 01 11* |
kamere za jednokratnu upotrebu koje sadrže baterije navedene u 16 06 01, 16 06 02 ili 16 06 03 |
V41 |
09 01 12 |
kamere za jednokratnu upotrebu koje sadrže baterije drugačije od onih navedenih u 09 01 11 |
V41 |
09 01 13* |
tečni otpad na bazi vode od obnavljanja srebra na mestu nastajanja drugačiji od onog navedenog u 09 01 06 |
O24 |
09 01 99 |
otpadi koji nisu drugačije specificirani |
N |
10 |
OTPADI IZ TERMIČKIH PROCESA |
|
10 01 |
otpadi iz energana i drugih postrojenja za sagorevanje (osim 19) |
|
10 01 01 |
pepeo, šljaka i prašina iz kotla (izuzev prašine iz kotla navedene u 10 01 04) |
N |
10 01 02 |
leteći pepeo od uglja |
N |
10 01 03 |
leteći pepeo treseta i sirovog drveta |
N |
10 01 04* |
leteći pepeo od sagorevanja nafte i prašina iz kotla |
O25 |
10 01 05 |
čvrsti otpadi na bazi kalcijuma u procesu odsumporavanja gasa |
V43 |
10 01 07 |
muljevi na bazi kalcijuma u procesu odsumporavanja gasa |
V43 |
10 01 09* |
sumporna kiselina |
O25 |
10 01 13* |
leteći pepeo od emulgovanih ugljovodonika upotrebljenih kao gorivo |
O25 |
10 01 14* |
šljaka i prašina iz kotla iz procesa ko-spaljivanja, koja sadrži opasne supstance |
V42 |
10 01 15 |
šljaka i prašina iz kotla iz procesa ko-spaljivanja drugačiji od onih navedenih u 10 01 14 |
V42 |
10 01 16* |
leteći pepeo iz procesa ko-spaljivanja koji sadrži opasne supstance |
V44 |
10 01 17 |
leteći pepeo iz procesa ko-spaljivanja drugačiji od onog navedenog u 10 01 16 |
V44 |
10 01 18* |
otpadi iz prečišćavanja gasa koji sadrže opasne supstance |
V43 |
10 01 19 |
otpadi iz prečišćavanja gasa drugačiji od onih navedenih u 10 01 05, 10 01 07, 10 01 18 |
V43 |
10 01 20* |
muljevi iz tretmana otpadnih voda na mestu nastajanja koji sadrže opasne supstance |
V45 |
10 01 21 |
muljevi iz tretmana otpadnih voda na mestu nastajanja drugačiji od onih navedenih u 10 01 20 |
V45 |
10 01 22* |
muljevi na bazi vode od čišćenja kotla koji sadrže opasne supstance |
V46 |
10 01 23 |
muljevi na bazi vode od čišćenja kotla drugačiji od onih navedenih u 10 01 22 |
N |
10 01 24 |
peskovi iz fluidizovanog sloja |
N |
10 01 25 |
otpadi od skladištenja goriva i pripreme energana koji koriste ugalj |
N |
10 01 26 |
otpadi iz tretmana rashladne vode |
N |
10 01 99 |
otpadi koji nisu drugačije specificirani |
N |
10 02 |
otpadi iz industrije gvožđa i čelika |
|
10 02 01 |
otpadi od prerade šljake |
N |
10 02 02 |
neprerađena šljaka |
N |
10 02 07* |
čvrsti otpadi iz procesa tretmana gasa koji sadrže opasne supstance |
V47 |
10 02 08 |
čvrsti otpadi iz procesa tretmana gasa drugačiji od onih navedenih u 10 02 07 |
V47 |
10 02 10 |
otpad od mlevenja |
N |
10 02 11* |
zauljeni otpadi iz tretmana rashladne vode |
V48 |
10 02 12 |
otpadi iz tretmana rashladne vode drugačiji od onih navedenih u 10 02 11 |
V48 |
10 02 13* |
muljevi i filter - kolači (pogače) iz procesa tretmana gasa koji sadrže opasne supstance |
V49 |
10 02 14 |
muljevi i filter - kolači (pogače) iz procesa tretmana gasa drugačiji od onih spomenutih u 10 02 13 |
V49 |
10 02 15 |
drugi muljevi i filter - kolači (pogače) |
N |
10 02 99 |
otpadi koji nisu drugačije specificirani |
N |
10 03 |
otpadi iz termičke metalurgije aluminijuma |
|
10 03 02 |
ostaci anoda |
N |
10 03 04* |
šljake iz primarne proizvodnje |
O26 |
10 03 05 |
otpadna glinica |
N |
10 03 08* |
slane šljake iz sekundarne proizvodnje |
O26 |
10 03 09* |
crna zgura iz sekundarne proizvodnje |
O26 |
10 03 15* |
plivajuća pena/šljaka koja je zapaljiva ili koja u dodiru sa vodom emituje zapaljive gasove u opasnim količinama |
V50 |
10 03 16 |
plivajuća pena/šljaka drugačiji od onih navedenih u 10 03 15 |
V50 |
10 03 17* |
otpadi koji sadrže katran iz anodnog procesa |
V51 |
10 03 18 |
otpadi koji sadrže ugljenik iz anodnog procesa drugačiji od onih navedenih u 10 03 17 |
V51 |
10 03 19* |
prašina dimnog gasa koja sadrži opasne supstance |
V52 |
10 03 20 |
prašina dimnog gasa drugačija od one navedene u 10 03 19 |
V52 |
10 03 21* |
ostale čvrste čestice i prašina (uključujući prašinu iz mlina sa kuglama) koji sadrže opasne supstance |
V53 |
10 03 22 |
ostale čvrste čestice i prašina (uključujući prašinu iz mlina sa kuglama) drugačiji od onih navedenih u 10 03 21 |
V53 |
10 03 23* |
čvrsti otpadi iz tretmana gasa koji sadrže opasne supstance |
V54 |
10 03 24 |
čvrsti otpadi iz tretmana gasa drugačiji od onih navedenih u 10 03 23 |
V54 |
10 03 25* |
muljevi i filter - kolači (pogače) od tretmana gasa koji sadrže opasne supstance |
V55 |
10 03 26 |
muljevi i filter - kolači (pogače) od tretmana gasa drugačiji od onih navedenih u 10 03 25 |
V55 |
10 03 27* |
zauljeni otpadi iz tretmana rashladne vode |
V56 |
10 03 28 |
otpadi iz tretmana rashladne vode drugačiji od onih navedenih u 10 03 27 |
V56 |
10 03 29* |
otpadi od tretmana slanih šljaka i crne zgure koji sadrže opasne supstance |
V57 |
10 03 30 |
otpadi od tretmana slanih šljaka i crne zgure drugačiji od onih navedenih u 10 03 29 |
V57 |
10 03 99 |
otpadi koji nisu drugačije specificirani |
N |
10 04 |
otpadi iz termičke metalurgije olova |
|
10 04 01* |
šljake iz primarne i sekundarne proizvodnje |
O27 |
10 04 02* |
zgura i plivajuća pena/šljaka iz primarne i sekundarne proizvodnje |
O27 |
10 04 03* |
kalcijum arsenat |
O27 |
10 04 04* |
prašina dimnog gasa |
O27 |
10 04 05* |
ostale čvrste čestice i prašina |
O27 |
10 04 06* |
čvrsti otpadi iz tretmana gasa |
O27 |
10 04 07* |
muljevi i filter - kolači (pogače) iz tretmana gasa |
O27 |
10 04 09* |
zauljeni otpadi iz tretmana rashladne vode |
V58 |
10 04 10 |
otpadi iz tretmana rashladne vode drugačiji od onih navedenih u 10 04 09 |
V58 |
10 04 99 |
otpadi koji nisu drugačije specificirani |
N |
10 05 |
otpadi iz termičke metalurgije cinka |
|
10 05 01 |
šljake iz primarne i sekundarne proizvodnje |
N |
10 05 03* |
prašina dimnog gasa |
O28 |
10 05 04 |
ostale čvrste čestice i prašina |
N |
10 05 05* |
čvrsti otpad iz tretmana gasa |
O28 |
10 05 06* |
muljevi i filter - kolači (pogače) iz tretmana gasa |
O28 |
10 05 08* |
zauljeni otpadi iz tretmana rashladne vode |
V59 |
10 05 09 |
otpadi iz tretmana rashladne vode drugačiji od onih navedenih u 10 05 08 |
V59 |
10 05 10* |
zgura i plivajuća pena/šljaka koja je zapaljiva ili koja u dodiru sa vodom emituje zapaljive gasove u opasnim količinama |
V60 |
10 05 11 |
zgura i plivajuća pena/šljaka drugačiji od onih navedenih u 10 05 10 |
V60 |
10 05 99 |
otpadi koji nisu drugačije specificirani |
N |
10 06 |
otpad iz termičke metalurgije bakra |
|
10 06 01 |
šljake iz primarne i sekundarne proizvodnje |
N |
10 06 02 |
zgura i plivajuća pena/šljaka iz primarne i sekundarne proizvodnje |
N |
10 06 03* |
prašina dimnog gasa |
O28 |
10 06 04 |
ostale čvrste čestice i prašina |
N |
10 06 06* |
čvrsti otpadi iz tretmana gasa |
O28 |
10 06 07* |
muljevi i filter - kolači (pogače) iz tretmana gasa |
O28 |
10 06 09* |
zauljeni otpadi iz tretmana rashladne vode |
V61 |
10 06 10 |
otpadi iz tretmana rashladne vode drugačiji od onih navedenih u 10 06 09 |
V61 |
10 06 99 |
otpadi koji nisu drugačije specificirani |
N |
10 07 |
otpadi iz termičke metalurgije srebra, zlata i platine |
|
10 07 01 |
šljake iz primarne i sekundarne proizvodnje |
N |
10 07 02 |
zgura i plivajuća pena/šljaka iz primarne i sekundarne proizvodnje |
N |
10 07 03 |
čvrsti otpadi iz tretmana gasa |
N |
10 07 04 |
ostale čvrste čestice i prašina |
N |
10 07 05 |
muljevi i filter - kolači (pogače) iz tretmana gasa |
N |
10 07 07* |
zauljeni otpadi iz tretmana rashladne vode |
V62 |
10 07 08 |
otpadi iz tretmana rashladne vode drugačiji od onih navedenih u 10 07 07 |
V62 |
10 07 99 |
otpadi koji nisu drugačije specificirani |
N |
10 08 |
otpadi iz termičke metalurgije ostalih obojenih metala |
|
10 08 04 |
čvrste čestice i prašina |
N |
10 08 08* |
slana šljaka iz primarne i sekundarne proizvodnje |
O29 |
10 08 09 |
ostale šljake |
N |
10 08 10* |
zgura i plivajuća pena/šljaka koja je zapaljiva ili koja u dodiru sa vodom emituje zapaljive gasove u opasnim količinama |
V63 |
10 08 11 |
zgura i plivajuća pena/šljaka drugačiji od onih navedenih u 10 08 10 |
V63 |
10 08 12* |
otpadi koji sadrže katran iz anodnog procesa |
V64 |
10 08 13 |
otpadi koji sadrže ugljenik iz anodnog procesa drugačiji od onih navedenih u 10 08 12 |
N |
10 08 14 |
strugotine sa anode |
V65 |
10 08 15* |
prašina dimnog gasa koja sadrži opasne supstance |
V65 |
10 08 16 |
prašina dimnog gasa drugačija od one navedene u 10 08 15 |
V66 |
10 08 17* |
muljevi i filter - kolači (pogače) iz tretmana dimnog gasa koji sadrže opasne supstance |
V66 |
10 08 18 |
muljevi i filter - kolači (pogače) iz tretmana dimnog gasa drugačiji od onih navedenih u 10 08 17 |
V66 |
10 08 19* |
zauljeni otpadi iz tretmana rashladne vode |
V67 |
10 08 20 |
otpadi iz tretmana rashladne vode drugačiji od onih navedenih u 10 08 19 |
V67 |
10 08 99 |
otpadi koji nisu drugačije specificirani |
N |
10 09 |
otpadi od livenja gvozdenih odlivaka |
|
10 09 03 |
šljaka iz peći |
N |
10 09 05* |
jezgra i kalupi za livenje koji nisu prošli proces izlivanja i koji sadrže opasne supstance |
V68 |
10 09 06 |
jezgra i kalupi za livenje koji nisu prošli proces izlivanja drugačiji od onih navedenih u 10 09 05 |
V68 |
10 09 07* |
jezgra i kalupi za livenje koji su prošli proces izlivanja i koji sadrže opasne supstance |
V69 |
10 09 08 |
jezgra i kalupi za livenje koji su prošli proces izlivanja drugačiji od onih navedenih u 10 09 07 |
V69 |
10 09 09* |
prašina dimnog gasa koja sadrži opasne supstance |
V70 |
10 09 10 |
prašina dimnog gasa drugačija od one navedene u 10 09 09 |
V70 |
10 09 11* |
ostale čvrste čestice koje sadrže opasne supstance |
V71 |
10 09 12 |
ostale čvrste čestice drugačije od onih navedenih u 10 09 11 |
V72 |
10 09 13* |
otpadna veziva koja sadrže opasne supstance |
V72 |
10 09 14 |
otpadna veziva drugačija od onih navedenih u 10 09 13 |
V72 |
10 09 15* |
otpadni indikator pukotina koji sadrži opasne supstance |
V73 |
10 09 16 |
otpadni indikator pukotina drugačiji od onog navedenog u 10 09 15 |
V73 |
10 09 99 |
otpadi koji nisu drugačije specificirani |
N |
10 10 |
otpadi od livenja odlivaka obojenih metala |
|
10 10 03 |
šljaka iz peći |
N |
10 10 05* |
jezgra i kalupi za livenje koji nisu prošli proces izlivanja i koji sadrže opasne supstance |
V74 |
10 10 06 |
jezgra i kalupi za livenje koji nisu prošli proces izlivanja drugačiji od onih navedenih u 10 10 05 |
V74 |
10 10 07* |
jezgra i kalupi za livenje koji su prošli proces izlivanja i koji sadrže opasne supstance |
V75 |
10 10 08 |
jezgra i kalupi za livenje koji su prošli proces izlivanja drugačiji od onih navedenih u 10 10 07 |
V75 |
10 10 09* |
prašina dimnog gasa koja sadrži opasne supstance |
V76 |
10 10 10 |
prašina dimnog gasa drugačija od one navedene u 10 10 09 |
V76 |
10 10 11* |
ostale čvrste čestice koje sadrže opasne supstance |
V77 |
10 10 12 |
ostale čvrste čestice drugačije od onih navedenih u 10 10 11 |
V77 |
10 10 13* |
otpadna veziva koja sadrže opasne supstance |
V78 |
10 10 14 |
otpadna veziva drugačija od onih navedenih u 10 10 13 |
V79 |
10 10 15* |
otpadni indikator pukotina koji sadrži opasne supstance |
V79 |
10 10 16 |
otpadni indikator pukotina drugačiji od onog navedenog u 10 10 15 |
V79 |
10 10 99 |
otpadi koji nisu drugačije specificirani |
N |
10 11 |
otpadi iz proizvodnje stakla i proizvoda od stakla |
|
10 11 03 |
otpadni vlaknasti materijali na bazi stakla |
N |
10 11 05 |
čvrste čestice i prašina |
N |
10 11 09* |
otpadna pripremna mešavina koja se koristi pre termičkog tretmana koja sadrži opasne supstance |
V80 |
10 11 10 |
otpadna pripremna mešavina koja se koristi pre termičkog tretmana drugačija od one navedene u 10 11 09 |
V81 |
10 11 11* |
otpadno staklo u malim komadima i staklena prašina koji sadrže teške metale (na primer od katodnih cevi) |
V81 |
10 11 12 |
otpadno staklo drugačije od onog navedenog u 10 11 11 |
V81 |
10 11 13* |
mulj od poliranja i mlevenja stakla koji sadrži opasne supstance |
V82 |
10 11 14 |
mulj od poliranja i mlevenja stakla drugačiji od onog navedenog u 10 11 13 |
V82 |
10 11 15* |
čvrsti otpadi iz tretmana dimnog gasa koji sadrže opasne supstance |
V83 |
10 11 16 |
čvrsti otpadi iz tretmana dimnog gasa drugačiji od onih navedenih u 10 11 15 |
V83 |
10 11 17* |
muljevi i filter - kolači (pogače) iz tretmana dimnog gasa koji sadrže opasne supstance |
V84 |
10 11 18 |
muljevi i filter - kolači (pogače) iz tretmana dimnog gasa drugačiji od onih navedenih u 10 11 17 |
V84 |
10 11 19* |
čvrsti otpadi od tretmana otpadnih voda na mestu nastajanja koji sadrže opasne supstance |
V85 |
10 11 20 |
čvrsti otpadi od tretmana otpadnih voda na mestu nastajanja drugačiji od onih navedenih u 10 11 19 |
V85 |
10 11 99 |
otpadi koji nisu drugačije specificirani |
N |
10 12 |
otpadi iz proizvodnje keramičkih proizvoda, cigli, pločica i proizvoda za građevinarstvo |
|
10 12 01 |
otpadna pripremna mešavina pre termičkog tretmana |
N |
10 12 03 |
čvrste čestice i prašina |
N |
10 12 05 |
muljevi i filter - kolači (pogače) iz tretmana gasa |
N |
10 12 06 |
odbačeni kalupi |
N |
10 12 08 |
otpadna keramika, cigle, pločice i proizvodi za građevinarstvo (posle termičkog tretmana) |
N |
10 12 09* |
čvrsti otpadi iz tretmana gasa koji sadrže opasne supstance |
V86 |
10 12 10 |
čvrsti otpadi iz tretmana gasa drugačiji od onih navedenih u 10 12 09 |
V86 |
10 12 11* |
otpadi iz procesa glaziranja koji sadrže teške metale |
V87 |
10 12 12 |
otpadi iz procesa glaziranja drugačiji od onih navedenih u 10 12 11 |
V87 |
10 12 13 |
mulj iz tretmana otpadne vode na mestu nastajanja |
N |
10 12 99 |
otpadi koji nisu drugačije specificirani |
N |
10 13 |
otpadi iz proizvodnje cementa, kreča i gipsa i predmeta i proizvoda koji se od njih proizvode |
|
10 13 01 |
otpadna pripremna mešavina pre termičkog tretmana |
N |
10 13 04 |
otpadi od kalcinacije i hidratacije kreča |
N |
10 13 06 |
čvrste čestice i prašina (izuzev 10 13 12 i 10 13 13) |
N |
10 13 07 |
muljevi i filter - kolači (pogače) iz tretmana gasa |
N |
10 13 09* |
otpadi iz proizvodnje azbest cementa koji sadrže azbest |
V88 |
10 13 10 |
otpadi iz proizvodnje azbest cementa drugačiji od onih navedenih u 10 13 09 |
V88 |
10 13 11 |
otpadi iz kompozitnih materijala na bazi cementa drugačiji od onih navedenih u 10 13 09 i 10 13 10 |
V88 |
10 13 12* |
čvrsti otpadi iz tretmana gasa koji sadrže opasne supstance |
V89 |
10 13 13 |
čvrsti otpadi iz tretmana gasa drugačiji od onih navedenih u 10 13 12 |
V89 |
10 13 14 |
otpadni beton i mulj od betona |
N |
10 13 99 |
otpadi koji nisu drugačije specificirani |
N |
10 14 |
otpad iz krematorijuma |
|
10 14 01* |
otpad iz prečišćavanja gasa koji sadrži živu |
O30 |
11 |
Otpadi od hemijskog tretmana površine i zaštite metala i drugih materijala; hidrometalurgija obojenih metala |
|
11 01 |
otpadi od hemijskog tretmana površine i zaštite metala i drugih materijala (npr. procesi galvanizacije, oblaganje cinkom, čišćenje kiselinom, radiranje, fosfatiranje, odmašćivanje bazama i anodizacija) |
|
11 01 05* |
kiseline za čišćenje |
O31 |
11 01 06* |
kiseline koje nisu drugačije specificirane |
O31 |
11 01 07* |
baze za čišćenje |
O31 |
11 01 08* |
muljevi od fosfatiranja |
O31 |
11 01 09* |
muljevi i filter - kolači (pogače) koji sadrže opasne supstance |
V90 |
11 01 10 |
muljevi i filter - kolači (pogače) drugačiji od onih navedenih u 11 01 09 |
V90 |
11 01 11* |
tečnosti za ispiranje na bazi vode koje sadrže opasne supstance |
V91 |
11 01 12 |
tečnosti za ispiranje na bazi vode drugačije od onih navedenih u 11 01 11 |
V91 |
11 01 13* |
otpadi od odmašćivanja koji sadrže opasne supstance |
V92 |
11 01 14 |
otpadi od odmašćivanja drugačiji od onih navedenih u 11 01 13 |
V92 |
11 01 15* |
eluati i muljevi iz membranskih ili jonoizmenjivačkih sistema koji sadrže opasne supstance |
O32 |
11 01 16* |
zasićene ili potrošene jonoizmenjivačke smole |
O33 |
11 01 98* |
ostali otpadi koji sadrže opasne supstance |
O34 |
11 01 99 |
otpadi koji nisu drugačije specificirani |
N |
11 02 |
otpadi iz hidrometalurških procesa obojenih metala |
|
11 02 02* |
muljevi iz hidrometalurgije cinka (uključujući jarosit i getit) |
O35 |
11 02 03 |
otpadi iz proizvodnje anoda za elektrolitičke procese u vodenoj sredini |
N |
11 02 05* |
otpadi iz hidrometalurških procesa bakra koji sadrže opasne supstance |
V93 |
11 02 06 |
otpadi iz hidrometalurških procesa bakra drugačiji od onih navedenih u 11 02 05 |
V93 |
11 02 07* |
ostali otpadi koji sadrže opasne supstance |
O36 |
11 02 99 |
otpadi koji nisu drugačije specificirani |
N |
11 03 |
muljevi i čvrsti otpadi iz procesa kaljenja |
|
11 03 01* |
otpadi koji sadrže cijanide |
O37 |
11 03 02* |
ostali otpadi |
O37 |
11 05 |
otpadi iz procesa vrele galvanizacije |
|
11 05 01 |
tvrdi cink |
N |
11 05 02 |
pepeo od cinka |
N |
11 05 03* |
čvrsti otpadi iz tretmana gasa |
O38 |
11 05 04* |
potrošena tečnost |
O38 |
11 05 99 |
otpadi koji nisu drugačije specificirani |
N |
12 |
Otpadi od oblikovanja i fizičke i mehaničke površinske obrade metala i plastike |
|
12 01 |
otpadi od oblikovanja i fizičke i mehaničke površinske obrade metala i plastike |
|
12 01 01 |
struganje i obrada ferometala |
N |
12 01 02 |
prašina i čestice ferometala |
N |
12 01 03 |
struganje i obrada obojenih metala |
N |
12 01 04 |
prašina i čestice obojenih metala |
N |
12 01 05 |
obrada plastike |
N |
12 01 06* |
mineralna mašinska ulja koja sadrže halogene (izuzev emulzija i rastvora) |
O39 |
12 01 07* |
mineralna mašinska ulja koja ne sadrže halogene (izuzev emulzija i rastvora) |
O39 |
12 01 08* |
mašinske emulzije i rastvori koje sadrže halogene |
O39 |
12 01 09* |
mašinske emulzije i rastvori koje ne sadrže halogene |
O39 |
12 01 10* |
sintetička mašinska ulja |
O39 |
12 01 12* |
potrošeni vosak i masti |
O39 |
12 01 13 |
otpadi od zavarivanja |
N |
12 01 14* |
mašinski muljevi koji sadrže opasne supstance |
V94 |
12 01 15 |
mašinski muljevi drugačiji od onih navedenih u 12 01 14 |
V94 |
12 01 16* |
otpad od peskarenja koji sadrži opasne supstance1 |
V95 |
12 01 17 |
otpad od peskarenja drugačiji od onog navedenog u 12 01 161 |
V95 |
12 01 18* |
metalni muljevi (od mlevenja, brušenja i oštrenja) koji sadrži ulje |
O40 |
12 01 19* |
odmah biorazgradivo mašinsko ulje |
O39 |
12 01 20* |
potrošena tela za mlevenje i materijali za mlevenje koji sadrže opasne supstance |
V96 |
12 01 21 |
potrošena tela za mlevenje i materijali za mlevenje drugačiji od onih navedenih u 12 01 20 |
V96 |
12 01 99 |
otpadi koji nisu drugačije specificirani |
N |
12 03 |
otpadi iz procesa odmašćivanja vodom i parom (izuzev 11) |
|
12 03 01* |
tečnosti za pranje na bazi vode |
O41 |
12 03 02* |
otpadi od odmašćivanja parom |
O41 |
13 |
Otpadi od ulja i ostataka tečnih goriva (osim jestivih ulja i onih u poglavljima 05, 12 i 19) |
|
13 01 |
otpadna hidraulična ulja |
|
13 01 01* |
hidraulična ulja koja sadrže PCB |
O42 |
13 01 04* |
hlorovane emulzije |
O42 |
13 01 05* |
nehlorovane emulzije |
O42 |
13 01 09* |
mineralna hlorovana hidraulična ulja |
O42 |
13 01 10* |
mineralna nehlorovana hidraulična ulja |
O42 |
13 01 11* |
sintetička hidraulična ulja |
O42 |
13 01 12* |
odmah biorazgradiva hidraulična ulja |
O42 |
13 01 13* |
ostala hidraulična ulja |
O42 |
13 02 |
otpadna motorna ulja, ulja za menjače i podmazivanje |
|
13 02 04* |
mineralna hlorovana motorna ulja, ulja za menjače i podmazivanje |
O41 |
13 02 05* |
mineralna nehlorovana motorna ulja, ulja za menjače i podmazivanje |
O41 |
13 02 06* |
sintetička motorna ulja, ulja za menjače i podmazivanje |
O41 |
13 02 07* |
odmah biorazgradiva motorna ulja, ulja za menjače i podmazivanje |
O41 |
13 02 08* |
ostala motorna ulja, ulja za menjače i podmazivanje |
O41 |
13 03 |
otpadna ulja za izolaciju i prenos toplote |
|
13 03 01* |
ulja za izolaciju i prenos toplote koja sadrže PCB |
O42 |
13 03 06* |
mineralna hlorovana ulja za izolaciju i prenos toplote |
O42 |
13 03 07* |
mineralna nehlorovana ulja za izolaciju i prenos toplote |
O42 |
13 03 08* |
sintetička ulja za izolaciju i prenos toplote |
O42 |
13 03 09* |
odmah biorazgradiva ulja za izolaciju i prenos toplote |
O42 |
13 03 10* |
ostala ulja za izolaciju i prenos toplote |
O42 |
13 04 |
brodska ulja |
|
13 04 01* |
ulja sa dna brodova iz rečne plovidbe |
O41 |
13 04 02* |
ulja sa dna brodova iz kanalizacije na pristaništu |
O41 |
13 04 03* |
ulja sa dna brodova iz ostale vrste plovidbe |
O41 |
13 05 |
sadržaj separatora ulje/voda |
|
13 05 01* |
čvrste materije iz peskolova i separatora ulje/voda |
O41 |
13 05 02* |
muljevi iz separatora ulje/voda |
O41 |
13 05 03* |
muljevi od hvatača ulja |
O41 |
13 05 06* |
ulja iz separatora ulje/voda |
O41 |
13 05 07* |
zauljena voda iz separatora ulje/voda |
O41 |
13 05 08* |
mešavine otpada iz komore za otpad i separatora ulje/voda |
O41 |
13 07 |
otpadi od tečnih goriva |
|
13 07 01* |
pogonsko gorivo i dizel |
O41 |
13 07 02* |
benzin |
O41 |
13 07 03* |
ostala goriva (uključujući mešavine) |
O41 |
13 08 |
otpadna ulja koja nisu drugačije specificirana |
|
13 08 01* |
muljevi ili emulzije od desalinacije |
O41 |
13 08 02* |
ostale emulzije |
O41 |
13 08 99* |
otpadi koji nisu drugačije specificirani |
O41 |
14 |
Otpadni organski rastvarači, sredstva za hlađenje i potisni gasovi (osim 07 i 08) |
|
14 06 |
otpadni organski rastvarači, sredstva za hlađenje i potisni gasovi na bazi pene/aerosola |
|
14 06 01* |
hlorofluorougljovodonici, HCFC, HFC |
O43 |
14 06 02* |
ostali halogenovani rastvarači i smeše rastvarača |
O43 |
14 06 03* |
ostali rastvarači i smeše rastvarača |
O43 |
14 06 04* |
muljevi ili čvrsti otpadi koje sadrže halogenovane rastvarače |
O43 |
14 06 05* |
muljevi ili čvrsti otpadi koje sadrže ostale rastvarače |
O43 |
15 |
otpad od ambalaže, apsorbenti, krpe za brisanje, filterski materijali i zaštitne tkanine, ako nije drugačije specificirano |
|
15 01 |
ambalaža (uključujući posebno sakupljenu ambalažu u komunalnom otpadu) |
|
15 01 01 |
papirna i kartonska ambalaža |
V97 |
15 01 02 |
plastična ambalaža |
V97 |
15 01 03 |
drvena ambalaža |
V97 |
15 01 04 |
metalna ambalaža |
V97 |
15 01 05 |
kompozitna ambalaža |
V97 |
15 01 06 |
mešana ambalaža |
V97 |
15 01 07 |
staklena ambalaža |
V97 |
15 01 09 |
tekstilna ambalaža |
V97 |
15 01 10* |
ambalaža koja sadrži ostatke opasnih supstanci ili je kontaminirana opasnim supstancama |
V97 |
15 01 11* |
metalna ambalaža koja sadrži opasan čvrst porozni matriks (npr. azbest), uključujući i prazne boce pod pritiskom |
O17 |
15 02 |
apsorbenti, filterski materijali, krpe za brisanje i zaštitna odeća |
|
15 02 02* |
apsorbenti, filterski materijali (uključujući filtere za ulje koji nisu drugačije specificirani), krpe za brisanje, zaštitna odeća, koji su kontaminirani opasnim supstancama |
V98 |
15 02 03 |
apsorbenti, filterski materijali, krpe za brisanje i zaštitna odeća drugačiji od onih navedenih u 15 02 02 |
V98 |
16 |
Otpadi koji nisu drugačije specificirani u katalogu |
|
16 01 |
otpadna vozila iz različitih vidova transporta (uključujući mehanizaciju) i otpadi nastali demontažom otpadnih vozila i od održavanja vozila (izuzev 13, 14, 16 06 i 16 08) |
|
16 01 03 |
otpadne gume |
N |
16 01 04* |
otpadna vozila |
V99 |
16 01 06 |
otpadna vozila koja ne sadrže ni tečnosti ni druge opasne komponente |
V99 |
16 01 07* |
filteri za ulje |
O41 |
16 01 08* |
komponente koje sadrže živu |
O17 |
16 01 09* |
komponente koje sadrže PCB |
O17 |
16 01 10* |
eksplozivne komponente (npr. vazdušni jastuci) |
O17 |
16 01 11* |
kočione obloge koje sadrže azbest |
V100 |
16 01 12 |
kočione obloge drugačije od onih navedenih u 16 01 11 |
V100 |
16 01 13* |
kočione tečnosti |
O41 |
16 01 14* |
antifriz koji sadrži opasne supstance |
V101 |
16 01 15 |
antifriz drugačiji od onog navedenog u 16 01 14 |
V101 |
16 01 16 |
rezervoari za tečni gas |
N |
16 01 17 |
ferozni metal |
N |
16 01 18 |
obojeni metal |
N |
16 01 19 |
plastika |
N |
16 01 20 |
staklo |
N |
16 01 21* |
opasne komponente drugačije od onih navedenih u 16 01 07 do 16 01 11 i 16 01 13 i 16 01 14 |
O17 |
16 01 22 |
komponente koje nisu drugačije specificirane |
N |
16 01 99 |
otpadi koji nisu drugačije specificirani |
N |
16 02 |
otpadi od električne i elektronske opreme |
|
16 02 09* |
transformatori i kondenzatori koji sadrže PCB |
V102 |
16 02 10* |
odbačena oprema koja sadrži ili je kontaminirana sa PCB, drugačija od one navedene u 16 02 09 |
V102 |
16 02 11* |
odbačena oprema koja sadrži hlorofluorougljovodonike, HCFC, HFC |
V102 |
16 02 12* |
odbačena oprema koja sadrži slobodni azbest |
V102 |
16 02 13* |
odbačena oprema koja sadrži opasne komponente drugačija od one navedene u 16 02 09 do 16 02 12 |
V102 |
16 02 14 |
odbačena oprema drugačija od one navedene u 16 02 09 do 16 02 13 |
V102 |
16 02 15* |
opasne komponente uklonjene iz odbačene opreme |
V103 |
16 02 16 |
komponente uklonjene iz odbačene opreme drugačije od onih navedenih u 16 02 15 |
V103 |
16 03 |
komponente izvan specifikacije i nekorišćeni proizvodi |
|
16 03 03* |
neorganski otpadi koji sadrže opasne supstance |
V104 |
16 03 04 |
neorganski otpadi drugačiji od onih navedenih u 16 03 03 |
V104 |
16 03 05* |
organski otpadi koji sadrže opasne supstance |
V105 |
16 03 06 |
organski otpadi drugačiji od onih navedenih u 16 03 05 |
O28 |
16 04 |
otpadni eksplozivi |
|
16 04 01* |
otpadna municija |
O44 |
16 04 02* |
otpadi od vatrometa |
O44 |
16 04 03* |
ostali otpadni eksplozivi |
O44 |
16 05 |
gasovi u bocama pod pritiskom i odbačene hemikalije |
|
16 05 04* |
gasovi u bocama pod pritiskom (uključujući halone) koji sadrže opasne supstance |
V106 |
16 05 05 |
gasovi u bocama pod pritiskom drugačiji od onih navedenih u 16 05 04 |
V106 |
16 05 06* |
laboratorijske hemikalije koje se sastoje ili sadrže opasne supstance, uključujući smeše laboratorijskih hemikalija |
V107 |
16 05 07* |
odbačene neorganske hemikalije koje se sastoje ili sadrže opasne supstance |
V107 |
16 05 08* |
odbačene organske hemikalije koje se sastoje ili sadrže opasne supstance |
V107 |
16 05 09 |
odbačene hemikalije drugačije od onih navedenih u 16 05 06, 16 05 07 ili 16 05 08 |
V107 |
16 06 |
baterije i akumulatori |
|
16 06 01* |
olovne baterije |
O45 |
16 06 02* |
baterije od nikl-kadmijuma |
O45 |
16 06 03* |
baterije koje sadrže živu |
O45 |
16 06 04 |
alkalne baterije (izuzev 16 06 03) |
N |
16 06 05 |
druge baterije i akumulatori |
N |
16 06 06* |
posebno sakupljen elektrolit iz baterija i akumulatora |
O45 |
16 07 |
otpadi iz rezervoara za transport i skladištenje i otpad od čišćenja buradi (izuzev 05 i 13) |
|
16 07 08* |
otpadi koji sadrže ulje |
O17 |
16 07 09* |
otpadi koji sadrže ostale opasne supstance |
O17 |
16 07 99 |
otpadi koji nisu drugačije specificirani |
N |
16 08 |
istrošeni katalizatori |
|
16 08 01 |
istrošeni katalizatori koji sadrže zlato, srebro, renijum, rodijum, paladijum, iridijum ili platinu (izuzev 16 08 07) |
V108 |
16 08 02* |
istrošeni katalizatori koji sadrže opasne prelazne metale ili opasna jedinjenja prelaznih metala |
V109 |
16 08 03 |
istrošeni katalizatori koji sadrže prelazne metale ili jedinjenja prelaznih metala koji nisu drugačije specificirani |
V109 |
16 08 04 |
istrošeni tečni katalizatori za katalitički kreking (izuzev 16 08 07) |
V108 |
16 08 05* |
istrošeni katalizatori koji sadrže fosfornu kiselinu |
O46 |
16 08 06* |
istrošene tečnosti upotrebljene kao katalizatori |
O17 |
16 08 07* |
istrošeni katalizatori kontaminirani opasnim supstancama |
V108 |
16 09 |
oksidansi |
|
16 09 01* |
permanganati, npr. kalijum permanganat |
O47 |
16 09 02* |
hromati, npr. kalijum hromat, kalijum- ili natrijum dihromat |
O47 |
16 09 03* |
peroksidi, npr. vodonik peroksid |
O47 |
16 09 04* |
oksidanti koji nisu drugačije specificirani |
O47 |
16 10 |
tečni otpadi na bazi vode namenjeni tretmanu van mesta nastajanja |
|
16 10 01* |
tečni otpadi na bazi vode koji sadrže opasne supstance |
V110 |
16 10 02 |
tečni otpadi na bazi vode drugačiji od onih navedenih u 16 10 01 |
V110 |
16 10 03* |
koncentrati na bazi vode koji sadrže opasne supstance |
V111 |
16 10 04 |
koncentrati na bazi vode drugačiji od onih navedenih u 16 10 03 |
V111 |
16 11 |
otpadne obloge i vatrostalni materijali |
|
16 11 01* |
obloge na bazi ugljenika i vatrostalni materijali iz metalurških procesa koji sadrže opasne supstance |
V112 |
16 11 02 |
obloge na bazi ugljenika i vatrostalni materijali iz metalurških procesa drugačiji od onih navedenih u 16 11 01 |
V112 |
16 11 03* |
ostale obloge i vatrostalni materijali iz metalurških procesa koji sadrže opasne supstance |
V113 |
16 11 04 |
ostale obloge i vatrostalni materijali iz metalurških procesa drugačiji od onih navedenih u 16 11 03 |
V113 |
16 11 05* |
obloge i vatrostalni materijali iz nemetalurških procesa koji sadrže opasne supstance |
V114 |
16 11 06 |
obloge i vatrostalni materijali iz nemetalurških procesa drugačiji od onih navedenih u 16 11 05 |
V114 |
17 |
Građevinski otpad i otpad od rušenja (uključujući i iskopanu zemlju sa kontaminiranih lokacija) |
|
17 01 |
beton, cigle, crep i keramika |
|
17 01 01 |
beton |
N |
17 01 02 |
cigle |
N |
17 01 03 |
crep i keramika |
N |
17 01 06* |
mešavine ili pojedine frakcije betona, cigle, pločice i keramika koji sadrže opasne supstance |
V115 |
17 01 07 |
mešavine ili pojedine frakcije betona, cigle, pločice i keramika drugačiji od onih navedenih u 17 01 06 |
V115 |
17 02 |
drvo, staklo i plastika |
|
17 02 01 |
drvo |
V116 |
17 02 02 |
staklo |
V116 |
17 02 03 |
plastika |
V116 |
17 02 04* |
staklo, plastika i drvo koji sadrže opasne supstance ili su kontaminirani opasnim supstancama |
V116 |
17 03 |
bituminozne mešavine, katran i katranski proizvodi |
|
17 03 01* |
bituminozne mešavine koje sadrže katran od uglja |
V117 |
17 03 02 |
bituminozne mešavine drugačije od onih navedenih u 17 03 01 |
V117 |
17 03 03* |
katran od uglja i katranski proizvodi |
O48 |
17 04 |
metali (uključujući i njihove legure) |
|
17 04 01 |
bakar, bronza, mesing |
N |
17 04 02 |
aluminijum |
N |
17 04 03 |
olovo |
N |
17 04 04 |
cink |
N |
17 04 05 |
gvožđe i čelik |
N |
17 04 06 |
kalaj |
N |
17 04 07 |
mešani metali |
N |
17 04 09* |
otpad od metala kontaminiran opasnim supstancama |
O17 |
17 04 10* |
kablovi koji sadrže ulje, katran od uglja i druge opasne supstance |
V118 |
17 04 11 |
kablovi drugačiji od onih navedenih u 17 04 10 |
V118 |
17 05 |
zemlja (uključujući zemlju iskopanu sa kontaminiranih lokacija), kamen i iskop |
|
17 05 03* |
zemlja i kamen koji sadrže opasne supstance |
V119 |
17 05 04 |
zemlja i kamen drugačiji od onih navedenih u 17 05 03 |
V119 |
17 05 05* |
iskop koji sadrži opasne supstance |
V120 |
17 05 06 |
iskop drugačiji od onog navedenog u 17 05 05 |
V120 |
17 05 07* |
otpad koji spada sa gusenica koji sadrži opasne supstance |
V121 |
17 05 08 |
otpad koji spada sa gusenica drugačiji od onog navedenog u 17 05 07 |
V121 |
17 06 |
izolacioni materijali i građevinski materijali koji sadrže azbest |
|
17 06 01* |
izolacioni materijali koji sadrže azbest |
V122 |
17 06 03* |
ostali izolacioni materijali koji se sastoje od ili sadrže opasne supstance |
V122 |
17 06 04 |
izolacioni materijali drugačiji od onih navedenih u 17 06 01 i 17 06 03 |
V122 |
17 06 05* |
građevinski materijali koji sadrže azbest |
O49 |
17 08 |
građevinski materijal na bazi gipsa |
|
17 08 01* |
građevinski materijal na bazi gipsa kontaminirani opasnim supstancama |
V123 |
17 08 02 |
građevinski materijal na bazi gipsa drugačiji od onih navedenih u 17 08 01 |
V123 |
17 09 |
ostali otpadi od građenja i rušenja |
|
17 09 01* |
otpadi od građenja i rušenja koji sadrže živu |
V124 |
17 09 02* |
otpadi od građenja i rušenja koji sadrže PCB (npr. zaptivači koji sadrže PCB, podovi na bazi smola koji sadrže PCB, glazure koje sadrže PCB i kondenzatori koji sadrže PCB) |
V124 |
17 09 03* |
ostali otpadi od građenja i rušenja (uključujući mešane otpade) koji sadrže opasne supstance |
V124 |
17 09 04 |
mešani otpadi od građenja i rušenja drugačiji od onih navedenih u 17 09 01 i 17 09 02 i 17 09 03 |
V124 |
18 |
Otpadi od zdravstvene zaštite ljudi i Životinja i/ili s tim povezanog istraživanja (izuzev otpada iz kuhinja i restorana koji ne dolazi od neposredne zdravstvene zaštite) |
|
18 01 |
otpadi iz porodilišta, dijagnostike, tretmana ili prevencije bolesti ljudi |
|
18 01 01 |
oštri instrumenti (izuzev 18 01 03) |
V125 |
18 01 02 |
delovi tela i organi uključujući i kese sa krvlju i krvne produkte (izuzev 18 01 03) |
V125 |
18 01 03* |
otpadi čije sakupljanje i odlaganje podleže posebnim zahtevima zbog sprečavanja infekcije |
V125 |
18 01 04 |
otpadi čije sakupljanje i odlaganje ne podleže posebnim zahtevima zbog sprečavanja infekcije (npr. zavoji, gipsevi, posteljina, odeća za jednokratnu upotrebu i pelene) |
V125 |
18 01 06* |
hemikalije koje se sastoje od ili sadrže opasne supstance |
V126 |
18 01 07 |
hemikalije drugačije od onih navedenih u 18 01 06 |
V126 |
18 01 08* |
citotoksični i citostatični lekovi |
V127 |
18 01 09 |
lekovi drugačiji od onih navedenih u 18 01 08 |
V127 |
18 01 10* |
otpadni amalgam iz stomatologije |
O50 |
18 02 |
otpadi od istraživanja, dijagnostike, tretmana ili prevencije bolesti životinja |
|
18 02 01 |
oštri instrumenti (izuzev 18 02 02) |
V128 |
18 02 02* |
otpadi čije sakupljanje i odlaganje podleže posebnim zahtevima zbog sprečavanja infekcije |
V128 |
18 02 03 |
otpadi čije sakupljanje i odlaganje ne podleže posebnim zahtevima zbog sprečavanja infekcije |
V128 |
18 02 05* |
hemikalije koje se sastoje od ili sadrže opasne supstance |
V129 |
18 02 06 |
hemikalije drugačije od onih navedenih u 18 02 05 |
V129 |
18 02 07* |
citotoksični i citostatični lekovi |
V130 |
18 02 08 |
lekovi drugačiji od onih navedenih u 18 02 07 |
V130 |
19 |
Otpadi iz postrojenja za obradu otpada, pogona za tretman otpadnih voda van mesta nastajanja i pripremu vode za ljudsku potrošnju i korišćenje u industriji |
|
19 01 |
otpadi od spaljivanja ili pirolize otpada |
|
19 01 02 |
materijali koji sadrže gvožđe izvađeni iz šljake |
N |
19 01 05* |
filter - kolač (pogače) iz tretmana gasa |
O51 |
19 01 06* |
tečni otpadi na bazi vode od tretmana gasa i drugi tečni otpadi na bazi vode |
O51 |
19 01 07* |
čvrsti otpadi od tretmana gasa |
O51 |
19 01 10* |
istrošeni aktivni ugalj od tretmana gasa |
O51 |
19 01 11* |
šljaka koja sadrži opasne supstance |
V131 |
19 01 12 |
šljaka drugačija od one navedene u 19 01 11 |
V131 |
19 01 13* |
leteći pepeo koji sadrži opasne supstance |
V132 |
19 01 14 |
leteći pepeo drugačiji od onog navedenog u 19 01 13 |
V132 |
19 01 15* |
prašina iz kotla koja sadrži opasne supstance |
V133 |
19 01 16 |
prašina iz kotla drugačija od one navedene u 19 01 15 |
V133 |
19 01 17* |
otpadi od pirolize koji sadrže opasne supstance |
V134 |
19 01 18 |
otpadi od pirolize drugačiji od onih navedenih u 19 01 17 |
V134 |
19 01 19 |
pesak iz fluidizovanog sloja |
N |
19 01 99 |
otpadi koji nisu drugačije specificirani |
N |
19 02 |
otpadi od fizičko/hemijskih tretmana otpada (uključujući dehromiranje, decijanizaciju i neutralizaciju) |
|
19 02 03 |
prethodno izmešani otpadi koji se sastoje samo od neopasnog otpada |
N |
19 02 04* |
prethodno izmešani otpadi koji se sastoje od najmanje jednog opasnog otpada |
O17 |
19 02 05* |
muljevi iz fizičko/hemijskog tretmana koji sadrže opasne supstance |
V135 |
19 02 06 |
muljevi iz fizičko/hemijskog tretmana drugačiji od onih navedenih u 19 02 05 |
V135 |
19 02 07* |
ulja i koncentrati od separacije |
O41 |
19 02 08* |
tečni sagorljivi otpadi koji sadrže opasne supstance |
V136 |
19 02 09* |
čvrsti sagorljivi otpadi koji sadrže opasne supstance |
V136 |
19 02 10 |
sagorljivi otpadi drugačiji od onih navedenih u 19 02 08 i 19 02 09 |
V136 |
19 02 11* |
ostali otpadi koji sadrže opasne supstance |
O17 |
19 02 99 |
otpadi koji nisu drugačije specificirani |
N |
19 03 |
stabilizovani/solidifikovani otpadi |
|
19 03 04* |
otpadi označeni kao opasni, delimično stabilizovani |
V137 |
19 03 05 |
stabilizovani otpadi drugačiji od onih navedenih u 19 03 04 |
V137 |
19 03 06* |
otpadi označeni kao opasni, solidifikovani |
V138 |
19 03 07 |
solidifikovani otpadi drugačiji od onih navedenih u 19 03 06 |
V138 |
19 04 |
ostakljen (vitrifikovan) otpad i otpadi nastali u procesu vitrifikacije |
|
19 04 01 |
ostakljen (vitrifikovan) otpad |
N |
19 04 02* |
leteći pepeo i ostali otpadi od tretmana dimnog gasa |
O51 |
19 04 03* |
čvrsta faza koja se nije vitrifikovala |
O51 |
19 04 04 |
tečni otpadi na bazi vode od kaljenja vitrifikovanog otpada |
N |
19 05 |
otpadi od aerobnog tretmana čvrstih otpada |
|
19 05 01 |
nekompostirana frakcija komunalnog i sličnih otpada |
N |
19 05 02 |
nekompostirana frakcija životinjskog i biljnog otpada |
N |
19 05 03 |
kompost van specifikacije |
N |
19 05 99 |
otpadi koji nisu drugačije specificirani |
N |
19 06 |
otpadi od aneaerobnog tretmana otpada |
|
19 06 03 |
tečnost iz anaerobnog tretmana komunalnog otpada |
N |
19 06 04 |
digestat iz anaerobnog tretmana komunalnog otpada |
N |
19 06 05 |
tečnost iz anaerobnog tretmana životinjskog i biljnog otpada |
N |
19 06 06 |
digestat iz anaerobnog tretmana životinjskog i biljnog otpada |
N |
19 06 99 |
otpadi koji nisu drugačije specificirani |
N |
19 07 |
procedne vode iz sanitarnih deponija |
|
19 07 02* |
procedne vode iz sanitarnih deponija koje sadrže opasne supstance |
V139 |
19 07 03 |
procedne vode iz sanitarnih deponija drugačije od onih navedenih u 19 07 02 |
V139 |
19 08 |
otpadi iz pogona za tretman otpadnih voda koji nisu drugačije specificirani |
|
19 08 01 |
otpad od mehaničkog razdvajanja na rešetkama |
N |
19 08 02 |
otpad sa peščanog filtera |
N |
19 08 05 |
muljevi od tretmana urbanih otpadnih voda |
N |
19 08 06* |
zasićene ili potrošene jonoizmenjivačke smole |
O17 |
19 08 07* |
rastvori i muljevi iz regeneracije jonoizmenjivača |
O17 |
19 08 08* |
otpad sa membranskog sistema koji sadrži teške metale |
O51 |
19 08 09 |
smeše masti i ulja iz separacije ulje/voda koje sadrže samo jestiva ulja i masnoće |
V140 |
19 08 10* |
smeše masti i ulja iz separacije ulje/voda drugačije od onih navedenih u 19 08 09 |
V140 |
19 08 11* |
muljevi koji sadrže opasne supstance iz biološkog tretmana industrijske otpadne vode |
V141 |
19 08 12 |
muljevi iz biološkog tretmana industrijske otpadne vode drugačiji od onih navedenih u 19 08 11 |
V141 |
19 08 13* |
muljevi koji sadrže opasne supstance iz ostalih tretmana industrijske otpadne vode |
V142 |
19 08 14 |
muljevi iz ostalih tretmana industrijske otpadne vode drugačiji od onih navedenih u 19 08 13 |
V142 |
19 08 99 |
otpadi koji nisu drugačije specificirani |
N |
19 09 |
otpadi od pripreme vode za ljudsku potrošnju ili korišćenje u industriji |
|
19 09 01 |
čvrsti otpad iz primarne filtracije mehaničkog razdvajanja na rešetkama |
N |
19 09 02 |
muljevi od bistrenja vode |
N |
19 09 03 |
muljevi od dekarbonizacije vode |
N |
19 09 04 |
istrošeni aktivni ugalj |
N |
19 09 05 |
zasićene ili istrošene jonoizmenjivačke smole |
N |
19 09 06 |
rastvori i muljevi od regeneracije jonoizmenjivača |
N |
19 09 99 |
otpadi koji nisu drugačije specificirani |
N |
19 10 |
otpadi od sitnjenja otpada koji sadrže metal |
|
19 10 01 |
otpad od gvožđa i čelika |
N |
19 10 02 |
otpad od obojenih metala |
N |
19 10 03* |
laka frakcija i prašina koje sadrže opasne supstance |
V143 |
19 10 04 |
laka frakcija i prašina drugačije od onih navedenih u 19 10 03 |
V143 |
19 10 05*1 |
ostale frakcije koje sadrže opasne supstance |
V144 |
19 10 061 |
ostale frakcije drugačije od onih navedenih u 19 10 05 |
V144 |
19 11 |
otpadi iz regeneracije ulja |
|
19 11 01* |
istrošena filterska glina |
O52 |
19 11 02* |
kiseli katrani |
O52 |
19 11 03* |
tečni otpadi na bazi vode |
O52 |
19 11 04* |
otpadi od čišćenja goriva bazama |
O52 |
19 11 05* |
muljevi iz tretmana otpadnih voda na mestu nastajanja koji sadrže opasne supstance |
V145 |
19 11 06 |
muljevi iz tretmana otpadnih voda na mestu nastajanja drugačiji od onih navedenih u 19 11 05 |
V145 |
19 11 07* |
otpadi od prečišćavanja dimnih gasova |
O52 |
19 11 99 |
otpadi koji nisu drugačije specificirani |
N |
19 12 |
otpadi od mehaničkog tretmana otpada (npr. sortiranja, drobljenja, kompaktiranja i paletizovanja) koji nisu drugačije specificirani |
|
19 12 01 |
papir i karton |
N |
19 12 02 |
metali koji sadrže gvožđe |
N |
19 12 03 |
obojeni metali |
N |
19 12 04 |
plastika i guma |
N |
19 12 05 |
staklo |
N |
19 12 06* |
drvo koje sadrži opasne supstance |
V146 |
19 12 07 |
drvo drugačije od onog navedenog u 19 12 06 |
V146 |
19 12 08 |
tekstil |
N |
19 12 09 |
minerali (npr. pesak i kamen) |
N |
19 12 10 |
sagorljivi otpad (gorivo dobijeno iz otpada) |
N |
19 12 11* |
drugi otpadi (uključujući mešavine materijala) od mehaničkog tretmana otpada koji sadrže opasne supstance |
V147 |
19 12 12 |
drugi otpadi (uključujući mešavine materijala) od mehaničkog tretmana otpada drugačiji od onih navedenih u 19 12 11 |
V174 |
19 13 |
otpadi od remedijacije zemljišta i podzemnih voda |
|
19 13 01* |
čvrsti otpadi od remedijacije zemljišta koji sadrže opasne supstance |
V148 |
19 13 02 |
čvrsti otpadi od remedijacije zemljišta drugačiji od onih navedenih u 19 13 01 |
V148 |
19 13 03* |
muljevi od remedijacije zemljišta koji sadrže opasne supstance |
V149 |
19 13 04 |
muljevi od remedijacije zemljišta drugačiji od onih navedenih u 19 13 03 |
V149 |
19 13 05* |
muljevi od remedijacije podzemnih voda koji sadrže opasne supstance |
V150 |
19 13 06 |
muljevi od remedijacije podzemnih voda drugačiji od onih navedenih u 19 13 05 |
V150 |
19 13 07* |
tečni otpadi na bazi vode i vodeni koncentrati od remedijacije podzemnih voda koji sadrže opasne supstance |
V151 |
19 13 08 |
tečni otpadi na bazi vode i vodeni koncentrati od remedijacije podzemnih voda drugačiji od onih navedenih u 19 13 07 |
V151 |
20 |
Komunalni otpadi (kućni otpad i slični komercijalni industrijski otpadi), uključujući odvojeno sakupljene frakcije |
|
20 01 |
odvojeno sakupljene frakcije (izuzev 15 01) |
|
20 01 01 |
papir i karton |
N |
20 01 02 |
staklo |
N |
20 01 08 |
biorazgradivi kuhinjski i otpad iz restorana |
N |
20 01 10 |
odeća |
N |
20 01 11 |
tekstil |
N |
20 01 13* |
rastvarači |
O53 |
20 01 14* |
kiseline |
O53 |
20 01 15* |
baze |
O53 |
20 01 17* |
foto-hemikalije |
O53 |
20 01 19* |
pesticidi |
O53 |
20 01 21* |
fluorescentne cevi i drugi otpad koji sadrži živu |
V157 |
20 01 23* |
odbačena oprema koja sadrži hlorofluorougljovodonike |
V157 |
20 01 25 |
jestiva ulja i masti |
V152 |
20 01 26* |
ulja i masti drugačiji od onih navedenih u 20 01 25 |
V152 |
20 01 27* |
boja, mastila, lepkovi i smole koji sadrže opasne supstance |
V153 |
20 01 28 |
boja, mastila, lepkovi i smole drugačiji od onih navedenih u 20 01 27 |
V153 |
20 01 29* |
deterdženti koji sadrže opasne supstance |
V154 |
20 01 30 |
deterdženti drugačiji od onih navedenih u 20 01 29 |
V154 |
20 01 31* |
citotoksični i citostatični lekovi |
V155 |
20 01 32 |
lekovi drugačiji od onih navedenih u 20 01 31 |
V155 |
20 01 33* |
baterije i akumulatori uključeni u 16 06 01, 16 06 02 ili 16 06 03 i nesortirane baterije i akumulatori koji sadrže ove baterije |
V156 |
20 01 34 |
baterije i akumulatori drugačiji od onih navedenih u 20 01 33 |
V156 |
20 01 35* |
odbačena elektronska i električna oprema koja sadrži opasne komponente |
V157 |
20 01 36 |
odbačena električna i elektronska oprema drugačija od one navedene u 20 01 21, 20 01 23 i 20 01 35 |
V157 |
20 01 37* |
drvo koje sadrži opasne supstance |
V158 |
20 01 38 |
drvo drugačije od onog navedenog u 20 01 37 |
V158 |
20 01 39 |
plastika |
N |
20 01 40 |
metali |
N |
20 01 41 |
otpadi od čišćenja dimnjaka |
N |
20 01 99 |
ostale frakcije koje nisu drugačije specificirane |
N |
20 02 |
otpadi iz vrtova i parkova (uključujući i otpad sa groblja) |
|
20 02 01 |
biodegradabilni otpad |
N |
20 02 02 |
zemlja i kamen |
N |
20 02 03 |
ostali nebiodegradabilni otpad |
N |
20 03 |
ostali komunalni otpadi |
|
20 03 01 |
mešani komunalni otpad |
N |
20 03 02 |
otpad sa pijaca |
N |
20 03 03 |
ostaci od čišćenja ulica |
N |
20 03 04 |
muljevi iz septičkih jama |
N |
20 03 06 |
otpad od čišćenja kanalizacije |
N |
20 03 07 |
kabasti otpad |
N |
20 03 99 |
komunalni otpadi koji nisu drugačije specificirani |
N |
* Svaki otpad označen zvezdicom smatra se opasnim otpadom.
Q1 |
Ostaci od proizvodnje ili potrošnje koji nisu drugačije specificirani |
Q2 |
Proizvodi bez specifikacija |
Q3 |
Proizvodi čiji je rok upotrebe istekao |
Q4 |
Prosuti materijali, materijali koji su nastali usled gubitka ili nezgode pri postupanju sa njima, uključujući sve materijale, opremu i sl. kontaminirane pri nezgodi |
Q5 |
Kontaminirani ili zaprljani materijali nastali u toku planiranog postupka (npr. ostaci od postupaka čišćenja, materijali za pakovanje, kontejneri) |
Q6 |
Neupotrebljivi delovi (npr. istrošene baterije, katalizatori i dr.) |
Q7 |
Supstance koje više ne zadovoljavaju (npr. kontaminirane kiseline ili rastvarači, istrošene soli za termičku obradu i dr.) |
Q8 |
Ostaci iz industrijskih procesa (npr. šljaka, destilacioni talozi i dr.) |
Q9 |
Ostaci iz procesa za smanjenje zagađenja (npr. mulj iz uređaja za vlažno prečišćavanje gasova, prašina iz vrećastih filtera, potrošeni filteri) |
Q10 |
Ostaci od mašinske grube/fine obrade (npr. strugotine, opiljci i otpaci od glodanja i sl.) |
Q11 |
Ostaci od ekstrakcije i prerade sirovina (npr. otpad iz rudarstva, naftne isplake i dr.) |
Q12 |
Materijali čiji je prvobitni sastav iskvaren (npr. ulje zagađeno polihlorovanim bifenilima - PCB i dr.) |
Q13 |
Svaka materija, materijal ili proizvod čije je korišćenje zabranjeno |
Q14 |
Proizvodi koje njihov vlasnik odbacuje kao neupotrebljive (npr. poljoprivredni otpad, otpad iz domaćinstva, kancelarijski, komercijalni i otpad iz trgovina i sl.) |
Q15 |
Kontaminirani materijali, materije ili proizvodi nastali u procesu remedijacije zemljišta |
Q16 |
Bilo koji drugi materijali, materije ili proizvodi koji nisu obuhvaćeni u gore navedenim kategorijama |
Y LISTA
LISTA KATEGORIJA ILI SRODNIH TIPOVA OPASNOG OTPADA PREMA NJIHOVOJ PRIRODI ILI PREMA AKTIVNOSTI KOJOM SE STVARAJU
Tokovi otpada:
Y1 |
Otpad iz medicinske zaštite nastao u bolnicama, klinikama i zdravstvenim centrima |
Y2 |
Otpad nastao u toku proizvodnje i pripreme farmaceutskih proizvoda |
Y3 |
Otpadni farmaceutski proizvodi, lekovi i sl.) |
Y4 |
Otpadi nastali u toku proizvodnje, formulacije i korišćenja biocida i fitofarmaceutskih proizvoda |
Y5 |
Otpadi nastali u toku proizvodnje, formulacije i korišćenja sredstava za zaštitu drveta |
Y6 |
Otpadi nastali u toku proizvodnje, formulacije i korišćenja organskih rastvarača |
Y7 |
Otpad iz termičke obrade i operacija kaljenja u kojima se koriste cijanidi |
Y8 |
Otpadna mineralna ulja koja se ne mogu koristiti za prvobitnu namenu |
Y9 |
Otpadne smeše ulje/voda, mešavine ugljovodonici/voda, emulzije |
Y10 |
Otpadne materije i predmeti koji sadrže ili su kontaminirani polihlorovanim bifenilima (PCB) i/ili polibromovanim trifenilima (PCT) i/ili polibromovanim bifenilima (PBB) |
Y11 |
Otpadne materije koje sadrže katran nastalih rafinacijom, destilacijom ili bilo kojim drugim pirolitičkim tretmanom |
Y12 |
Otpadi nastali u toku proizvodnje, formulacije i korišćenja mastila, boja, pigmenata, farbi, lakova, firnajsa |
Y13 |
Otpadi nastali u toku proizvodnje, formulacije i korišćenja smola, lateksa, plastifikatora, lepkova/adheziva |
Y14 |
Otpadne hemikalije koje potiču od istraživanja i razvoja ili nastavnih aktivnosti koje nisu identifikovane i/ili su nove i čiji efekti na čoveka i/ili životnu sredinu nisu poznati |
Y15 |
Otpadi koji imaju eksplozivne karakteristike koji nisu predmet druge zakonske regulative |
Y16 |
Otpadi nastali u toku proizvodnje, formulacije i korišćenja fotografskih hemikalija i materijala za razvijanje |
Y17 |
Otpadi nastali pri površinskoj obradi metala i plastike |
Y18 |
Ostaci koji nastaju prilikom uklanjanja industrijskog otpada |
Otpadi koji sadrže:
Y19 |
Metalne karbonile |
Y20 |
Berilijum i njegova jedinjenja |
Y21 |
Jedinjenja šestovalentnog hroma |
Y22 |
Jedinjenja bakra |
Y23 |
Jedinjenja cinka |
Y24 |
Arsen i njegova jedinjenja |
Y25 |
Selen i njegova jedinjenja |
Y26 |
Kadmijum i njegova jedinjenja |
Y27 |
Antimon i njegova jedinjenja |
Y28 |
Telur i njegova jedinjenja |
Y29 |
Živu i njena jedinjenja |
Y30 |
Talijum i njegova jedinjenja |
Y31 |
Olovo i njegova jedinjenja |
Y32 |
Neorganska jedinjenja fluora isključujući kalcijum fluorid |
Y33 |
Neorganske cijanide |
Y34 |
Rastvore kiselina ili kiseline u čvrstom stanju |
Y35 |
Rastvore baza ili baze u čvrstom stanju |
Y36 |
Azbest (prašina i vlakna) |
Y37 |
Organofosforna jedinjenja |
Y38 |
Organske cijanide |
Y39 |
Fenole i jedinjenja fenola uključujući hlorofenole |
Y40 |
Etre |
Y41 |
Halogenovane organske rastvarače |
Y42 |
Organske rastvarače izuzev halogenovanih rastvarača |
Y43 |
Bilo koji kogener polihlorovanih dibenzo-furana |
Y44 |
Bilo koji kongener polihlorovanih dibenzo-p-dioksina |
Y45 |
Druga organo halogenovana jedinjenja nepomenuta u ovoj listi (npr. Y39, Y41, Y42, Y43, Y44) |
Kategorije otpada koje zahtevaju posebno razmatranje:
Y46 |
Otpad prikupljen iz domaćinstva |
Y47 |
Ostaci koji nastaju posle spaljivanja otpada iz domaćinstva |
Y4823 |
Plastični otpad, uključujući mešavine takvog otpada, izuzimajući sledeće: |
Komponente otpada koje ga čine opasnim ako ima karakteristike opisane u Prilogu 5.
Otpadi koji sadrže:
C1 |
berilijum, jedinjenja berilijuma |
C2 |
jedinjenja vanadijuma |
C3 |
jedinjenja hroma (VI) |
C4 |
jedinjenja kobalta |
C5 |
jedinjenja nikla |
C6 |
jedinjenja bakra |
C7 |
jedinjenja cinka |
C8 |
arsen; jedinjenja arsena |
C9 |
selen; jedinjenja selen |
C10 |
jedinjenja srebra |
C11 |
kadmijum; jedinjenja kadmijuma |
C12 |
jedinjenja kalaja |
C13 |
antimon; jedinjenja antimona |
C14 |
telur; jedinjenja telura |
C15 |
jedinjenja barijuma; isključujući barijum sulfat |
C16 |
živu; jedinjenja žive |
C17 |
talijum; jedinjenja talijuma |
C18 |
olovo; jedinjenja olova |
C19 |
neorganske sulfide |
C20 |
neorganska jedinjenja fluora; isključujući kalcijum fluorid |
C21 |
neorganske cijanide |
C22 |
sledeće alkalne metale ili zemnoalkalne metale: litijum, natrijum, kalijum, kalcijum, magnezijum koji nisu u smeši |
C23 |
rastvori kiselina ili kiseline u čvrstom obliku |
C24 |
rastvori baza ili baze u čvrstom obliku |
C25 |
azbest (prašinu i vlakna) |
C26 |
fosfor; fosforna jedinjenja, isključujući fosfatne minerale |
C27 |
metalni karbonili |
C28 |
perokside |
C29 |
hlorate |
C30 |
perhlorate |
C31 |
azide |
C32 |
PCB i/ili PCT |
C33 |
jedinjenja koja se koriste u farmaciji ili veterini |
C34 |
biocide i fito-farmaceutske supstance (npr. pesticide i sl.) |
C35 |
infektivne supstance |
C36 |
kreozati |
C37 |
izocijanati; tiocijanati |
C38 |
organske cijanide (npr. nitrile i sl.) |
C39 |
fenole; jedinjenja fenola |
C40 |
halogenovane rastvarače |
C41 |
organske rastvarače, isključujući halogenovane rastvarače |
C42 |
organohalogena jedinjenja, isključujući inertne polimerizovane materije i ostale supstance navedene u ovom prilogu |
C43 |
aromatična jedinjenja; policiklična i heterociklična organska jedinjenja |
C44 |
alifatične amine |
C45 |
aromatične amine |
C46 |
etre |
C47 |
supstance koje imaju osobine eksploziva, isključujući one koje su navedene u ovom prilogu |
C48 |
sumporna organska jedinjenja |
C49 |
bilo koji kongener polihlorovanih dibenzo-furana |
C50 |
bilo koji kongener polihlorovanih dibenzo-p-dioksina |
C51 |
ugljovodonike i kiseonik; azotna i/ili sumporna jedinjenja koja nisu uzeta u obzir u ovom prilogu. |
H LISTA
LISTA OPASNIH KARAKTERISTIKA OTPADA
Svojstva otpada koja ga čine opasnim
HP 1 - "Eksplozivno": otpad u kojem zbog hemijskih reakcija može doći do generisanja gasa pri takvim temperaturama, pritiscima i brzinama da može izazvati razaranje u okruženju. Ovde su obuhvaćeni samozapaljivi otpad, eksplozivni organski peroksidni otpad i eksplozivni samoreaktivni otpad.
Otpad koji sadrži jednu ili više supstanci koje su klasifikovane u klase i kategorije opasnosti i šifre obaveštenja o opasnosti iz Tabele 1, otpad se, prema potrebi i srazmerno, u pogledu oznaka opasnosti otpada HP 1 procenjuje u skladu sa metodama ispitivanja iz propisa kojima se uređuju metode ispitivanja opasnih svojstava hemikalija. Ako supstanca, smeša ili proizvod prisutni u otpadu ukazuje na eksplozivnost otpada, otpad se klasifikuje kao opasan i dodeljuje mu se oznaka HP 1.
Tabela 1. - Klase i kategorija opasnosti i obaveštenja opasnosti za sastojke otpada u vezi njegove klasifikacije kao opasnog pod oznakom HP 1:
Klasa i kategorija opasnosti |
Obaveštenja o opasnosti |
Nestabilni eksplozivi |
H 200 |
Eksplozivi podklase 1.1 |
H 201 |
Eksplozivi podklase. 1.2 |
H 202 |
Eksplozivi podklase 1.3 |
H 203 |
Eksplozivi podklase 1.4 |
H 204 |
Samoreaktivni, tip A |
H 240 |
Organski peroksidi, tip A |
|
Samoreaktivni, tip B |
H241 |
Organski peroksidi, tip B |
HP 2 "Oksidirajuće": otpad koji može, uglavnom oslobađajući kiseonik, da izazove sagorevanje drugih materijala ili da doprinese sagorevanju drugih materijala.
Otpad koji sadrži jednu ili više supstanci koje su klasifikovane u klase i kategorije opasnosti i šifre obaveštenja o opasnosti iz Tabele 2, otpad se, prema potrebi i srazmerno, u pogledu oznake opasnosti otpada HP 2 procenjuje u skladu sa metodama ispitivanja iz propisa kojima se uređuju metode ispitivanja opasnih svojstava hemikalija. Ako prisustvo neke od ovih supstanci u otpadu ukazuje da je otpad oksidirajući, otpad se klasifikuje kao opasan i dodeljuje mu se oznaka HP 2.
Tabela 2.: Klase opasnosti, šifre kategorija i obaveštenja o opasnosti za sastojke otpada u vezi njegove klasifikacije kao opasnog pod oznakom HP 2:
Klasa i kategorija opasnosti |
Obaveštenja o opasnosti |
Oksidirajući gasovi, kategorije 1 |
H 270 |
Oksidirajuće tečnosti, kategorije 1 |
H 271 |
Oksidirajuće čvrste supstance i smeše, kategorije 1 |
|
Oksidirajuće tečnosti, kategorije 2 ili 3 |
H 272 |
Oksidirajuće čvrste supstance ili smeše, kategorije 2 i 3 |
HP 3 "Zapaljivo": otpad koji u skladu sa svojim svojstvima se lako pali ili koji usled trenja može izazvati plamen ili doprineti stvaranju vatre:
- zapaljiv tečni otpad: tečni otpad čija je tačka paljenja ispod 60 °C ili otpadno gasno ulje, dizel i lako lož ulje čija je tačka paljenja u temperaturnom intervalu između > 55 °C i ≤ 75 °C;
- samozapaljiv tečni i čvrsti otpad: čvrsti ili tečni otpad koji se čak i u malim količinama može zapaliti u roku od pet minuta nakon dolaska u kontakt sa vazduhom;
- zapaljiv čvrsti otpad: čvrsti otpad koji je lako zapaljiv ili može izazvati ili pospešiti požar trenjem;
- zapaljiv gasoviti otpad: gasoviti otpad koji se može zapaliti nakon dolaska u kontakt sa vazduhom na temperaturi od 20 °C i standardnom pritisku od 101,3 kPa;
- otpad koji reaguje sa vodom: otpad koji u kontaktu sa vodom oslobađa zapaljive gasove u opasnim količinama;
- ostali zapaljiv otpad: zapaljivi aerosoli, zapaljiv samozagrejavajući otpad, zapaljivi organski peroksidi i zapaljiv samoreaktivni otpad.
Kada otpad koji sadrži jednu ili više supstanci koje su klasifikovane u klase i kategorija opasnosti i šifre obaveštenja o opasnosti iz Tabele 3, otpad se, prema potrebi i srazmerno, u pogledu oznake opasnosti otpada HP 3 procenjuje u skladu sa propisanim metodama ispitivanja iz propisa kojima se uređuju metode ispitivanja opasnih svojstava hemikalija. Ako prisustvo neke od ovih supstanci u otpadu ukazuje da je otpad zapaljiv, otpad se klasifikuje kao opasan i dodeljuje mu se oznaka HP 3.
Tabela 3. Klase i kategorija opasnosti i obaveštenja o opasnosti za sastojke otpada u vezi njegove klasifikacije kao opasnog pod oznakom HP 3:
Klasa i kategorija opasnosti |
Obaveštenja o opasnosti |
Zapaljivi gasovi, kategorije 1 |
H220 |
Zapaljivi gasovi, kategorije 2 |
H221 |
Aerosoli, kategorije 1 |
H222 |
Aerosoli, kategorije 2 |
H223 |
Zapaljive tečnosti, kategorije 1 |
H224 |
Zapaljive tečnosti, kategorije 2 |
H225 |
Zapaljive tečnosti, kategorije 3 |
H226 |
Zapaljive čvrste supstance i smeše, kategorije 1 |
H228 |
Zapaljive čvrste supstance i smeše, kategorije 2 |
|
Samoreaktivne supstance i smeše, tip C i D |
H242 |
Samoreaktivne supstance i smeše, tip E i F |
|
Organski peroksidi, tip C i D |
|
Organski peroksidi, tip E i F |
|
Samozapaljive tečnosti, kategorije 1 |
H250 |
Samozapaljive tečnosti, kategorije 2 |
|
Samozagrejavajuće supstance i smeše, kategorije 1 |
H251 |
Samozagrejavajuće supstance i smeše, kategorije 2 |
H252 |
Supstance i smeše koje u kontaktu sa vodom oslobađaju zapaljive gasove, kategorije 1 |
H260 |
Supstance i smeše koje u kontaktu sa vodom oslobađaju zapaljive gasove, kategorije 2 |
H261 |
HP 4 "Iritativan - iritacija kože i oštećenje oka": otpad koji prilikom rukovanja može da izazove iritaciju kože ili oštećenja oka.
Otpad koji sadrži jednu ili više supstanci u koncentracijama iznad granične vrednosti koja se uzima u obzir pri proceni opasnosti, a koje su klasifikovane u jednu od sledećih klasa, kategorija i obaveštenja o opasnosti, i čije su koncentracije jednake ili više od granične koncentracije, klasifikuje se kao opasan oznakom HP 4.
Granična vrednost koja se uzima u obzir pri proceni opasnosti u pogledu klasa opasnosti "Korozija kože" kategorije 1A (H314), "Iritacija kože" kategorije 2 (H315), "Teško oštećenja oka" kategorije 1 (H318) i "Iritacija oka" kategorije 2 (H319) iznosi 1%.
Kada je zbir koncentracija svih supstanci koje su prisutne u otpadu i koje su ujedno i klasifikovane kao "Korozija kože" kategorije 1A (H314) jednak ili veći od granične koncentracije od 1%, otpad se klasifikuje kao opasan oznakom HP 4.
Kada je zbir koncentracija svih supstanci koje su prisutne u otpadu i koje su ujedno i klasifikovane kao "Teško oštećenja oka" kategorije 1 (H318) jednak ili veći od granične koncentracije od 10%, otpad se klasifikuje kao opasan oznakom HP 4.
Kada je zbir koncentracija svih supstanci koje su prisutne u otpadu i koje su ujedno i klasifikovane kao "Iritacija kože" kategorije 2 (H315) i "Iritacija oka" kategorije 2 (H319) jednak ili veći od granične koncentracije od 20%, otpad se klasifikuje kao opasan oznakom HP 4.
Otpad koji sadrže supstance klasifikovane kao "Korozija kože" kategorije 1A, 1B ili 1C (H314) u koncentraciji jednakoj ili većoj od 5% klasifikuje se kao opasan oznakom HP 8. U tom slučaju oznaka HP 4 se ne primenjuje na otpad koji je već klasifikovan kao HP 8.
HP 5 "Specifična toksičnost za ciljni organ/Opasnost od aspiracije": otpad koji može izazvati specifičnu toksičnost za ciljni organ usled jednokratnog (JI) ili višekratnog izlaganja (VI) ili koji može izazvati akutne toksične efekte nakon aspiracije.
Otpad koji sadrži jednu ili više supstanci koje su kladifikovane u jednu ili više od klasa o kategorija opasnosti iz Tabele 4, a pri tom dostižu ili premauju vrednosti jedne ili više graničnih koncentracije iz Tabele 4, klasifikuje se kao opasan oznakom HP 5. Kada su supstance koje su klasifikovane u klasu "Specifična toksičnost za ciljni organ" prisutne u otpadu, pojedinačne koncentracije ovih supstanci moraju biti jednake ili veće od vrednosti graničnih koncentracija da bi otpad bio klasifikovan kao opasan oznakom HP 5.
Otpad koji sadrži jednu ili više supstanci koje su klasifikovane kao "Opasnost od aspiracije", kategorije 1, a zbir koncentracija ovih supstanci dostiže ili premašuje vrednost granične koncentracije za tu klasu opasnosti, klasifikuje se kao opasan oznakom HP 5 isključivo ako ukupni kinematički viskozitet (na temperaturi od 40 °C) ne premašuje vrednost 20,5 mm2/s. Napomena: Kinematički viskozitet se određuje isključivo za fluide.
Tabele 4. Klase i kategorija opasnosti, obaveštenja o opasnosti za sastojke otpada i odgovarajuće vrednosti graničnih koncentracija u vezi njegove klasifikacije kao opasnog pod oznakom HP 5:
Klasa i kategorija opasnosti |
Obaveštenja o opasnosti |
Granična koncentracija |
Specifična toksičnost za ciljani organ - JI, kategorije 1 |
H370 |
1% |
Specifična toksičnost za ciljani organ - JI, kategorije 2 |
H371 |
10% |
Specifična toksičnost za ciljani organ - JI, kategorije 3 |
H335 |
20% |
Specifična toksičnost za ciljani organ - VI, kategorije 1 |
H372 |
1% |
Specifična toksičnost za ciljani organ - VI, kategorije 2 |
H373 |
10% |
Opasnost od aspiracije, kategorije 1 |
H304 |
10% |
HP 6 "Akutna toksičnost": otpad koji može izazvati akutne toksične efekte nakon oralnog unosa, dermalnim kontaktom ili nakon izlaganja inhalacionim putem.
Kada zbir koncentracija svih supstanci prisutnih u otpadu a koje su klasifikovane u klasu opasnosti akutne toksičnosti i prema kategorijama i šiframa obaveštenja o opasnosti iz Tabele 5. dostiže ili premašuje vrednost granične koncentracije navedene u tabeli 5 za tu klasu i kategoriju opasnosti, otpad se klasifikuje kao opasan oznakom HP 6. Kada je u otpadu prisutno više supstanci koje su klasifikovane kao akutno toksične, zbir koncentracija se isključivo odnosi na supstance koje pripadaju istoj kategoriji opasnosti.
Sledeće granične vrijednosti supstanci se uzimaju u obzir pri proceni opasnosti:
- Za supstance klasifikovane kao akutno toksične kategorije 1, 2 ili 3 (H300, H310, H330, H301, H311, H331): 0,1%
- Za supstance klasifikovane kao akutno toksične, kategorije 4 (H302, H312, H332): 1%.
Tabela 5. Klase i kategorija opasnosti, obaveštenja o opasnosti za sastojke otpada i odgovarajuće vrednosti graničnih koncentracija u vezi njegove klasifikacije kao opasnog pod oznakom HP 6:
Klasa i kategorija opasnosti |
Obaveštenja o opasnosti |
Granična koncentracija |
Akutna peroralna toksičnost, kategorije 1 |
H300 |
0,1% |
Akutna peroralna toksičnost, kategorije 2 |
H300 |
0,25% |
Akutna peroralna toksičnost, kategorije 3 |
H301 |
5% |
Akutna peroralna toksičnost, kategorije 4 |
H302 |
25% |
Akutna dermalna toksičnost, kategorije 1 |
H310 |
0,25% |
Akutna dermalna toksičnost, kategorije 2 |
H310 |
2,5% |
Akutna dermalna toksičnost, kategorije 3 |
H311 |
15% |
Akutna dermalna toksičnost, kategorije 4 |
H312 |
55% |
Akutna inhalaciona toksičnost, kategorije 1 |
H330 |
0,1% |
Akutna inhalaciona toksičnost, kategorije 2 |
H330 |
0,5% |
Akutna inhalaciona toksičnost, kategorije 3 |
H331 |
3,5% |
Akutna inhalaciona toksičnost, kategorije 4 |
H332 |
22,5% |
HP 7 "Karcinogeno": otpad koji izaziva karcinom ili povećava njegovu incidencu.
Otpad koji sadrži supstancu koja je klasifikovana kao "Karcinogenost", kategorije 1A, 1B ili 2 i koja dostiže ili premašuje vrednost graničnih koncentracija iz Tabele 6. za tu kategoriju opasnosti, klasifikuje se kao opasan oznakom HP 7. Kad je u otpadu prisutno više supstanci koje su klasifikovane kao karcinogene, pojedinačna supstanca mora biti prisutna u koncentraciji jednakoj ili većoj od granične koncentracije da bi otpad bio klasifikovan kao opasan oznakom HP 7.
Tabela 6. Klase i kategorija opasnosti, obaveštenja o opasnosti za sastojke otpada i odgovarajuće vrednosti graničnih koncentracija u vezi njegove klasifikacije kao opasnog pod oznakom HP 7
Klasa i kategorija opasnosti |
Obaveštenja o opasnosti |
Granična koncentracija |
Karcinogenost, kategorije 1A |
H350 |
0,1% |
Karcinogenost, kategorije 1B |
||
Karcinogenost, kategorije 2 |
H351 |
1,0% |
HP 8 "Korozivno": otpad u dodiru s kojim može doći do korozije kože.
Otpad koji sadrži jednu ili više supstanci koje su klasifikovane kao "Korozija kože" kategorije 1A, 1B ili 1C (H314), a zbir njihovih koncentracija dostiže ili premašuje 5%, otpad se klasifikuje kao opasan oznakom HP 8.
Granična vrednost koja se uzima u obzir pri proceni opasnosti otpada u pogledu klase opasnosti "Krozija kože" kategorije 1A, 1B i 1C (H314) iznosi 1,0%.
HP 9 "Infektovno": otpad koji sadrži aktivne mikroorganizme ili njihove toksine za koje se veruje ili se pouzdano zna da uzrokuju bolesti ljudi i drugih živih organizama.
Dodela oznake HP 9 dodeljuje se u skladu sa definicijom infektivnog otpada navedenom u propisu kojim se uređuje upravljanje medicinskim otpadom.
HP 10 "Toksično po reprodukciju": otpad koji negativno utiče na seksualnu funkciju i plodnost muškaraca i žena, kao i na razvoj ploda.
Otpad koji sadrži supstancu koja je klasifikovana kao "Toksično po reprodukciju", kategorije 1A, 1B ili 2 i koja dostiže ili premašuje vrednost graničnih koncentracija iz Tabele 8. za tu kategoriju opasnosti, klasifikuje se kao opasan oznakom HP 10. Kad je u otpadu prisutno više supstanci koje su klasifikovane kao toksične po reprodukciju, pojedinačna supstanca mora biti prisutna u koncentraciji jednakoj ili većoj od granične koncentracije da bi otpad bio klasifikovan kao opasan oznakom HP 10.
Tabela 8. Klase i kategorija opasnosti, obaveštenja o opasnosti za sastojke otpada i odgovarajuće vrednosti graničnih koncentracija u vezi njegove klasifikacije kao opasnog pod oznakom HP 10
Klasa i kategorija opasnosti |
Obaveštenja o opasnosti |
Granična koncentracija |
Toksičnost po reprodukciju, kategorije 1A |
H360 |
0,3% |
Toksičnost po reprodukciju, kategorije 1B |
||
Toksičnost po reprodukciju, kategorije 2 |
H361 |
3,0% |
HP 11 "Mutagenost": Otpad koji može izazvati mutaciju koja predstavlja trajnu promenu količine ili strukture genetskog materijala u ćeliji.
Otpad koji sadrži supstancu koja je klasifikovana kao "Mutagenost germinativnih ćelija", kategorije 1A, 1B ili 2 i koja dostiže ili premašuje vrednost graničnih koncentracija iz Tabele 7. za tu kategoriju opasnosti, klasifikuje se kao opasan oznakom HP 11. Kad je u otpadu prisutno više supstanci koje su klasifikovane kao mutagene, pojedinačna supstanca mora biti prisutna u koncentraciji jednakoj ili većoj od granične koncentracije da bi otpad bio klasifikovan kao opasan oznakom HP 11.
Tabela 7. Klase i kategorija opasnosti, obaveštenja o opasnosti za sastojke otpada i odgovarajuće vrednosti graničnih koncentracija u vezi njegove klasifikacije kao opasnog pod oznakom HP 11
Klasa i kategorija opasnosti |
Obaveštenja o opasnosti |
Granična koncentracija |
Mutagenost germinativnih ćelija, kategorije 1A |
H340 |
0,1% |
Mutagenost germinativnih ćelija, kategorije 1B |
||
Mutagenost germinativnih ćelija, kategorije 2 |
H341 |
1,0% |
HP 12 "Oslobađanje akutno toksičnih gasova": otpad koji u kontaktu sa vodom ili kiselinom oslobađa toksične gasove (klasifikovane kao akutno toksične kat. 1, 2 ili 3).
Kada otpad sadrži supstancu kojoj je dodeljeno jedno ili više od sledećih dodatnih obaveštenja o opasnosti - EUH029, EUH031 i EUH032 u skladu sa propisima kojima se uređuje klasifikacija, pakovanje i obeležavanje hemikalija i određenih proizvoda, klasifikuje se kao opasan oznakom HP 12.
HP 13 "Senzibilizirajuće": otpad koji sadrži jednu ili više supstanci za koje je poznato da imaju sposobnost izazivanje reakcije senzibilizacije (preosetljivosti) kože ili respiratornih organa.
Kada otpad sadrži supstancu koja je klasifikovana kao senzibilizirajuća i kojoj su dodeljena obaveštenja o opasnosti H317 ili H334, a čija pojedinačna koncentracija dostiže ili premašuje vrednost granične koncentracije od 10%, otpad se klasifikuje kao opasan oznakom HP 13.
HP 14 "Ekotoksično": otpad koji predstavlja ili može predstavljati kratkoročne ili dugoročne rizike za jedan ili više medijuma životne sredine.
Otpad koji ispunjava bilo koji od sledećih dole navedenih uslova, klasifikije se kao opasan oznakom HP 14:
- otpad koji sadrži supstancu koja je klasifikovana kao opasna po ozonski omotač i kojoj je dodeljeno obaveštenje o opasnosti H420 u skladu sa propisima kojima se uređuje klasifikacija, pakovanje i obeležavanje hemikalija i određenih proizvoda, a čija koncentracija doseže ili premašuje vrednost granične koncentracije od 0,1%.
[c (H420) ≥ 0,1%]
- otpad koji sadrži jednu ili više supstanci koje su klasifikovane kao akutno toksične po vodenu životnu sredinu i kojima je dodeljeno obaveštenje o opasnosti H400 u skladu sa propisima kojima se uređuje klasifikacija, pakovanje i obeležavanje hemikalija i određenih proizvoda, a zbir njihovih koncentracija dostiže ili premašuje vrednost granične koncentracije od 25%. Na ove supstance primenjuje se granična vrednost koja se uzima u obzir pri proceni opasnosti u pogledu klasa opasnosti akutne toksičnosti po vodenu životnu sredinu od 0,1%.
[Σ c (H400) ≥ 25%]
- otpad koji sadrži jednu ili više supstanci koje su klasifikovane kao hronično toksične po vodenu životnu sredinu kategorija 1, 2 ili 3. i kojima je dodeljeno jedno ili više od sledećih obaveštenja o opasnosti: H410, H411 ili H412 u skladu sa propisima kojima se uređuje klasifikacija, pakovanje i obeležavanje hemikalija i određenih proizvoda, a čiji zbir koncentracija svih supstanci koje su klasifikovane kao hroničn opasne po vodenu životnu sredinu, kategorije 1 (H410) pomnožen sa 100, dodat zbiru koncentracija svih supstanci koje su klasifikovane kao hronično opasne po vodenu životnu sredinu, kategorije 2 (H411) pomnoženom sa 10 i dodat zbiru koncentracija svih supstanci koje su klasifikovane kao hronično opasne po vodenu životnu sredinu, kategorije 1 (H410) jednak ili veći od vrednosti granične koncentracije od 25%. Granična vrednost koja se primenjuje na supstance kome je dodeljeno obaveštenje o opasnosti H410 iznosi 0,1%, dok granična vrednost od 1% se primjenjuje na supstance kojima su dodeljena obaveštenja o opasnosti H411 ili H412.
[100 × Σc (H410) + 10 × Σc (H411) + Σc (H412) ≥ 25%]
- otpad koji sadrži jednu ili više supstanci koje su klasifikovane kao hronično toksične po vodenu životnu sredinu kategorija 1, 2 ili 3. i kojima je dodeljeno jedno ili više od sledećih obaveštenja o opasnosti: H410, H411 ili H412 u skladu sa propisima kojima se uređuje klasifikacija, pakovanje i obeležavanje hemikalija i određenih proizvoda, a čiji je zbir koncentracija svih supstanci koje su klasifikovane kao hronično toksične po vodenu životnu sredinu jednak ili veći od vrednosti granične koncentracije od 25%. Granična vrednost koja se primenjuje na supstance kome je dodeljeno obaveštenje o opasnosti H410 iznosi 0,1%, dok granična vrednost od 1% se primjenjuje na supstance kojima su dodeljena obaveštenja o opasnosti H411, H412 ili H413.
[Σ c (H410) + Σ c (H411) + Σ c (H412) + Σ c (H413) ≥ 25%]
Pri čemu je: Σ = zbir i c = pojedinačna koncentracija supstance u otpadu.
HP 15 "Otpad koji može ispoljavati neka od opasnih svojstava iz HP oznaka (HP 1 - 14) a koja prvobitno nije ispoljavao".
Otpad koji sadrži jednu ili više supstanci kojima je dodeljeno jedno od obaveštenje o opasnosti ili dodatno obaveštenje o opasnosti (H205, EUH001, EUH019 ili EUH044) navedenih u Tabeli 9. klasifikuje se kao opasan oznakom HP 15, osim ako je otpad u takvom obliku da ni pod kojim uslovima ne može ispoljiti eksplozivna ili potencijalno eksplozivna svojstva.
Tabela 9: Obaveštenje o opasnosti i dodatno obaveštenje o opasnosti za sastojke otpada u vezi njegove klasifikacije kao opasnog oznakom HP 15:
Obaveštenje o opasnosti / |
|
Može masovno eksplodirati u požaru |
H205 |
Ekspolozivno kada se osuši |
EUH001 |
Može da obrazuje eksplozivne perokside |
EUH019 |
Rizik od eksplozije ako se zagreva u zatvorenom prostoru |
EUH044 |
Metode ispitivanja:
Metode koje se koriste za ispitivanje propisane su propisom kojima se uređuju metode ispitivanja opasnih svojstava hemikalija u skladu sa Pravilnikom o metodama ispitivanja opasnih svojstava hemikalija ("Službeni glasnik RS", broj 117/13) odnosno Intituta za standardizaciju Srbije i drugim relevantnim napomenama Evropskog komiteta za standardizaciju ili drugim međunarodno priznatim metodama ispitivanja i smernicama.
OZNAKE OPASNOSTI ZA H LISTU
O1 : H3-B, H4, H5, H6, H7, H8, H12, H13, H14 |
V1 : H4, H5, H6, H7, H8, H10, H11, |
V68 : H3-B, H4, H5, H6, H7, H8 |
OZNAKA |
OPIS |
D1 |
Deponovanje otpada u zemljište ili na zemljište (npr. deponije i dr.), osim u šumi, na šumskom zemljištu i na udaljenosti manjoj od 200 m od ruba šume |
D2 |
Izlaganje otpada procesima na zemljištu ili u zemljištu (npr. biodegradacija tečnog otpada ili muljeva u zemljištu) |
D3 |
Duboko ubrizgavanje (npr. deponovanje vrsta otpada koje se pumpama mogu ubrizgavati u bunare, napuštene rudnike soli ili prirodne depoe) |
D4 |
Površinsko deponovanje (npr. deponovanje tečnih ili muljevitih vrsta otpada u jame, bazene ili lagune itd.) |
D5 |
Odlaganje otpada u posebno projektovane deponije (npr. odlaganje otpada u linearno poređane pokrivene kasete, međusobno izolovane i izolovane od životne sredine) |
D6 |
Ispuštanje otpada u kopnene vode, osim u mora, odnosno okeane |
D7 |
Ispuštanje otpada u mora, odnosno okeane, uključujući utiskivanje u morsko dno |
D8 |
Biološki tretman koji nije naznačen na drugom mestu u ovoj listi, a čiji su konačni proizvodi jedinjenja ili smeše koje se odbacuju u bilo kojoj od operacija od D1 do D12 |
D9 |
Fizičko-hemijski tretman koji nije naznačen na drugom mestu u ovoj listi, a čiji su konačni proizvodi jedinjenja ili smeše koje se zbrinjavaju bilo kojim postupkom od D1 do D12 (npr. isparavanje, sušenje, kalcinacija) |
D10 |
Spaljivanje (insineracija) na tlu |
D11 |
Spaljivanje (insineracija) na moru |
D12 |
Trajno skladištenje otpada (na primer smeštanje u rudnike) |
D13 |
Mešanje otpada pre podvrgavanja bilo kojoj od operacija od D1 do D12 |
D14 |
Prepakivanje otpada pre podvrgavanja bilo kojoj od operacija od D1 do D13 |
D15 |
Skladištenje otpada koje prethodi bilo kojoj od operacija od D1 do D14 (izuzimajući privremeno skladištenje, tokom sakupljanja, na mestu gde je proizveden otpad) |
1. OPERACIJE PONOVNOG ISKORIŠĆENJA (R LISTA)
OZNAKA |
OPIS |
R1 |
Korišćenje otpada prvenstveno kao goriva ili drugog sredstva za proizvodnju energije |
R2 |
Regeneracija/prerada rastvarača |
R3 |
Recikliranje/prerada organskih materija koji se ne koriste kao rastvarači (uključujući kompostiranje i ostale procese biološke transformacije) |
R4 |
Recikliranje/prerada metala i jedinjenja metala |
R5 |
Recikliranje/prerada drugih neorganskih materijala |
R6 |
Regeneracija kiselina ili baza |
R7 |
Obnavljanje komponenata koje se koriste za smanjenje zagađenja |
R8 |
Obnavljanje komponenata katalizatora |
R9 |
Re-rafinacija ili drugi način ponovnog iskorišćenja otpadnog ulja |
R10 |
Izlaganje otpada procesima u zemljištu koji imaju korist za poljoprivredu ili ekološki napredak |
R11 |
Korišćenje otpada dobijenog bilo kojom operacijom od R1 do R10 |
R12 |
Promene radi podvrgavanja otpada bilo kojoj od operacija od R1 do R11 |
R13 |
Skladištenje otpada namenjenih za bilo koju operaciju od R1 do R12 (isključujući privremeno skladištenje otpada na lokaciji njegovog nastanka). |
(*) Ovo uključuje spalionice čvrstog komunalnog otpada, samo ako je njihova energetska efikasnost jednaka ili iznad:
- 0,60 za postrojenja u radu i sa dozvolom za rad do 1. januara 2009. godine,
- 0,65 za postrojenja, sa dozvolom nakon 31. decembra 2008.godine, koristeći sledeću formulu:
Energetska efikasnost = (Ep - (Ef + Ei)) / (0,97 × (Ew + Ef))
gde je:
Ep - godišnja energija koja je proizvedena kao toplotna ili električna energija. Sračunata je kao energija u formi električne pomnoženom sa 2,6 i toplotne koja je proizvedena za komercijalnu upotrebu pomnožena sa 1,1 (GJ/ godišnje).
Ef - godišnji energetski unos u sistem iz goriva koja doprinose proizvodnji pare (GJ/godišnje).
Ew - godišnja energija sadržana u prerađenom otpadu, koja se izračunava pomoću neto toplotne vrednosti otpada (GJ/godišnje).
Ei - godišnje uvezena energija, isključujući Ew i Ef (GJ/godišnje).
0,97 - faktor koji se odnosi na energetske gubitke u pepelu na dnu i radijaciji.
Ova formula se upotrebljava u skladu sa referentnim dokumentom o najboljim dostupnim tehnikama za spaljivanje otpada.
Vrednost formule za energetsku efikasnost množi se s klimatskim korekcionim faktorom (CCF) kako je prikazano:
1. CCF za postrojenja u funkciji i sa dozvolom izdatom u skladu s važećim zakonodavstvom Unije pre 1. septembra 2015.
CCF = 1 ako je HDD >= 3350
CCF = 1,25 ako je HDD <= 2150
CCF = - (0,25/1200) × HDD + 1,698 kada je 2150 < HDD < 3350
2. CCF za postrojenja sa dozvolom izdatom nakon 31. avgusta 2015. i za postrojenja iz tačke 1. posle 31. decembra 2029.:
CCF = 1 ako je HDD >= 3350
CCF = 1,12 ako je HDD <= 2150
CCF = - (0,12/1 200) × HDD + 1,335 kada je 2150 < HDD < 3350
(Dobijena vrednost CCF-a zaokružuje na tri decimalna mesta).
Vrednost HDD-a (stepen dana grejanja) se računa kao prosečna vrednost HDD -a za lokaciju postrojenja za spaljivanje, proračunata za period od dvadeset uzastopnih godina pre godine za koju je proračunat CCF. Za proračun vrednosti HDD -a koristi se sledeća metoda koju je utvrdio Eurostat:
HDD je jednak (18°C - Tm) × d ako je Tm niži od ili jednak 15°C (prag grejanja), a nula ako je Tm viši od 15°C, gde je Tm prosečna (Tmin + Tmax/2) spoljašnja temperatura u periodu od d dana. Proračuni se vrše na dnevnoj bazi (d = 1) pa se sabiraju za godinu.
(**) Ovo uključuje gasifikaciju i pirolizu koristeći komponente kao hemikalije.
(***) Ovo uključuje čišćenje zemljišta koje dovodi do njegovog obnavljanja i recikliranja neorganskih građevinskih materijala
(****) Ukoliko nema druge odgovarajuće R oznake, ovo može uključiti pripremne operacije koje prethode operacijama ponovnog iskorišćenja, uključujući i prethodnu preradu kao što su, između ostalog, demontaža, sortiranje, drobljenje, sabijanje, baliranje, sušenje, sečenje, pripremanje, prepakivanje, odvajanje ili mešanje pre prijavljivanja za bilo koju operaciju koja je navedena od R1 do R11.
R LISTA
OPERACIJE ISKORIŠĆENJA OTPADA
OZNAKA |
OPIS OTPADA |
R1 |
Korišćenje otpada prvenstveno kao goriva ili drugog sredstva za proizvodnju energije* |
R2 |
Regeneracija/prerada rastvarača |
R3 |
Recikliranje/prerada organskih materija koji se ne koriste kao rastvarači (uključujući kompostiranje i ostale procese biološke transformacije)** |
R4 |
Recikliranje/prerada metala i jedinjenja metala |
R5 |
Recikliranje/prerada drugih neorganskih materijala*** |
R6 |
Regeneracija kiselina ili baza |
R7 |
Obnavljanje komponenata koje se koriste za smanjenje zagađenja |
R8 |
Obnavljanje komponenata katalizatora |
R9 |
Re-rafinacija ili drugi način ponovnog iskorišćenja otpadnog ulja |
R10 |
Izlaganje otpada procesima u zemljištu koji imaju korist za poljoprivredu ili ekološki napredak |
R11 |
Korišćenje otpada dobijenog bilo kojom operacijom od R1 do R10 |
R12 |
Promene radi podvrgavanja otpada bilo kojoj od operacija od R1 do R11**** |
R13 |
Skladištenje otpada namenjenih za bilo koju operaciju od R1 do R12 (isključujući privremeno skladištenje otpada na lokaciji njegovog nastanka) |
|
Ovo uključuje spalionice čvrstog komunalnog otpada, samo ako je njihova energetska efikasnost jednaka ili iznad: |
- 0,60 za postrojenja u radu i sa dozvolom za rad do 1. januara 2009. godine, |
|
- 0,65 za postrojenja, sa dozvolom nakon 31. decembra 2008. godine, |
|
koristeći sledeću formulu: |
|
Energetska efikasnost = (Ep - (Ef + Ei)) / (0,97 x (Ew + Ef)) |
|
u kojoj je: |
|
Ep - godišnja energija koja je proizvedena kao toplotna ili električna energija. Sračunata je kao energija u formi električne pomnoženom sa 2,6 i toplotne koja je proizvedena za komercijalnu upotrebu pomnožena sa 1,1 (GJ/ godišnje). |
|
Ef - godišnji energetski unos u sistem iz goriva koja doprinose proizvodnji pare (GJ/godišnje). |
|
Ew - godišnja energija sadržana u prerađenom otpadu, koja se izračunava pomoću neto toplotne vrednosti otpada (GJ/godišnje). |
|
Ei - godišnje uvezena energija, isključujući Ew i Ef (GJ/godišnje). |
|
0,97 - faktor koji se odnosi na energetske gubitke u pepelu na dnu i radijaciji. |
|
Ova formula se upotrebljava u skladu sa referentnim dokumentom o najboljim dostupnim tehnikama za spaljivanje otpada. |
|
(**) |
Ovo uključuje gasifikaciju i pirolizu koristeći komponente kao hemikalije. |
(***) |
Ovo uključuje čišćenje zemljišta koje dovodi do njegovog obnavljanja i recikliranja neorganskih građevinskih materijala. |
(****) |
Ukoliko nema druge odgovarajuće R oznake, ovo može uključiti pripremne operacije koje prethode operacijama ponovnog iskorišćenja, uključujući i prethodnu preradu kao što su, između ostalog, demontaža, sortiranje, drobljenje, sabijanje, baliranje, sušenje, sečenje, pripremanje, prepakivanje, odvajanje ili mešanje pre prijavljivanja za bilo koju operaciju koja je navedena od R1 do R11. |
GRANIČNE VREDNOSTI KONCENTRACIJE OPASNIH KOMPONENTI U OTPADU NA OSNOVU KOJIH SE ODREĐUJU KARAKTERISTIKE OTPADA
(SVOJSTVA OTPADA KOJA GA KARAKTERIŠU KAO OPASAN OTPAD)
(Brisan)
LISTA PARAMETARA ZA ODREĐIVANJE FIZIČKO-HEMIJSKIH OSOBINA OPASNOG OTPADA NAMENJENOG ZA FIZIČKO-HEMIJSKI TRETMAN
U opasnom otpadu namenjenom za fizičko-hemijski tretman ispituje se posebno:
Red. br. |
U otpadu koji sadrži pretežno organske supstance |
U otpadu koji sadrži pretežno neorganske supstance |
|
Za otpad koji sadrži pretežno organske supstance |
Za otpad koji sadrži pretežno neorganske supstance |
1. |
Senzorska svojstva (miris, boja, konzistencija, fizička forma) |
Senzorska svojstva (miris, boja, konzistencija, fizička forma) |
2. |
pH vrednost |
pH vrednost |
3. |
Sadržaj ukupnih ugljovodonika (ulja) |
Elektroprovodljivost |
4. |
Sadržaj vode, odnosno vlage |
Sadržaj ukupnih ugljovodonika (ulja) |
5. |
Sadržaj policikličnih aromatičnih ugljovodonika |
Sadržaj vode, odnosno vlage |
6. |
Sadržaj fenola |
Sadržaj nitrita |
7. |
Sadržaj ukupnih halogena |
Sadržaj lako oslobodivih cijanida pri pH≥7 |
8. |
Sadržaj polihlorovanih bifenila |
Sadržaj hroma (VI) |
9. |
Sadržaj lako oslobodivih cijanida pri pH≥7 |
Sadržaj teških metala: Hrom Cr, Kadmijum Cd, Nikl Ni, Živa Hg, Olovo Pb |
10. |
Sadržaj teških metala: Hrom Cr, Kadmijum Cd, Nikl Ni, Živa Hg, Olovo Pb |
|
|
Napomena: Operater koji upravlja postrojenjem za fizičko - hemijski tretman opasnog otpada može zahtevati dodatna ispitivanja otpada, kao što su sadržaj nitrita, saponifikacioni broj, EOX - halogena organska jedinjenja koja se mogu ekstrahovati, kao Cl i drugo. |
Napomena: Operater koji upravlja postrojenjem za fizičko - hemijski tretman opasnog otpada može zahtevati dodatna ispitivanja otpada, kao što su sadržaj ukupnih halogena, sadržaj fosfata, i drugo. |
Minimalni kriterijumi za odlaganje granulisanog otpada ili monolitnog otpada
1. Odlaganje na deponiju opasnog otpada
Parametar |
Granična vrednost koncentracije u granulisanom otpadu |
Gubitak žarenjem (LOI) |
10% |
Ukupni organski ugljenik (TOC) |
6% |
Kapacitet neutralizacije kiseline (ANC) |
Mora se proceniti |
|
Granična vrednost koncentracije u procednoj tečnosti u mg/kg dm* |
Antimon, Sb |
5 |
Arsen, As |
25 |
Bakar, Cu |
100 |
Barijum, Ba |
300 |
Živa, Hg |
2 |
Kadmijum, Cd |
5 |
Molibden, Mo |
30 |
Nikl, Ni |
40 |
Olovo, Pb |
50 |
Selen, Se |
7 |
Hrom ukupni, Cr |
70 |
Cink, Zn |
200 |
Ostatak isparavanja na 105°C |
100000 |
Rastvorni organski ugljenik (DOC) |
1000 |
Sulfati (SO42-) |
50000 |
Fluoridi (F-) |
500 |
Hloridi (Cl-) |
25000 |
|
Granična vrednost koncentracije u procednoj tečnosti u mg/m2kg dm (monolitni otpad)*** |
Antimon, Sb |
2.5 |
Arsen, As |
20 |
Bakar, Cu |
60 |
Barijum, Ba |
150 |
Živa, Hg |
0.4 |
Kadmijum, Cd |
1 |
Molibden, Mo |
20 |
Nikl, Ni |
15 |
Olovo, Pb |
20 |
Selen, Se |
5 |
Hrom ukupni, Cr |
25 |
Cink, Zn |
100 |
Rastvorni organski ugljenik (DOC) |
Mora se proceniti |
Sulfati (SO42-) |
20000 |
Fluoridi (F-) |
200 |
Hloridi (Cl-) |
20000 |
|
Dodatne vrednosti koncentracije u monolitnom otpadu |
pH |
Mora se proceniti |
Kapacitet neutralizacije kiseline (ANC) |
Mora se proceniti |
Elektroprovodljivost, µS/cm na 20°C/m2 |
Mora se proceniti |
* |
dm - suva masa |
** |
Odnosi se na granulisani ili lomljeni monolitni otpad. Testovi izluživanja se vrše prema sledećim standardima: |
*** |
Testovi izluživanja za monolitni otpad se vrše prema standardu NEN 7345 Leaching Characteristics of Soil and Stony Building and Waste Materials - Leaching Tests - Determination of the Leaching of Inorganic Components from Building and Monolithic Waste Materials with the Diffusion Test. Granične vrednosti koncentracije su date u odnosu na test od 64 dana, ali je moguće koristiti kraći test u prva četiri koraka, pri čemu su granične vrednosti koncentracije četvrtina od vrednosti koncentracija za pojedine parametre, datih u tabeli. |
2. Odlaganje nereaktivnog opasnog otpadaa na deponije neopasnog otpada u kasete koje se ne koriste za odlaganje biodegradabilnog otpada
Parametar |
Granična vrednost koncentracije u granularnom otpadu |
Ukupni organski ugljenik (TOC) |
5% |
pH |
Minimum 6 |
Kapacitet neutralizacije kiseline (ANC) |
Mora se proceniti |
|
Granična vrednost koncentracije u procednoj tečnosti u mg/kg dm* |
Antimon, Sb |
0.7 |
Arsen, As |
2 |
Bakar, Cu |
50 |
Barijum, Ba |
100 |
Živa, Hg |
0.2 |
Kadmijum, Cd |
1 |
Molibden, Mo |
10 |
Nikl, Ni |
10 |
Olovo, Pb |
10 |
Selen, Se |
0.5 |
Hrom ukupni, Cr |
10 |
Cink, Zn |
50 |
Ostatak isparavanja na 105°C |
60000 |
Rastvorni organski ugljenik (DOC) |
800 |
Sulfati (SO42-) |
20000 |
Fluoridi (F-) |
150 |
Hloridi (Cl-) |
15000 |
|
Granična vrednost koncentracije u procednoj tečnosti u mg/m2kg dm (monolitni otpad)*** |
Antimon, Sb |
0.3 |
Arsen, As |
1.3 |
Bakar, Cu |
45 |
Barijum, Ba |
45 |
Živa, Hg |
0.1 |
Kadmijum, Cd |
0.2 |
Molibden, Mo |
7 |
Nikl, Ni |
6 |
Olovo, Pb |
6 |
Selen, Se |
0.4 |
Hrom ukupni, Cr |
5 |
Cink, Zn |
30 |
Rastvorni organski ugljenik (DOC) |
Mora se proceniti |
Sulfati (SO42-) |
10000 |
Fluoridi (F-) |
60 |
Hloridi (Cl-) |
10000 |
|
Dodatne vrednosti koncentracije u monolitnom otpadu |
pH |
Mora se proceniti |
Kapacitet neutralizacije kiseline (ANC) |
Mora se proceniti |
Elektroprovodljivost, µS/cm na 20°C/m2 |
Mora se proceniti |
a |
nereaktivni opasan otpad je opasan otpad kod koga se ponašanje pri izluživanju ne menja na gore u dužem vremenskom periodu, pri uslovima koji su prisutni na deponiji ili mogućem akcidentu: u samom otpadu, usled uticaja spoljnih faktora (temperatura, vazduh ili slično), uticajem drugih otpada uključujući i proizvode odlaganja otpada: gas sa deponije i procedne vode). |
* |
dm - suva masa |
** |
Odnosi se na granulisani ili lomljeni monolitni otpad. Testovi izluživanja se vrše prema sledećim standardima: |
|
EN 12457-2:2002 Characterization of waste-Leaching - Compliance test for leaching of granular waste materials and sludges - Part 2: One stage batch test at a liquids to solid ratio of 10 l/kg for materials with particle size below 4 mm (without or with size reduction), |
|
EN 12457-4:2002 Characterization of waste-Leaching - Compliance test for leaching of granular waste materials and sludges - Part 4: One stage batch test at a liquids to solid ratio of 10 l/kg for materials with particle size below 10 mm (without or with size reduction). |
*** |
Testovi izluživanja za monolitni otpad se vrše prema standardu NEN 7345 Leaching Characteristics of Soil and Stony Building and Waste Materials - Leaching Tests - Determination of the Leaching of Inorganic Components from Building and Monolithic Waste Materials with the Diffusion Test. Vrednosti granične vrednosti koncentracije su date u odnosu na test 64 dana, ali je moguće koristiti kraći test u prva četiri koraka, pri čemu su granične vrednosti koncentracije četvrtina od vrednosti koncentracija za pojedine parametre, datih u tabeli. |
|
Pored parametara datih u tabeli moguće je ispitivati i druge parametre koji se mogu naći u otpadu kao što su zagađujuće materije, a koji su značajni sa aspekta procene rizika. |
LISTA PARAMETARA ZA ISPITIVANJE OTPADA ZA POTREBE TERMIČKOG TRETMANA
1. U otpadu namenjenom termičkom tretmanu insineracijom ili ko-insineracijom ispituje se posebno:
- senzorska svojstva,
- temperatura paljenja,
- kalorijska vrednost (MJ/kg),
- sadržaj vode, odnosno vlage,
- sadržaj pepela,
- sadržaj ukupnih halogena izraženo kao hlor (Cl),
- sadržaj sumpora (S),
- sadržaj polihlorovanih bifenila (PCB),
- sadržaj teških metala: arsen (As), antimon (Sb), bakar (Cu), berilijum (Be), vanadijum (V), živa (Hg), kadmijum (Cd), kalaj (Sn), kobalt (Co), nikl (Ni), olovo (Pb), talijum (Ta), hrom (Cr) i cink (Zn).
2. Operater koji upravlja postrojenjem za termički tretman otpada može zahtevati dodatna ispitivanja otpada kao što su sadržaj halognih supstanci pojedinačno (Cl, F, Br, I), sadržaj cijanida, viskozitet, gustina, mehanička onečišćenja, sadržaj makro elemenata (SiO2, Al2O3, Fe2O3, CaO, MgO, TiO2, Mn2O3, K2O) i drugo.
3. Granične vrednosti pojedinih komponenti u otpadu za su - spaljivanje
Parametar |
Jedinica |
Granična vrednost u otpadu koji je sagorljiv |
Granična vrednost u otpadu koji se suspaljuje kao alternativno gorivo |
Granična vrednost u otpadu koji se suspaljuje radi energetskog ponovnog iskorišćenja |
Granična vrednost u otpadu koji se suspaljuje radi materijalnog iskorišćenja alternativni sirovinski materijal |
|
Otpaci i ostaci od plastike, papira, drveta, tekstila - visoko kalorijska frakcija iz komunalnog otpada |
Otpad od korišćenja ulja, rastvarača, lakova |
|||||
Kalorijska vrednost |
MJ/kg |
- |
>8 |
>8 |
>8 |
- |
Ukupni sumpor, S |
% |
- |
3 |
- |
- |
1 |
Ukupni hlor, Cl |
% |
12 |
2 |
2 |
- |
- |
Ukupni fluor, F, brom, Br i jod, J |
% |
- |
0.5 |
0.5 |
0.5 |
- |
Ukupni halogeni izraženi kao hlor, Cl |
% |
- |
2 |
2 |
2 |
0.5 |
Arsen, As |
mg/kg |
152 |
152 |
15 |
20 |
20 |
Antimon, Sb |
mg/kg |
52 |
52 |
20 (200)1 |
100 |
1 |
Bakar, Cu |
mg/kg |
1002 |
1002 |
500 |
500 |
100 |
Barijum, Ba |
mg/kg |
- |
2002 |
- |
- |
600 |
Berilijum, Be |
mg/kg |
52 |
52 |
2 |
2 |
3 |
Vanadijum, V |
mg/kg |
1002 |
1002 |
25 |
10 |
200 |
Živa, Hg |
mg/kg |
0.52 |
0.52 |
2 |
2 |
0.5 |
Kadmijum, Cd |
mg/kg |
22 |
22 |
10 |
10 |
0.8 |
Kalaj, Sn |
mg/kg |
102 |
102 |
70 |
100 |
50 |
Kobalt, Co |
mg/kg |
202 |
202 |
100 |
25 |
30 |
Nikl, Ni |
mg/kg |
1002 |
1002 |
200 |
100 |
100 |
Olovo, Pb |
mg/kg |
2002 |
2002 |
500 |
800 |
50 |
Telur, Tl |
mg/kg |
32 |
32 |
10 |
5 |
1 |
Hrom ukupan, Cr |
mg/kg |
1002 |
1002 |
300 |
300 |
100 |
Cink, Zn |
mg/kg |
4002 |
4002 |
- |
- |
400 |
PCB |
mg/kg |
502 |
30 |
30 |
50 |
- |
Viskozitet na 20 ºC - odnosi se na otpadna ulja |
cp |
- |
250 |
- |
- |
- |
|
_______________ |
Nezavisno od toga da li su ispoštovane utvrđene granične vrednosti date u ovom prilogu i posebnim propisom kojim se uređuje spaljivanje otpada, dozvoljeno je odstupanje od graničnih vrednosti datih u tabeli, samo ako se ograničenjem količina korišćenog otpada obezbedi da ne dođe do značajnog pogoršanja emisija, što operater dokazuje u skladu sa posebnim propisom.
LISTA PARAMETARA ZA ISPITIVANJE OTPADA ZA ODLAGANJE
1. Parametri za ispitivanje toksičnih karakteristika otpada namenjenog odlaganju
Parametar |
Granična vrednost koncentracije u mg/l |
Antimon, Sb |
15 |
Arsen, As |
5 |
Barijum, Ba |
100 |
Bakar, Cu |
25 |
Vanadijum, V |
24 |
Živa, Hg |
0.2 |
Kadmijum, Cd |
1 |
Molibden, Mo |
350 |
Nikl, Ni |
20 |
Olovo, Pb |
5 |
Selen, Se |
1 |
Srebro, Ag |
5 |
Hrom ukupni, Cr |
5 |
Cink, Zn |
250 |
Benzen |
0.5 |
Vinil hlorid |
0.2 |
2,4 - D (hlorovana fenoksi jedinjenja: estri, amini, soli) |
10 |
DDT |
0.1 |
1,4 - Dihlorbenzen |
7.5 |
1,2 - Dihloroetan |
0.5 |
1,1 - Dihloroetilen |
0.7 |
2,4 - Dinitrotoluen |
0.13 |
Endrin |
0.02 |
o-krezol |
200 |
m-krezol |
200 |
p-krezol |
200 |
Krezol ukupni |
200 |
Lindan |
0.4 |
Metil etil keton |
200 |
Metoksihlor |
10 |
Nitrobenzen |
2 |
PCB |
5 |
Pentahlorfenol |
100 |
Piridin |
5 |
Tetrahloretilen |
0.7 |
Trihloretilen |
0.5 |
2,4,5 - Trihlorfenol |
400 |
2,4,6 - Trihlorfenol |
2 |
Toxaphen |
0.5 |
2,4,5 - TP (hlorovane fenoksi kiseline) |
1 |
Ugljentetrahlorid |
0.5 |
Heptahlor i epoksidi |
0.008 |
Heksahlorbenzen |
0.13 |
Heksahlor -1,3- butadien |
0.5 |
Heksahloretan |
3 |
Hlordan |
0.03 |
Hlorbenzen |
100 |
Hloroform |
6 |
Napomena: Test toksičnosti se vrši prema metodi Method 1311 Toxicity Characteristic Leaching Procedure (TCLP), "Test Methods for Evaluating Solid Waste, Physical/Chemical Methods", US EPA Publication SW-846
2. Parametri za ispitivanje otpada i procednih voda iz deponija inertnog, neopasnog ili opasnog otpada
Parametar |
Deponija inertnog otpada |
Deponija neopasnog otpada |
Deponija opasnog otpada |
Parametri koji se odnose na otpad |
|||
pH vrednost |
|
>6 |
|
Ukupni organski ugljenik (m/m %) |
3 |
5 |
6 |
Gubitak žarenjem (LOI) (%) |
|
|
10% |
BTEX (mg/kg) |
6 |
|
|
PCBs (7 kongenera) (mg/kg) |
1 |
|
|
Mineralna ulja C10-C40 (mg/kg) |
500 |
|
|
PAHs (policiklični aromatični ugljovodonici)** (mg/kg) |
100 |
|
|
Kapacitet neutralizacije kiseline (ANC) |
|
Mora se proceniti |
Mora se proceniti |
Granične vrednosti koncentracija u procednoj tečnosti prema testovima izluživanja L/S = 10 l/kg*** |
|||
Antimon, Sb |
0.06 |
0.7 |
5 |
Arsen, As |
0.5 |
2 |
25 |
Bakar, Cu |
2 |
50 |
100 |
Barijum, Ba |
20 |
100 |
300 |
Živa, Hg |
0.01 |
0.2 |
2 |
Kadmijum, Cd |
0.04 |
1 |
5 |
Molibden, Mo |
0.5 |
10 |
30 |
Nikl, Ni |
0.4 |
10 |
40 |
Olovo, Pb |
0.5 |
10 |
50 |
Selen, Se |
0.1 |
0.5 |
7 |
Hrom ukupni, Cr |
0.5 |
10 |
70 |
Cink, Zn |
4 |
50 |
200 |
Indeks fenola |
1 |
|
|
Ostatak isparenja na 105°C (TDS) |
4000 |
60000 |
100000 |
Rastvorni organski ugljenik (DOC) pri svom pH ili pH 7.5-8.0 |
500 |
800 |
1000 |
Sulfati, SO42- |
1000 |
20000 |
50000 |
Fluoridi, F- |
10 |
150 |
500 |
Hloridi, Cl- |
800 |
15000 |
25000 |
_______________
* |
odlaganje neopasnog otpada u kaseti sa stabilnim nereaktivnim opasnim otpadom i odlaganje granulisanog opasnog otpada koji je prihvatljiv na deponiji neopasnog otpada |
** |
PAH - ukupno 17 |
*** |
L/S - odnos tečne L prema čvrstoj S fazi. Testovi izluživanja se vrše prema sledećim standardima: EN 12457-2:2002 Characterization of waste-Leaching - Compliance test for leaching of granular waste materials and sludges - Part 2: One stage batch test at a liquid to solid ratio of 10 l/kg for materials with particle size below 4 mm (without or with size reduction), EN 12457-4:2002 Characterization of waste-Leaching - Compliance test for leaching of granular waste materials and sludges - Part 4: One stage batch test at a liquid to solid ratio of 10 l/kg for materials with particle size below 10 mm (without or with size reduction). |
Napomena: Pored parametara datih u tabelama moguće je ispitivati i druge parametre koje je moguće naći u otpadu ili procednoj tečnosti, a koji mogu biti zagađujuće materije značajne sa aspekta procene rizika u odnosu na životnu sredinu i na zdravlje ljudi.
IZVEŠTAJ O ISPITIVANJU OTPADA
Naziv i adresa. broj telefona. faksa i e-mail-a ovlašćene stručne organizacije za ispitivanje otpada koja je vršila ispitivanje: |
|
Ovlašćenje za ispitivanje |
otpada br. ____ od ____________ |
||
izdato od ____________________ |
(Mesto predviđeno |
IZVEŠTAJ O |
(Mesto predviđeno za logo |
||||||
|
Broj: Datum: |
|||||||
Podaci o podnosiocu zahteva |
||||
Naziv podnosioca zahteva: |
||||
Adresa: |
||||
Lice za kontakt: |
Tel: |
Faks: |
e-mail: |
|
A. Opšti podaci: |
|
|
|
|
1. |
Naziv otpada: |
|||
2. |
Proizvođač otpada: |
|||
3. |
Vlasnik otpada: |
|||
3. |
Opis postupka nastanka otpada: |
|||
4. |
Identifikacioni broj uzorka otpada: |
|||
5. |
Količina otpada od koje je izvršeno uzorkovanje: |
|||
6. |
Fizičko svojstvo otpada: |
|||
|
1. prah |
|
|
|
B. Klasifikacija otpada |
|
1. |
Kategorija otpada prema Listi kategorija otpada (Q lista): |
2. |
Indeksni broj otpada prema Katalogu otpada: |
|
Karakter otpada opasan/neopasan/inertan: |
4. |
Y oznaka prema Listi kategorija ili srodnih tipova opasnog otpada prema |
5. |
S oznaka prema Listi komponenti otpada koje ga čine opasnim (S lista): |
6. |
NR oznaka prema Listi opasnih karakteristika otpada (N lista): |
7. |
Klasa i kategorija opasnosti i obaveštenje o opasnosti supstanci i smeša koje |
8. |
Napomena: |
GPS koordinate |
N ° ' '' |
|
EO ° ' '' |
||
C. Podaci o uzorku |
||||||
Naziv otpada: |
||||||
Lokacija sa koje je uzet uzorak: |
||||||
|
||||||
Identifikacioni broj uzorka: |
||||||
Uzorkovanje izvršio: |
Datum i vreme: |
|||||
Način i metoda uzorkovanja: |
||||||
Datum i vreme prijema uzorka na ispitivanje: |
||||||
Ostali podaci o uzorku (ako je relevantno); |
||||||
Napomene: (upisuju se podaci o nesprovedenim ispitivanjima ili se na drugi način odstupilo od zahteva za ispitivanje. Ako je deo ispitivanja obavio podugovarač navodi se da je sastavni deo ovog izveštaja izveštaj o ispitivanju Laboratorije koja je vršila podugovorena ispitivanja, navodi se ime podugovarača i broj izveštaja o ispitivanju Laboratorije koja je vršila ispitivanja) |
||||||
Rezultati fizičko-hemijskih, hemijskih I bioloških ispitivanja otpada
Parametar |
Nađena vrednost |
Referentna vrednost |
Oznaka metode |
|
|
|
|
|
|
|
|
Napomena:
(upisati posebno naznačena dokumenta I nazive pravilnika po kojima je vršeno ispitivanje I ostale napomene značajne za vrstu ispitivanja, ako je relevantno)
Mesto i datum završetka ispitivanja:
Izvršio merenja: |
|
Overio merenje: |
Potpis: _______________ |
|
_________________ |
Potpis: _______________ |
|
|
Potpis: _______________ |
|
|
Mesto i datum izrade Izveštaja:
Izveštaj uradio: |
|
Odgovorno lice: |
_______________ |
|
_________________ |
KLASIFIKACIJA OTPADA ZA PREKOGRANIČNO KRETANJE
Naziv i adresa, broj telefona, faksa i e-mail-a ovlašćene stručne organizacije za ispitivanje otpada koja je vršila ispitivanja: |
Ovlašćenje za ispitivanje |
KLASIFIKACIJA OTPADA ZA PREKOGRANIČNO KRETANJE |
1) Mesto predviđeno za logo Ovlašćene stručne organizacije za ispitivanje otpada |
||||||||||||||||
|
3)Broj: |
||||||||||||||||
4) Naziv otpada:
5) Podaci o podnosiocu zahteva:
6) Naziv podnosioca zahteva:
7) Adresa:
8) Lice za kontakt: |
9) Tel: |
10) Faks: |
11) e-mail: |
A. Opšti podaci: |
|
1. |
Izvoznik otpada: |
2. |
Uvoznik otpada: |
3. |
Posrednik u tranzitu otpada: |
4. |
Planirani prevoznik: |
5. |
Proizvođač otpada: |
6. |
Opis postupka nastanka otpada: |
7. |
Odlagač/prerađivač otpada: |
8. |
Ukupna količina otpada predviđena za uvoz, izvoz, tranzit: |
9. |
Zemlja izvoza: |
10. |
Zemlja/zemlje tranzita: |
11. |
Zemlja uvoza: |
12. |
Predviđen period za izvoz, tranzit, uvoz: |
13. |
Način transporta: |
14. |
Pakovanje: |
B. Podaci o otpadu |
|
1. |
Naziv i sastav otpada: |
2. |
Identifikacioni broj uzorka otpada: |
3. |
Količina otpada od koje je izvršeno uzorkovanje: |
4. |
Fizičko svojstvo otpada: |
|
1. prah |
|
2. čvrsta materija |
|
3. viskozna materija |
|
4. pasta |
|
5. mulj |
|
6. tečna materija |
|
7. gasovita materija |
|
8. ostalo (precizirati) |
V. Klasifikacija otpada |
|
1. |
Klasifikacija otpada prema Aneksu VIII i/ili Aneksu IX Bazelske konvencije o kontroli prekograničnog kretanja opasnih otpada i njihovom odlaganju - Lista A: |
2. |
Klasifikacija otpada prema Aneksu VIII i/ili Aneksu IX Bazelske konvencije o kontroli prekograničnog kretanja opasnih otpada i njihovom odlaganju - Lista V: |
3. |
OECD klasifikacija otpada: |
|
Zelena lista: |
|
Oker lista: |
4. |
Klasifikacija otpada prema Katalogu otpada: |
5. |
Nacionalna oznaka otpada u zemlji izvoza: |
6. |
Nacionalna oznaka otpada u zemlji uvoza: |
7. |
Druge oznake (specificirati): |
8. |
Kategorija otpada prema Aneksu I Bazelske konvencije o kontroli prekograničnog kretanja opasnih otpada i njihovom odlaganju (Y lista): |
9. |
Opasna karakteristika otpada (H lista): |
10. |
Oznaka klase (UN klasa): |
11. |
Identifikacioni UN broj: |
12. |
UN naziv pošiljke: |
13. |
Carinski broj (H.S.): |
14. |
Postupak i metoda odlaganja ili ponovnog iskorišćenja otpada: |
|
- postupak ili metoda odlaganja D lista: |
|
- postupak ili metoda ponovnog iskorišćenja R lista: |
15. |
Sastavni deo Izveštaja o ispitivanju za prekogranično kretanje otpada su: Izveštaj o ispitivanju otpada br. _____ od __________ i Izveštaj o ispitivanju nivoa radioaktivnosti br. _____ od __________ |
16. |
Napomena: |
Mesto i datum izrade Izveštaja:
Izveštaj uradio: |
|
Odgovorno lice: |
____________________ |
|
___________________ |
Napomena:
U zaglavlju Izveštaja o ispitivanju otpada za prekogranično kretanje otpada navesti podatke o ovlašćenoj stručnoj organizaciji, datum izdavanja ovlašćenja, broj pod kojim je izdato ovlašćenje stručnoj organizaciji za ispitivanje otpada.
1) Na mestu predviđenom za logo ovlašćene stručne organizacije za ispitivanje otpada uneti logo stručne organizacije,
2) U rubrici NEOPASAN OTPAD/OPASAN OTPAD - Uvoz, izvoz i tranzit odabrati opciju za koju se Izveštaj izdaje,
3) U rubrici broj se upisuje delovodnog protokola arhive i datum izdavanja Izveštaja.
4) Upisati naziv otpada sa imenom pod kojim se najčešće koristi, komercijalnim imenom.
U 6, 7, 8, 9, 10 ,11, 12 upisati podatke o podnosiocu zahteva.
U delu A. Opšti podaci navesti sledeće podatke:
- pun naziv, adresu, brojeve telefona, faksa, e-mail adresu izvoznika, uvoznika ili posrednika u tranzitu,
- pun naziv, adresu, brojeve telefona, faksa, e-mail adresu prevoznika/ci,
- pun naziv, adresu, brojeve telefona, faksa, e-mail adresu proizvođača otpada,
- dati kratak opis nastanka otpada, opis tehnološkog postupka i slično,
- pun naziv, adresu, brojeve telefona, faksa, e-mail adresu odlagača/prerađivača otpada,
- ukupna količina otpada koja je predviđena za uvoz, izvoz ili tranzit,
- upisati ime zemlje izvoza, tranzita i uvoza,
- predviđen period za izvoz, tranzit, uvoz,
- način transporta: drumski, železnički, rečni i/ili vazdušni,
- način pakovanja otpada za transport.
U delu B. Podaci o otpadu navesti sledeće podatke:
- Identifikacioni broj uzorka otpada iz Izveštaja o ispitivanju otpada u slučaju da je vršeno ispitivanje otpada,
- količinu otpada na kojoj je izvršeno ispitivanje (zatečena količina otpada pri uzorkovanju otpada),
- označiti fizičke karakteristike otpada na temperaturi i pritisku okoline.
U delu V: Klasifikacija otpada navesti sledeće podatke:
U Polju 1. i 2. - oznaka otpada prema Aneksu VIII i/ili Aneksu IX Bazelske konvencije o kontroli prekograničnog kretanja opasnih otpada i njihovom odlaganju: Ako se otpad ne nalazi ni na jednoj listi Bazelske Konvencije treba upisati "Nije na listi". Dovoljno je dati jednu oznaku otpada ukoliko ona daje potpunu identifikaciju predmetnog otpada, osim za otpade koji su mešani i za koje ne postoji jedinstvena oznaka. U ovom slučaju oznake svake frakcije mešanog otpada treba dati po redosledu važnosti i ako je potrebno priložiti.
U Polju 3. - oznaka otpada iz žute ili zelene liste otpada prema Council Amendment to the Decision of the Council C (2001)107/FINAL on the control of transboundary movements of wastes destined for recovery operations) i prema Amendment to Appendices 3 and 4 of OECD Decision C(2001)107/FINAL on the Control of Transboundary Movements of Wastes Destined for Recovery Operations, C(2005)141, Organisation for Economic Co-operation and Development, 26-Oct-2005 i prema REGULATION (EC) No 1013/2006 OF THE EUROPEAN PARLIAMENT AND OF THE COUNCIL of 14 June 2006 on shipments of waste,
U Polju 4. - oznaka otpada prema Katalogu otpada. Dovoljno je dati jednu oznaku otpada ukoliko ona daje potpunu identifikaciju predmetnog otpada, osim za otpade koji su mešani i za koje ne postoji jedinstvena oznaka. U ovom slučaju oznake svake frakcije mešanog otpada treba dati po redosledu važnosti i ako je potrebno priložiti.
U Polju 5. i 6. i 7. - nacionalna oznaka otpada prema Uredbi o određivanju pojedinih vrsta opasnog otpada koje se mogu uvoziti kao sekundarne sirovine ("Službeni glasnik RS", broj 60/09) i prema Uredbi o listama otpada za prekogranično kretanje, sadržini i izgledu dokumenata koji prate prekogranično kretanje otpada sa uputstvima za njihovo popunjavanje ("Službeni glasnik RS", broj 60/09) ili nacionalna oznaku otpada zemlje uvoza/izvoza ako se razlikuje i druge oznake - specificiraj rečima. Dovoljno je dati jednu oznaku otpada ukoliko ona daje potpunu identifikaciju predmetnog otpada, osim za otpade koji su mešani i za koje ne postoji jedinstvena oznaka. U ovom slučaju oznake svake frakcije mešanog otpada treba dati po redosledu važnosti i ako je potrebno priložiti.
U Polju 8. - kategorija otpada prema Aneksu I Bazelske konvencije o kontroli prekograničnog kretanja opasnih otpada i njihovom odlaganju (Y lista). Dovoljno je dati jednu oznaku otpada ukoliko ona daje potpunu identifikaciju predmetnog otpada, osim za otpade koji su mešani i za koje ne postoji jedinstvena oznaka. U ovom slučaju oznake svake frakcije mešanog otpada treba dati po redosledu važnosti i ako je potrebno priložiti.
U Polju 9. - prema Bazelskoj konvenciji i prema REGULATION (EC) No 1013/2006 OF THE EUROPEAN PARLIAMENT AND OF THE COUNCIL of 14 June 2006 on shipments of waste upisuje se jedna ili više opasnih karakteristika sa oznakom sa H liste.
U Polju 10, 11. i 12. - oznaka klase (UN klasa) prema Aneksu III Bazelske konvencije o kontroli prekograničnog kretanja opasnih otpada i prema REGULATION (EC) No 1013/2006 OF THE EUROPEAN PARLIAMENT AND OF THE COUNCIL of 14 June 2006 on shipments of waste, identifikacioni UN broj za opasan otpad prema propisima za prevoz opasnih materija (ADR propisi za transport opasnih materija u drumskom saobraćaju ili RID propisi za transport opasnih materija u železničkom saobraćaju ili ICAO-TI i IATA-DGR propisi za vazdušni saobraćaj ili propisi vezani za brodski transport) i UN naziv pošiljke.
U Polju 13. - tarifna oznaka prema harmonizovanoj nomenklaturi H.S.
U Polju 14. - oznaka postupka i metode odlaganja ili ponovnog iskorišćenja otpada prema D listi ili R listi datih u Prilogu IV Bazelske konvencije o kontroli prekograničnog kretanja opasnih otpada i njihovom odlaganju i prema REGULATION (EC) No 1013/2006 OF THE EUROPEAN PARLIAMENT AND OF THE COUNCIL of 14 June 2006 on shipments of waste.
U Polju 15. - broj/evi i datum/i Izveštaja o ispitivanju otpada, Izveštaja o ispitivanju nivoa radioaktivnosti za izvoz.
U Polju 16. - ostale napomene vezano za klasifikaciju otpada. Dovoljno je dati jednu oznaku otpada ukoliko ona daje potpunu identifikaciju predmetnog otpada, osim za otpade koji su mešani i za koje ne postoji jedinstvena oznaka. U ovom slučaju oznake svake frakcije mešanog otpada treba dati po redosledu važnosti i ako je potrebno priložiti.
NAČIN I POSTUPAK KLASIFIKACIJE OTPADA
1. Određivanje indeksnih brojeva otpada
Zakon o upravljanju otpadom zahteva da otpad bude opisan na način koji omogućava sigurno rukovanje i upravljanje predmetnim otpadom, kao i da bilo koja promena vlasništva otpada bude propraćena odgovarajućom dokumentacijom koja obavezno uključuje indeksni broj otpada. Pored ovog koda i njemu odgovarajućeg opisa, otpad takođe treba da ima i neophodne karakteristike u cilju identifikacije svih njegovih osobina značajnih za dalje pravilno rukovanje.
Sve ovde zahtevane informacije su neophodne da omoguće svim vlasnicima u lancu upravljanja otpadom, da svoje aktivnosti sprovode bez uticaja na životnu sredinu i ljudsko zdravlje. Posebno, podaci prikupljeni na ovaj način treba da osiguraju da se otpadom upravlja u skladu s uslovima koji se daju u postupku izdavanja dozvola za određene delatnosti upravljanja otpadom, integrisanim (IPPC) dozvolama, Registru izvora zagađivanja životne sredine i drugoj zakonskoj regulativi.
Otpad se razvrstava prema Katalogu otpada koji je usklađen s Evropskim katalogom otpada (European List of Waste/European Waste Catalog). U okviru Kataloga, otpad je sistematizovan, prvenstveno, prema delatnostima u okviru kojih je generisan, ali i prema tipu otpada, materijalima ili procesima. U Katalogu otpada je sistematizovano više od 800 vrsta otpada, podeljenih u 20 grupa, koje se označavaju dvocifrenim brojevima.
Svaka od navedenih grupa sadrži podgrupe koje su označene sa četiri cifre. Grupe i podgrupe upućuju na odgovarajuću vrstu otpada.
U okviru svake podgrupe dat je šestocifreni kôd (indeksni broj) za svaku vrstu otpada posebno. Vrste otpada u Katalogu otpada označene su isključivo šestocifrenim indeksnim brojevima. U Katalogu otpada određuju se indeksni brojevi za svaki opasan i neopasan otpad.

U cilju preciznog izbora odgovarajućeg indeksnog broja iz Kataloga otpada, prethodno je potrebno utvrditi:
- delatnost u toku koje je otpad generisan;
- način, odnosno proces ili aktivnost u okviru delatnosti, u toku koje je otpad generisan;
- opis otpada;
- sastav otpada;
- sadržaj opasnih materija u otpadu i
- opasnosti koje su povezane s otpadom.
U Katalogu otpada, dvocifreni indeksni brojevi najčešće ukazuju na grupu, odnosno delatnost, a četvorocifreni na podgrupu, tj. proces ili aktivnost u toku koje je generisan otpad. Nazivi grupa i podgrupa u Katalogu otpada vrlo su važni u postupku određivanja ispravnog ključnog broja, jer se identifikacija otpada vrši ISKLJUČIVO na nivou šestocifrenog indeksnog broja.
Primer, Indeksni broj 03 01 01 - "Otpadna kora i pluta" upotrebljava se samo za otpadnu koru i plutu koji potiču iz procesa prerade drveta ili proizvodnje ploča i nameštaja. Ovaj kôd se ne koristi za otpadnu koru koja nastaje u nekim drugim aktivnostima, npr. održavanju šuma i parkova. Ovo važi i u slučajevima kada ne postoji nikakvo konkretno upućivanje na termin "kora" osim u Grupi 03 Kataloga otpada.
Pri određivanju indeksnog broja otpada uvek treba koristiti onaj indeksni broj čiji opis što tačnije prikazuje karakteristike otpada, vodeći računa o grupi i podgrupi, kao i postupku razvrstavanja.
U nekim slučajevima potrebno je zanemariti naziv grupe i podgrupe kako bi bio odabran optimalan indeksni broj na drugom mestu u Katalogu, jer on daje jasniji i tačniji opis otpada. Izborom takvog indeksnog broja osigurava se pravilno upravljanje tom vrstom otpada. Otpad treba opisati na način koji omogućava sigurno upravljanje istim. U slučaju nedoumice, potrebno je utvrditi dodatne podatke, npr. detaljan opis otpada.
Na primer, nekim vrstama komunalnog otpada treba odrediti indeksni broj koji nije u Grupi 20, jer u Katalogu, u drugim grupama postoje bolji i detaljniji opisi tog otpada (videti poglavlje o komunalnom otpadu).
U cilju pravilnog određivanja indeksnog broja za svaku vrstu otpada opisan je postupak sa detaljno razjašnjenim pojedinačnim koracima, čiji je dijagram toka dat na slici 1.

DETALJNO OBJAŠNJENJE POJEDINIH KORAKA
KORAK BR. 1. |
KORAK BR. 2. |
KORAK BR 3. |
KORAK BR. 4. |
1.1. Primena indeksnog broja XX XX 99
Indeksni brojevi koji se završavaju cifrom "99" u celom katalogu su opisani kao "otpad koji nisu drugačije specificirani". Ovi indeksni brojevi se koriste u slučajevima kada nije moguće odrediti indeksni broj primenom koraka od 1 do 3. Kodovi "99" obuhvataju previše širok raspon vrsta otpada da bi se mogli koristiti za nedvosmisleno opisivanje otpada i zato se njihova primena uslovljava obaveznim pratećim detaljnim opisom otpada i njegovih karakteristika koje upućuju na specifičnosti koje se moraju primeniti za pravilno upravljanje.
Pri postupcima izdavanja dozvola za upravljanje otpadom korišćenje ovih indeksnih brojeva nije moguće bez detaljnijeg opisa, kako bi se sprečilo svako potencijalno zagađenje životne sredine ili uticaja na zdravlje ljudi koji mogu da se jave zbog neadekvatnog upravljanja neprecizno navedenim vrstama otpada.
1.2. Indeksni brojevi komunalnog otpada
Prema definiciji iz Zakona o upravljanju otpadom, komunalni otpad jeste otpad iz domaćinstava (kućni otpad), kao i drugi otpad koji je zbog svoje prirode ili sastava sličan otpadu iz domaćinstva. Upravljanje ovom vrstom otpada je regulisano članom 43. istog Zakona.
Osnovni princip određivanja indeksnog broja otpada da uvek treba koristiti onaj kôd, čiji detaljni opis, zajedno sa utvrđenom grupom i podgrupom, kao i prema postupku njegovog određivanja iz poglavlja 2, što tačnije odražava svojstva otpada, važi i za komunalni otpad.
U Katalogu otpada komunalni otpad je prikazan u grupi "20": Komunalni otpadi (kućni otpad i slični komercijalni i industrijski otpadi), uključujući odvojeno sakupljene frakcije". Ovu grupu čine indeksni brojevi koji označavaju različite vrste komunalnog otpada, od kojih neki od njih upućuju na postupke reciklaže, a neki na postupke zbrinjavanja. Međutim, neke vrste otpada, iako zaista po definiciji mogu biti komunalni otpad, treba označiti indeksnim brojem koji se ne nalazi u grupi 20, jer je na drugom mestu u Katalogu moguće naći indeksni broj koji bolje odražava karakteristike tog otpada.
Pored toga, ambalažni otpad odvojeno prikupljeni iz komunalnog otpada (uključujući smeše otpada od različitih ambalažnih materijala), uvek se moraju klasifikovati u podgrupu 15 01. Za staklene flaše odvojene iz komunalnog otpada ispravan indeksni broj je "15 01 07 - Staklena ambalaža", a ne "20 01 02 - Staklo" - zbog toga što u opisu iz 15 01 stoji opis "ambalaža (uključujući posebno sakupljenu ambalažu u komunalnom otpadu)", dok je za 20 01 opis opštiji i glasi "odvojeno sakupljene frakcije (osim 15 01)".
Katalog otpada sadrži samo jedan indeksni broj za obični mešani komunalni otpad: "20 03 01 - mešani komunalni otpad" koji se može koristiti za otpad iz domaćinstava, ali i za otpad iz prodavnica, uslužnih delatnosti, zanatstva i sličan otpad iz proizvodnih pogona i institucija, ukoliko je po svojstvima i sastavu sličan onome iz domaćinstava.
Korišćenje ovog indeksnog broja je prihvatljivo pri određenim uslovima, tj. kada se u dokumentima pored ovog koda dodaje dodatni, propratni opis, koji treba da što detaljnije opiše moguće komponente mešovitog otpada. Na primer: "20 03 01 - mešani komunalni otpad" koji se generiše u industriji treba da ima propratni pisani opis koji bi može da glasi:
"Opšti neopasan otpad iz industrije koji se sastoji isključivo od prehrambenog otpada iz restorana (papira, metala, kartona i plastičnih pakovanja) i ostataka od čišćenja podova."
Ovaj opis je vrlo značajan u propratnim dokumentima i odgovornost je proizvođača ovog otpada. Ovaj opis treba da osigura pravilno postupanje navedenim otpadom. Proizvođači otpada treba periodično da izvrše reviziju tokova njihovog otpada u skladu s opštim uputstvima dobre prakse upravljanja otpadom.
1.2.1. Opasni otpad u komunalnom otpadu
Zakonom je zabranjeno mešanje opasnih i neopasnih vrsta otpada, opasnih vrsta otpada međusobno, kao i mešanje sa drugim materijalima. Mešanje je dozvoljeno samo u slučaju da je ono deo procesa prerade, da je odobreno i da se vrši u skladu sa zahtevima iz dozvola za upravljanje otpadom. I pored ovih izuzetaka, mešanje opasnih i neopasnih otpada treba izbegavati svuda gde je to moguće. Ova zabrana mešanja važi, kako za proizvođače otpada, tako i za sve one koji su uključeni u transport, tretman i odlaganje otpada.
Mešani komunalni otpad se ne smatra opasnim (u Katalogu "20 03 01 - mešani komunalni otpad" nije označen zvezdicom), ali se u njemu mogu naći i manje količine opasnog otpada. U takvim slučajevima prihvatljivo je da te male količine opasnog otpada neće usloviti promenu klasifikacije mešanog komunalnog otpada. Ako je mala količina opasnog otpada iz domaćinstava pomešana s drugim mešanim neopasnim otpadom, otpadu se može dodeliti indeksni broj 20 03 01.
Međutim, ovaj indeksni broj se ne sme primenjivati ukoliko je opasni otpad namerno pomešan s neopasnim kako bi se sa njime upravljalo dalje kao neopasnim, odnosno, ukoliko je količina dodatog opasnog otpada tolika da opis više nije tačan. Tada se čitav otpad mora smatrati i označiti kao opasan, osim ako se opasne komponente mogu ponovo odvojiti. Tada se za opasne komponente moraju odrediti posebni indeksni brojevi.
Da bi se otpad iz industrijskih i zanatskih pogona mogao smatrati mešanim komunalnim otpadom, on mora po svom sastavu i karakteristikama biti sličan otpadu iz domaćinstava.
Ako mešani komunalni otpad sadrži fluorescentne cevi u količini takvoj da ga to po sastavu ili količini čini drugačijim od otpada iz domaćinstava, indeksni broj 20 03 01 se ne može primeniti. Ako se fluorescentne cevi sakupljaju kao deo aktivnosti održavanja zgrada, odgovarajući indeksni broj iz Kataloga otpada je "20 01 21* - fluorescentne cevi i drugi otpad koji sadrži živu" i označen je zvezdicom kao opasan otpad. Pravna lica su prema Zakonu o upravljanju otpadom, dužna da odvajaju opasne otpade na mestu nastanka i njime upravljaju u skladu sa zakonom.
U nastavku se nalazi lista indeksnih brojeva koji se koriste za pojedine vrste komunalnog otpada, a uz neke od njih su dodata i pojašnjenja odnosno uobičajeni, svakodnevni nazivi. Ove indeksne brojeve treba koristiti kad god je to moguće:
Kategorija |
Indeksni broj |
Opis |
Staklene flaše i tegle od zelenog, braon ili bezbojnog stakla ili mešane |
15 01 07 |
|
Ravno staklo |
20 01 02 |
|
Papir |
20 01 01 |
Novine, kancelarijski papir, ali ne ambalaža |
Mešani papir i karton |
20 01 01 |
|
Knjige |
20 01 01 |
|
Papirna i kartonska ambalaža |
15 01 01 |
Kutije od valovitog kartona i druga ambalaža |
Aluminijumske, čelične, mešane konzerve |
15 01 04 |
|
Ostali otpadni metal |
20 01 40 |
Ali ne napuštena vozila |
Aluminijumska folija |
20 01 40 |
|
Frižideri i zamrzivači |
20 01 23*/20 01 36 |
Indeksni broj zavisi da li u sebi sadrže određene hlorofluorougljovodonike ili ne |
Druga bela tehnika |
20 01 35*/20 01 36 |
Indeksni broj zavisi da li u sebi sadrže opasne materije ili ne |
Drugi elektronski otpad |
20 01 35*/20 01 36 |
Indeksni broj zavisi da li u sebi sadrže opasne materije ili ne |
Plastika |
20 01 39 |
|
Odeća i obuća |
20 01 10 |
|
Ostali tekstil |
20 01 11 |
|
Ulje |
20 01 25/20 01 26* |
Indeksni broj zavisi da li u sebi sadrže opasne materije ili ne. Za jestiva ulja upotrebiti 20 01 25 |
Samo zeleni otpad |
20 02 01 |
|
Drugi otpad koji se može kompostirati |
20 02 01/20 01 08 |
|
Drvo |
20 01 37*/20 01 38 |
|
Nameštaj |
20 01 38 |
|
Građevinski šut |
17 01 07 |
Radi jasnoće isključuje se s liste komunalnog otpada (znači ne bi trebalo koristiti broj 20 02 03), jer veće količine ne mogu biti komunalni otpad. |
Mešani materijali - otpad iz domaćinstva i slični |
20 03 01 |
|
Fluorescentne cevi |
20 01 21* |
|
Akumulatori - automobilski |
20 01 33* |
|
Baterije - ne automobilske |
20 01 34 |
|
Boja |
20 01 28/20 01 27* |
Prvi indeksni broj koristiti ako je boja na bazi vode, a drugi ako je na bazi organskih rastvarača |
Građevinski otpad i otpad od rušenja |
17 01 07 |
Ovaj ključni broj treba koristiti za mešavine cigle i betona i sl. |
|
20 03 01 |
Ovaj indeksni broj, podrazumeva isključivo otpad iz domaćinstava i sličan otpad |
|
20 03 99 |
Ovaj indeksni broj treba izbegavati jer se radi o nespecificiranom otpadu |
Ostaci od čišćenja ulica |
20 03 03 |
|
Kabasti otpad |
20 03 07 |
|
Običan mešani otpad iz domaćinstva |
20 03 01 |
|
Odbačena vozila |
16 01 04*/16 01 06 |
Prvi indeksni broj koristiti ako vozila još uvek sadrže opasne zagađujuće materije |
Gume |
16 01 03 |
|
Otpad sa pijaca |
20 03 02 |
|
Otpad od čišćenja septičkih jama |
20 03 04 |
Efluent |
1.3. Indeksni brojevi otpada iz zdravstvene zaštite
(medicinski i veterinarski otpad)
Upravljanje otpadom iz objekata u kojima se obavlja zdravstvena zaštita, odnosno medicinskim i veterinarskim otpadom, regulisano je članom 56. Zakona o upravljanju otpadom.
Indeksni brojevi za otpade koji nastaju u zdravstvenoj zaštiti ljudi i životinja su navedeni u poglavlju 18. Kataloga otpada. Infektivni ili klinički otpad, termin koji se često primenjuje, nije kategorija u Katalogu, ali se može definisati kao otpad koji predstavlja rizik od infekcije ili telesno oštećenje i predstavljen je sa nekoliko indeksnih brojeva. Najveća količina otpada iz zdravstvene zaštite nije infektivni otpad. Ukoliko otpad zahteva specijalizovan tretman ili uklanjanje (uključujući termičku obradu ili spaljivanje) zbog rizika od infekcije, njemu se moraju dodeliti kodovi opasnog otpada, kao "18 01 03* - otpadi čije sakupljanje i odlaganje podleže posebnim zahtevima zbog sprečavanja infekcije".
Životinjski leševi koji proizilaze iz veterinarske delatnosti spadaju u otpad iz zdravstvene zaštite. Oni otpadi koji nemaju karakteristike infektivnosti spadaju u neinfektivni medicinski otpad i treba da budu označeni kao "18 02 03 - otpadi čije sakupljanje i odlaganje ne podleže posebnim zahtevima zbog sprečavanja infekcije". Oni otpadi koji jesu infektivni, u skladu sa zakonom, zbog rizika infekcije treba označiti kao "18 02 02* - otpadi čije sakupljanje i odlaganje podleže posebnim zahtevima zbog sprečavanja infekcije".
Otpadi od ljudske i životinjske higijene ne odnose se na zdravstvenu zaštitu i ne trebaju da budu označeni indeksnim brojevima iz poglavlja 18, na primer:
- otpad od ženske higijene iz prodavnica i kancelarija, kao i pseći izmet iz kanti za prikupljanje, treba da bude označen kodom "20 01 99 - ostale frakcije koje nisu drugačije specificirane", ali treba da budu dodatno opisani npr. otpad od ženske higijene koji ne potiče od zdravstvene zaštite i ne podleže zahtevima vezanim za infektivnost; i
- oštri predmeti koji ne proizilaze iz aktivnosti zdravstvene zaštite, na primer tetoviranje, bušenje ušiju ili probadanje tela (body piercing), kao i materije koje se pri tome koriste (koje ne proizilaze iz zdravstvene zaštite) takođe treba označavati sa kodom 20 01 99.
Drugi oštri predmeti, kao što su oni upotrebljeni od strane dijabetičara su otpad zdravstvene zaštite i treba da budu označeni kodovima iz poglavlja 18.
Farmaceutski otpad koji nastaje u zdravstvenoj zaštiti ljudi i životinja se označava sledećim indeksnim brojevima:
- 18 01 08* za otpadne lekove za ljudsku upotrebu, odnosno 18 02 07* za otpadne lekove od lečenja životinja ukoliko oni pripadaju grupama citotoksičnih i citostatičnih lekova i
- 18 01 09, odnosno 18 02 08, za druge vrste lekova iz humane i animalne zdravstvene zaštite.
Ukoliko je farmaceutski otpad prikupljen kao frakcija pri prikupljanju komunalnog otpada i predstavlja lekove koje su korisnici odbacili izvan ustanova zdravstvene zaštite se označavaju sa kodovima "20 01 31* - citotoksični i citostatični lekovi", odnosno "20 01 32 - lekovi drugačiji od onih navedenih u 20 01 31".
Treba imati na umu da ukoliko je otpad iz zdravstvene zaštite proglašen opasnim otpadom, sa njim se mora postupati na za to predviđeni način, u skladu sa Zakonom.
1.4. Indeksni brojevi pri sakupljanju i transportu otpada
Sakupljanje i transport otpada su regulisani članom 35. Zakona o upravljanju otpadom. Sakupljanje otpada predstavlja aktivnost sistematskog sakupljanja, razvrstavanja i/ili mešanja otpada radi transporta, a transport otpada je prevoz otpada van postrojenja koji obuhvata utovar, prevoz (kao i pretovar) i istovar otpada.
Treba napomenuti da je Zakonom o upravljanju otpadom, zabranjeno mešanje opasnog i neopasnog otpada, kao i mešanje opasnih vrsta otpada prilikom sakupljanja i transporta.
Lica koja vrše sakupljanje i/ili transport otpada, preuzimaju otpad od proizvođača ili vlasnika i transportuju ga do postrojenja za upravljanje otpadom, odnosno do centra za sakupljanje, skladištenje, transfer stanice ili postrojenja za tretman ili odlaganje. U cilju lakšeg i efikasnijeg tretmana otpada u postrojenju za tretman otpada ili njegovog pravilnog odlaganja sakupljači i transporteri su dužni da obezbede odvojeni transport pojedinih vrsta otpada. Ukoliko se otpad transportuje jednim vozilom, on može da se obavi na više načina:
1. u zasebnim ambalažama (npr. buradima),
2. u višekomornim vozilima, u odvojenim odeljcima ili
3. u jednokomornim vozilima ukoliko su otpadi sami po sebi odvojene jedinice (npr. akumulatori).
Proizvođač, odnosno vlasnik otpada mora da klasifikuje otpad pre njegove predaje sakupljaču ili transporteru.
Po pravilu, kretanje otpada prati poseban Dokument o kretanju otpada, odnosno Dokument o kretanju opasnog otpada, osim otpada iz domaćinstva. Svaka od transportovanih vrsta otpada treba da ima svoj poseban indeksni broj iz Kataloga koji je dobio na mestu svog nastanka i koji se unosi zajedno s odgovarajućim detaljnim opisima pojedinih transportovanih vrsta otpada u navedene dokumente.
U slučaju korišćenja jednokomornih vozila za transport iste vrste otpada od različitih vlasnika, Dokument o kretanju otpad treba da bude popunjen za svakog vlasnika otpada posebno. U ovim dokumentima obavezno treba upisati odgovarajući indeksni broj, kao i odgovarajući opis za svaki tovar otpada koji je utovaren na vozilo, u kojima treba zabeležiti bilo kakve razlike u karakteristikama pojedinih tovara otpada.
Ukoliko pri sakupljanju i transportu otpada dolazi i do promene vlasništva otpada na drugo lice ili preduzeće, Dokument o kretanju otpada treba da sadrži odgovarajući indeksni broj i opis otpada. Ako je otpad potpuno pomešan, može se koristiti, jedan kôd se može koristiti, ali opis mora da sadrži sve opise utovarenog otpada. Ako se natovareni otpadi ipak mogu razdvojiti i zasebno prerađivati ili deponovati, kôd mora da postoji za svaku vrstu otpada posebno. U svakom slučaju, opis u Dokumentu o kretanju treba da da detaljne opise svih vrsta otpada koji čine posebne delove višestrukog sakupljanja.
1.5. Indeksni brojevi otpada iz postrojenja za upravljanje otpadom
Postrojenje za upravljanje otpadom je stacionarna tehnička jedinica za skladištenje, tretman ili odlaganje otpada, koja zajedno sa građevinskim delom čini tehnološku celinu.
Skladištenje otpada jeste privremeno čuvanje otpada na lokaciji proizvođača ili vlasnika otpada, kao i aktivnost operatera u postrojenju opremljenom i registrovanom za privremeno čuvanje otpada. Lokacija za skladištenje treba da bude adekvatno tehnički opremljena za privremeno čuvanje otpada na lokaciji proizvođača ili vlasnika otpada, u centrima za sakupljanje, transfer stanicama i drugim lokacijama u skladu sa Zakonom o upravljanju otpadom.
Pri prijemu otpada u skladište, preuzima se indeksni broj otpada zajedno sa opisom za svaku vrstu i kao takav se čuva do novog transporta, prerade ili trajnog odlaganja. Mnoge vrste otpada se dostavljaju u postrojenja za upravljanje otpadom na dalji transfer ili obradu pre njihovog završnog uklanjanja.
Otpadi koji ne podležu bilo kakvom tretmanu ili postupcima koji menjaju osnovna fizička ili hemijska svojstva otpada, osim zbijenosti, moraju da zadrže iste indeksne brojeve i opise kao otpad koji je bio izvorno prikupljen. Ovo se odnosi i na mešovite otpade gde se neke komponente odvajaju u postrojenju, ali količina odvojene frakcije nije dovoljna da promeni prirodu otpada, tako da kôd i opis ostaju isti.
Ukoliko se otpad na bilo koji način tretira na postrojenju za upravljanje otpadom, na primer, peć za spaljivanje ili postrojenje za kompostiranje, prerađeni otpad prilikom napuštanja postrojenja treba da bude označen odgovarajućim kodom iz poglavlja 19. U ovom poglavlju obuhvaćeni su sledeći otpadi i načini obrade otpada:
- spaljivanje ili piroliza;
- fizičko/hemijski tretman;
- aerobni tretman;
- anaerobni tretman;
- rezanje metal (usitnjavanje);
- regeneracija ulja;
- mehanički tretman;
- remedijacija zemljišta i podzemnih voda;
- stabilizacija/solidifikacija/vitrifikacija otpada i
- procedne vode sa deponija otpada.
Važno je naglasiti da podpoglavlja poglavlja 19. nemaju nikakvu vezu sa metodama i vrstama obrade materijala klasifikovanih u drugim poglavljima Kataloga otpada.
Neki opisi otpada dati u poglavlju 19, su po svojoj prirodi vrlo široki, npr. "19 02 03 prethodno izmešani otpadi koji se sastoje samo od neopasnog otpada". U takvim slučajevima, pisani opis koji je deo dokumenta o kretanju mora da uključi opis otpada pre obrade, kao i da sažeto prikaže detalje o izvršenoj obradi.
Otpadi koji se tretiraju na mestu nastanka (osim ako to nije posebno postrojenje za upravljanje otpadom) se ne označavaju sa kodovima iz poglavlja 19, već indeksni broj treba da se odredi primenom šeme date u poglavlju 2.
2. Klasifikacija otpada na osnovu ispitivanja
Klasifikacija otpada vrši se određivanjem indeksnog broja na osnovu načina i po postupku opisanom u tački 1. ovog priloga, kao i na osnovu rezultata ispitivanja otpada ovlašćene stručne organizacije za ispitivanje otpada, u skladu sa zakonom i ovim pravilnikom.









