PRAVILNIK O METROLOŠKIM USLOVIMA ZA VERTIKALNE CILINDRIČNE REZERVOARE("Sl. list SFRJ", br. 3/85) |
Ovim pravilnikom propisuju se metrološki uslovi koje moraju da ispunjavaju vertikalni cilindrični rezervoari koji služe kao merila (u daljem tekstu: rezervoari).
Metrološki uslovi iz stava 1. ovog člana označavaju se skraćeno oznakom MUS. Z-8/1.
Pod rezervoarima, u smislu ovog pravilnika, podrazumevaju se nepokretni vertikalni cilindrični sudovi, u kojima je tečnost smeštena pod atmosferskim pritiskom čija vrednost ne prelazi 34,4 kPa natpritiska ili potpritiska. Njihova zapremina utvrđuje se mernim sredstvima, kao što su: merna traka s viskom, merna letva, nivokazna cev s mernim lenjirom, nivokazno staklo s mernim lenjirom ili uređaj za automatsko merenje nivoa tečnosti (u daljem tekstu: merna sredstva) i tabelom zapremine.
Rezervoari se svrstavaju:
1) u odnosu na položaj prema zemlji, na:
a) nadzemne rezervoare,
b) poluukopane rezervoare,
v) ukopane rezervoare;
2) u odnosu na način izrade krova, na:
a) rezervoare s nepokretnim krovom,
b) rezervoare s membranskim krovom,
v) rezervoare s plivajućim (pontonskim) krovom,
g) rezervoare s pokretnim krovom;
3) u odnosu na način, izrade dna, na:
a) rezervoare s ravnim dnom,
b) rezervoare s konusnim dnom,
v) rezervoare s polusferičnim ili sferičnim dnom,
g) rezervoare s polueliptičnim ili eliptičnim dnom,
d) rezervoare s dnom u obliku zarubljenog konusa;
4) u odnosu na radnu temperaturu tečnosti u rezervoaru, na:
a) rezervoare bez zagrevanja tečnosti i bez termičke izolacije zidova,
b) rezervoare sa zagrevanjem tečnosti i bez termičke izolacije zidova,
v) rezervoare sa zagrevanjem ili hlađenjem tečnosti i sa termičkom izolacijom zidova.
Niže navedeni izrazi, u smislu ovog pravilnika, imaju sledeća značenja:
1) nazivna zapremina rezervoara Vn je najveća zapremina tečnosti koju rezervoar može da sadrži pri normalnim uslovima rada, preračunata na referentnu temperaturu na kojoj se određuje zapremina rezervoara;
2) merna vertikala (crteži br. 1 i 2) jeste vertikalna prava koja prolazi kroz osu vođice, pripada odgovarajućem otvoru za merenje i odgovara predviđenom položaju mernog sredstva;
3) donja referentna ravan je horizontalna ravan u kojoj leži gornja površina referentne ploče (crteži br. 1 i 2) u odnosu na koju se meri nivo tečnosti;
4) nivo tečnosti u rezervoaru je rastojanje između donje referentne ravni i nivoa slobodne površine tečnosti, mereno na mernoj vertikali;
5) gornja referentna ravan je horizontalna ravan u kojoj leži gornja površina referentnog prstena (crtež br. 1), u odnosu na koju se meri visina praznog prostora u rezervoaru;
6) visina praznog prostora u rezervoaru je rastojanje između nivoa slobodne površine tečnosti i gornje referentne ravni, mereno na mernoj vertikali;
7) ukupna kontrolisana visina Hu je rastojanje između donje i gornje referentne ravni, mereno na mernoj vertikali;
8) najviša tačka dna rezervoara je tačka na dnu rezervoara koja zauzima najvišu kotu;
9) mrtva zapremina je zapremina tečnosti koja potpuno pokriva dno rezervoara i čiji se nivo slobodne površine poklapa sa donjom referentnom ravni;
10) merni opseg rezervoara je opseg između mrtve zapremine nazivne zapremine rezervoara Vn;
11) najmanja merljiva zapremina Vmin je zapremina iz mernog opsega rezervoara, kojoj odgovara najmanja merljiva visina na mernoj vertikali;
12) tabela zapremine je tabela u kojoj je data zavisnost između zapremine tečnosti u rezervoaru i nivoa tečnosti ili visine praznog prostora, za svaki centimetar ili milimetar nivoa ili visine praznog prostora. Tabela zapremina sastavlja se za svaki rezervoar.
Granice dozvoljenih grešaka određivanja zapremine rezervoara, koje se odnose na vrednosti zapremine iz mernog opsega rezervoara datih u tabeli zapremine, iznose ± 0,2% od zapremine koja je određena.
Granice dozvoljenih grešaka merenja zapremine, iz opsega od najmanje merljive zapremine Vmin do nazivne zapremine Vn, koje obuhvataju i greške mernih sredstava koja su korišćena u procesu merenja, iznose ± 0,5% od zapremine koja je izmerena.
Određena zapremina i izmerena zapremina moraju se preračunati na referentne uslove pod kojima se podrazumeva temperatura od 15°C.
Materijali koji se koriste za izradu rezervoara, elementi ojačanja, sredstva povezivanja i sl., moraju biti takvi da obezbede: otpornost rezervoara na atmosferske i druge spoljne uticaje, otpornost na dejstvo tečnosti u rezervoaru i stalnost oblika rezervoara u radnim uslovima, da ne bi došlo do promene oblika i zapremine rezervoara.
Zavisno od tipa i nazivne zapremine, rezervoari moraju biti izrađeni tako da ispunjavaju uslove određene u:
1) jugoslovenskim standardima JUS M.Z3.030, JUS M.Z3.034 i JUS M.Z3.038, koji su propisani Pravilnikom o jugoslovenskim standardima za rezervoare za skladištenje nafte i naftinih derivata ("Službeni list SFRJ", br. 9/80);
2) jugoslovenskim standardima JUS M.Z3.046, JUS M.Z3.050 i JUS M.Z3.054, koji su propisani Pravilnikom o jugoslovenskim standardima za skladištenje nafte i naftinih derivata ("Službeni list SFRJ", br. 27/81).
Rezervoari moraju imati sledeće delove:
1) dno;
2) plašt;
3) krov;
4) merno mesto;
5) otvor za merenje;
6) vođicu za vođenje odgovarajućeg mernog sredstva;
7) referentnu ploču ili referentni prsten;
8) otvore za merenje temperature ili uzimanje uzoraka;
9) pločicu za registrovanje metroloških pregleda i žigosanje;
10) otvor za ulazak ljudi u rezervoar.
Rezervoari mogu imati ugrađene sledeće delove:
1) nivokaznu cev s mernim lenjirom;
2) nivokazno staklo s mernim lenjirom;
3) uređaj za automatsko merenje nivoa tečnosti;
4) uređaj za automatsko merenje temperature tečnosti.
Zavisno od namene, rezervoari mogu imati ugrađene i sledeće pomoćne delove:
1) pomoćnu opremu za sprečavanje gubitka tečnosti usled isparavanja;
2) grejače i grejna tela;
3) mešalice;
4) bunar za talog i drenažne cevi;
5) otvore i priključke;
6) stubove koji nose krov, noge za oslanjanje plivajućeg krova i sl.
Dno rezervoara, bez obzira na oblik, mora biti izrađeno tako da u radnim uslovima zauzima, stalan položaj u odnosu na podlogu na kojoj se nalazi.
Rezervoar sagrađen i postavljen na podlozi za koju se utvrdi da nije dovoljno stabilna, mora se napuniti vodom i ostaviti da odleži sve dok se položaj njegovog dna ne stabilizuje.
Najviša tačka dna rezervoara ne sme biti na koti višoj od kote donje referentne ravni.
Plašt rezervoara mora biti izrađen tako da zauzima vertikalan položaj i da ima pravilan geometrijski oblik.
Krov rezervoara sa pripadajućim elementima, bez obzira na način izrade, mora biti izveden tako da u radnim uslovima onemogućava evaporacione gubitke tečnosti iz rezervoara iznad dozvoljenih granica, propisanih odgovarajućim jugoslovenskim standardom.
Merno mesto (crtež br. 1) jeste deo rezervoara sa koga se vrše merenja nivoa tečnosti, zapremine tečnosti, visine praznog prostora u rezervoaru i temperature tečnosti, kao i uzimanje uzoraka tečnosti iz rezervoara.
Merno mesto mora biti izrađeno i opremljeno tako da omogućava bezbedno i neometano merenje.
Otvor za merenje (crteži br. 1 i 2) jeste otvor izrađen na krovu rezervoara, koji omogućava nesmetano merenje nivoa tečnosti, zapremine tečnosti i visine praznog prostora u rezervoaru.
Otvor za merenje i vođica moraju biti izrađeni tako da se njihova zajednička vertikalna osa poklapa sa mernom vertikalom (crtež br. 1).
Otvor za merenje mora da se nalazi na onoj strani na kojoj će biti izložen najmanjem dejstvu spoljnih faktora koji mogu uticati na pokazivanje nivoa tečnosti (npr. sunca, vetra itd.).
Ako ima više otvora za merenje, glavnim otvorom smatra se otvor koji ispunjava uslove iz st. 1. do 3. ovog člana.
Vođica za vođenje odgovarajućeg mernog sredstva je cev koja se koristi za vođenje odgovarajućeg mernog sredstva (crteži br. 1 do 4). Vođica se postavlja u odgovarajući otvor za merenje tako da se vertikalna osa vođice i vertikalna osa otvora za merenje poklapaju.
Unutrašnji prečnik vođice iznosi Æ 100 mm. Vođica mora celom dužinom da ima kružne otvore i dr. (crteži br. 1 do 4), zavisno od tipa krova rezervoara, dužine vođice i tipa uređaja za automatsko merenje nivoa tečnosti, ako takav uređaj postoji.
Ako nije postavljena celom dužinom merne vertikale nego samo njenim jednim delom, vođica na donjem kraju mora imati levkasto proširenje.
Referentne ravni (gornja i donja) moraju biti takve da im se položaj ne menja, bez obzira na merni opseg rezervoara i stepen punjenja.
Referentna ploča služi za merenje nivoa ili zapremine tečnosti i pričvršćena je za plašt rezervoara ili vođicu (crteži br. 1 i 2) tako da se ne može odvojiti, a njena gornja površina leži u donjoj referentnoj ravni, koja je upravna na mernu vertikalu.
Referentna ploča mora biti postavljena tako da se kota donje referentne ravni nalazi iznad kote najviše tačke dna rezervoara, uz što manju mrtvu zapreminu, i da merna vertikala prolazi kroz presek dijagonala ploče.
Referentni prsten (crtež br. 1) služi za merenje visine praznog prostora i pričvršćen je za vođicu ili za otvor za merenje tako da se ne može odvojiti, a gornja površina prstena leži u gornjoj referentnoj ravni, koja je upravna na mernu vertikalu.
Otvori za merenje temperature ili uzimanje uzoraka su otvori izrađeni na krovu rezervoara, koji omogućavaju nesmetano merenje temperature tečnosti u rezervoaru ili uzimanje uzoraka tečnosti iz rezervoara.
Otvori moraju biti izrađeni tako da omogućavaju pristup opremi za merenje temperature ili uzimanje uzoraka tečnosti, kao i da sprečavaju gubitak tečnosti iz rezervoara zbog isparavanja.
Broj otvora za merenje temperature ili uzimanje uzoraka, njihov raspored na krovu rezervoara i sl. određeni su odgovarajućim jugoslovenskim standardom.
Ako ostali otvori na krovu rezervoara ispunjavaju uslove iz st. 1. do 3. ovog člana, mogu poslužiti kao otvori za merenje temperature ili uzimanje uzoraka.
Pločica za registrovanje metroloških pregleda i žigosanje mora biti postavljena na vidno i pristupačno mesto pored mernog mesta i pričvršćena za rezervoar tako da ne može da se odvoji.
Otvor za ulazak ljudi u rezervoar je otvor na rezervoaru koji u slučaju potrebe omogućava nesmetano ulaženje ljudi u rezervoar i izlaženje iz njega.
Nivokazna cev s mernim lenjirom je providna cev postavljena sa spoljne strane plašta rezervoara na kojoj se može posmatrati nivo tečnosti u rezervoaru. Uzdužna osa nivokazne cevi mora biti paralelna mernoj vertikali.
Veza nivokazne cevi sa plaštom rezervoara mora biti čvrsta, tako da se položaj nivokazne cevi u odnosu na plašt rezervoara ne može menjati.
Nivokazno staklo s mernim lenjirom je providni zastakljeni prorez na plaštu rezervoara, postavljen sa spoljne strane, na kome se može posmatrati nivo tečnosti u rezervoaru. Uzdužna osa nivokaznog stakla mora biti paralelna mernoj vertikali.
Veza nivokaznog stakla sa plaštom rezervoara mora biti čvrsta, tako da se položaj nivokaznog stakla u odnosu na plašt rezervoara ne može menjati.
Merni lenjiri nivokazne cevi i nivokaznog stakla moraju da imaju skalu sa podelom izraženom u jedinicama zapremine ili jedinicama dužine i služe za očitavanje zapremine tečnosti ili nivoa tečnosti samo u rezervoaru za koji su izrađeni.
Položaj mernog lenjira u odnosu na nivokaznu cev, odnosno na nivokazno staklo mora biti stalan, a veza mernog lenjira sa nivokaznom cevi, odnosno nivokaznim staklom mora biti takva da se ne može odvojiti.
Ako se merenje zapremine ili nivoa tečnosti u rezervoaru obavlja mernim lenjirom nivokazne cevi ili nivokaznog stakla, očitavanje se vrši na osnovu donjeg meniska nivoa tečnosti, prenesenog na skalu mernog lenjira pomoću horizontalnog pokazivača na klizaču.
Za skale mernih lenjira nivokazne cevi i nivokaznog stakla, čija je podela izražena u jedinicama zapremine, vrednost podeljka mora biti iskazana u dm3 (l), 100 dm3 (hl) ili m3, ili 2, 5, 10, 20 i 50 puta većim vrednostima od izabrane jedinice.
Vrednost podeljka mora biti izabrana tako da rastojanje između crta po visini, pri najvećem poprečnom preseku rezervoara, iznosi 4 mm do 10 mm.
Za skale mernih lenjira nivokazne cevi i nivokaznog stakla, čija je podela izražena u jedinicama dužine, vrednost podeljka iznosi 1 mm.
Uređaj za automatsko merenje nivoa tečnosti (crteži br. 3 i 4) i uređaj za automatsko merenje temperature tečnosti su uređaji postavljeni na rezervoar tako da čine njegov sastavni deo, na kojima se može automatski posmatrati nivo ili temperatura tečnosti u rezervoaru.
Ako je skala mernog sredstva izražena u jedinicama zapremine, zapremina tečnosti u rezervoaru očitava se direktno na skali mernog sredstva.
Ako je skala mernog sredstva izražena u jedinicama dužine, zapremina tečnosti u rezervoaru, za izmereni nivo tečnosti, odnosno visinu praznog prostora, očitava se iz tabele zapremine.
Pomoćna oprema za sprečavanje gubitka tečnosti usled isparavanja (disajni ventil, sistemi za zaptivanje plivajućeg krova i sl.) mora biti izrađena tako da u radnim uslovima sprečava gubitak tečnosti usled isparavanja iznad dozvoljenih granica.
Pomoćni delovi, koji čine unutrašnja tela rezervoara (grejači i grejna tela, mešalice, bunar za talog i drenažne cevi, otvori i priključci, stubovi koji drže krov, noge za oslanjanje plivajućeg krova i sl.) moraju biti izrađeni tako da se njihova zapremina može pouzdano utvrditi.
Za rezervoare s plivajućim krovom, krov mora biti izrađen tako da se njegova masa može pouzdano utvrditi.
Rezervoar mora biti konstruisan tako da ima mesta za utiskivanje žigova, bez čijih se uništenja ne mogu izvesti radnje kojima se može uticati na metrološke osobine rezervoara propisane ovim pravilnikom.
Mesta za utiskivanje žigova moraju se nalaziti na:
1) pločici za registrovanje metroloških pregleda i žigosanje;
2) referentnom prstenu;
3) mernim lenjirima nivokazne cevi i nivokaznog stakla;
4) uređaju za automatsko merenje nivoa tečnosti.
Tabela zapremine mora da sadrži iste oznake kao i rezervoar za koji je sastavljena.
Crteži br. 1, 2, 3. i 4. iz čl. 4, 11, 13, 14, 17. i 24. ovog pravilnika odštampani su uz ovaj pravilnik i čine njegov sastavni deo.
Natpisi i oznake na rezervoaru moraju biti ispisani na jednom od jezika i pisama naroda, odnosno narodnosti Jugoslavije.
Natpisi i oznake na rezervoaru moraju biti jasni, dobro vidljivi u radnim uslovima i ispisani tako da se ne mogu izbrisati ili skinuti.
Natpisi i oznake na rezervoaru moraju se nalaziti na pločici za registrovanje metroloških pregleda i žigosanje, koja sadrži:
1) firmu, odnosno naziv ili znak imaoca rezervoara;
2) nazivnu zapreminu rezervoara Vn u m3;
3) ukupnu kontrolisanu visinu Hu u mm;
4) najmanju merljivu zapreminu Vmin u m3.
Rezervoari koji su se nalazili u upotrebi do dana stupanja na snagu ovog pravilnika moraju ispuniti uslove propisane ovim pravilnikom do 31. decembra 1995. godine.
Ovaj pravilnik stupa na snagu osmog dana od dana objavljivanja u "Službenom listu SFRJ".

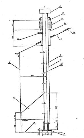
CRTEŽ BR. 1
1. merna vertikala,
2. referentna ploča,
3. vezivanje referentne ploče za plašt rezervoara,
4. referentni prsten,
5. dno rezervoara,
6. plašt rezervoara,
7. krov rezervoara,
8. radna platforma mernog mesta,
9. zaštitna ograda mernog mesta,
10. poklopac otvora za merenje,
11. vođica,
12. ukrućenje vođice za plašt rezervoara,
13. otvori na vođici Æ 25 mm, na međusobnom vertikalnom rastojanju od 200 mm,
14. pločica za registrovanje metroloških pregleda i žigosanje.

CRTEŽ BR. 2
1. merna vertikala,
2. referentna ploča, pričvršćena za vođicu u najmanje tri tačke,
3. dno rezervoara,
4. plašt rezervoara,
5. krov rezervoara,
6. otvor za merenje, kao na crtežu br. 1,
7. vođica,
8. otvori na vođici Æ 25 mm, na međusobnom vertikalnom rastojanju od 200 mm,
9. fleksibilna veza,
10. obujmice,
11. zavrtnji za podešavanje vertikalnosti vođice (komada 3),
12. vezivanje vođice za plašt rezervoara,
13. pločica za registrovanje metroloških pregleda i žigosanje.

CRTEŽ BR. 3
1. merna vertikala,
2. referentna ploča,
3. referentni prsten,
4. dno rezervoara,
5. plašt rezervoara,
6. plivajući (pontonski) krov rezervoara,
7. sistem za zaptivanje plivajućeg krova,
8. radna platforma mernog mesta,
9. zaštitna ograda mernog mesta,
10. otvor za merenje, kao na crtežu br. 1,
11. vođica,
12. otvori na vođici Æ 25 mm, na međusobnom vertikalnom rastojanju od 200 mm,
13. cev za vođenje plovka uređaja za automatsko merenje nivoa tečnosti,
14. pokazni uređaj na uređaju za automatsko merenje nivoa tečnosti,
15. vezivanje vođice za cev uređaja za automatsko merenje nivoa tečnosti,
16. zavrtnji za podešavanje vertikalnosti vođice i cevi uređaja za automatsko merenje nivoa tečnosti (komada 3),
17. vezivanje vođice i cevi uređaja za automatsko merenje nivoa tečnosti za plašt rezervoara.

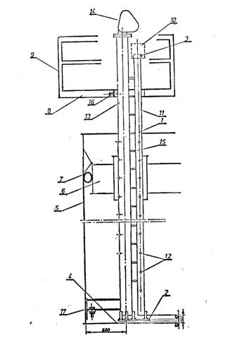
CRTEŽ BR. 4
1. merna vertikala,
2. referentna ploča,
3. vezivanje referentne ploče za vođicu,
4. dno rezervoara,
5. plašt rezervoara,
6. krov rezervoara,
7. otvor za merenje,
8. vođica,
9. otvori na vođici Æ 25 mm, na međusobnom vertikalnom rastojanju od 200 mm,
10. fleksibilna veza,
11. otvor za ulazak ljudi u rezervoar,
12. plovak uređaja za automatsko merenje nivoa tečnosti,
13. zategnuta žica za vođenje plovka,
14. merna traka uređaja za automatsko merenje nivoa tečnosti,
15. vezivanje žice za vođenje za dno rezervoara,
16. zaštitna cev merne trake,
17. nosači zaštitne cevi,
18. koturača merne trake,
19. pokazni uređaj na uređaju za automatsko merenje nivoa tečnosti.









