PRAVILNIK O TEHNIČKIM USLOVIMA KOJE MORA ISPUNJAVATI PODSISTEM ENERGIJA("Sl. glasnik RS", br. 106/2015) |
Ovim pravilnikom uređuju se tehnički uslovi koje mora ispunjavati podsistem energija.
Tehnički uslovi propisani ovim pravilnikom primenjuju se pri projektovanju, građenju, obnovi i unapređenju podsistema energija.
Odredbe ovog pravilnika primenjuju se na javnoj železničkoj infrastrukturi Republike Srbije i na onim industrijskim prugama i industrijskim kolosecima povezanim sa javnom železničkom infrastrukturom.
U ovom pravilniku pojedini izrazi imaju sledeće značenje:
1) daljinsko upravljanje stabilnim postrojenjima električne vuče je daljinski nadzor i upravljanje promenama stanja rasklopne opreme i uređaja u upravljanim mestima iz centra daljinskog upravljanja;
2) elektrodinamička kočnica je kočnica vučnog vozila kod koje prilikom kočenja vučni motori menjaju režim rada, tj. rade kao generatori i kinetičku energiju pretvaraju u električnu energiju koja može biti u otpornicima pretvorena u toplotu (elektrodinamička kočnica bez rekuperacije) ili korišćena za napajanje kontaktne mreže (elektrodinamička kočnica sa rekuperacijom energije);
3) elektroenergetski dispečer je radnik centra daljinskog upravljanja koji upravlja rasklopnim aparatima i uređajima u postrojenjima električne vuče na definisanom području za koje je nadležan i obavlja operativne poslove u vezi sa korišćenjem i održavanjem tih postrojenja;
4) elektrovučna podstanica je elektroenergetski objekat u kome se vrši transformacija napona 110 kV, 50 Hz na napon 25 kV, 50 Hz, upravljanje radom transformatorima, rasklopnim postrojenjima i merenje potrošnje električne energije;
5) zatezno polje je deo kontaktne mreže zategnuto na oba kraja uređajima za automatsko zatezanje ili čvrstim zatezanjem. U sredini zateznog polja se izvodi čvrsta tačka u kojoj su provodnici čvrsto zategnuti;
6) izolovani preklop je mesto u kontaktnoj mreži u kojem se krajevi dva uzastopna vozna voda istog koloseka međusobno preklapaju, ali se ne dodiruju i između njih ne postoji električna veza;
7) kompenzovana kontaktna mreža je kontaktna mreža kod koje su i kontaktni provodnik i noseće uže zategnuti zajedno ili posebno pomoću uređaja za automatsko zatezanje;
8) kontaktna mreža je deo stabilnih postrojenja električne vuče duž elektrificiranih koloseka koja ima ulogu da prenese i razvede električnu energiju od elektrovučnih podstanica do elektrovučnog vozila, kao i da prenese električnu energiju od elektrodinamičkih kočnica vučnog vozila sa rekuperacijom energije;
9) mesto priključka je granica imovine između prenosne mreže operatera prenosnog sistema i objekta korisnika prenosnog sistema;
10) naizmenični sistem električne vuče 25 kV, 50 Hz je sistem električne vuče kod kojeg se električna vučna vozila napajaju naizmeničnom električnom energijom nazivnog napona 25 kV, industrijske frekvencije 50 Hz;
11) neutralna sekcija je u smislu napajanja i sekcionisanja kontaktne mreže posebna sekcija kontaktne mreže koja se nalazi između dva sučeljena napojna kraka koji se napajaju iz dva nezavisna izvora napajanja i koja u električnom pogledu trajno razdvaja krajeve dva kraka, a svojim vodom omogućava njihovu mehaničku vezu a po potrebi i električnu vezu;
12) neutralni vod je deo neutralne sekcije koji u redovnom pogonskom stanju nije pod naponom;
13) napojni vod kontaktne mreže je vod koji povezuje elektrovučnu podstanicu s voznim vodom, i to posredstvom poprečnih ili uzdužnih napojnih vodova;
14) napojni dalekovod je visokonaponski elektroenergetski objekat 110 kV koji služi za prenos električne energije od mesta priključka na prenosni sistem operatera prenosnog sistema do objekta korisnika, elektrovučne podstanice;
15) noseće konstrukcije kontaktne mreže su sve one konstrukcije (stubovi, portali i slično), uključujući i njihove temelje, koje su namenjene za nošenje, učvršćivanje položaja, vešanje i zatezanje vodova kontaktne mreže;
16) nagib kontaktnog provodnika je količnik razlike u visini kontaktnog provodnika u mestu vešanja dve susedne noseće konstrukcije i dužine raspona;
17) neizolovani preklop je deo kontaktne mreže u kojem se krajevi dva uzastopna vozna voda istog koloseka međusobno preklapaju i između njih postoji električna veza;
18) nekompenzovana kontaktna mreža je kontaktna mreža kod koje su i kontaktni provodnik i noseće uže čvrsto zategnuti;
19) obilazni vod je vod kontaktne mreže koji omogućava električno povezivanje dve sekcije kontaktne mreže otvorene pruge mimo sekcija kontaktne mreže stanice koja se nalazi između njih;
20) polukompenzovana kontaktna mreža je kontaktna mreža kod koje je noseće uže čvrsto zategnuto, a kontaktni provodnik zategnut pomoću uređaja za automatsko zatezanje;
21) poprečna veza je vod kontaktne mreže koji posredstvom odgovarajućih rastavljača međusobno povezuje vozne vodove pojedinih odseka kontaktne mreže u stanici, ili međusobno povezuje vozne vodove dve sekcije kontaktne mreže na dvokolosečnoj pruzi ili dve jednokolosečne pruge;
22) prenosni telekomunikacioni put je medij kroz koji se prenose signali daljinskog upravljanja od izvora prema odredištu tj. od centra daljinskog upravljanja do upravljanih mesta, i obrnuto;
23) pogonska elektroenergetska postrojenja su deo podsistema energija u kome su funkcionalno međusobno povezani elektroenergetski objekti u tehničko tehnološku celinu i služe za napajanje električnom energijom pružnog dela železničkog podsistema kontrola, upravljanje i signalizacija, električnih instalacija u halama i zgradama, rasvete otvorenog prostora, i grejanja skretnica;
24) postrojenje je skup funkcionalno povezanih uređaja i ostale opreme za obavljanje železničkog tehnološkog ili drugog procesa kojem je namenjen objekat;
25) postrojenje za daljinsko upravljanje stabilnih postrojenja električne vuče je skup uređaja, opreme i sredstava jasno određene tehničke, tehnološke i informacione namene, koji su konstruktivno i funkcionalno povezani;
26) postrojenje za sekcionisanje je elektroenergetski objekat u kome se vrši električno spajanje i razdvajanje pojedinih sekcija kontaktne mreže;
27) postrojenje za sekcionisanje kod neutralne sekcije je postrojenje za sekcionisanje koje služi za električno razdvajanje i spajanje sekcija kontaktne mreže između kojih se nalazi neutralna sekcija;
28) povratni vod kontaktne mreže je električna provodna veza koja omogućuje povratak struje od električnog vučnog vozila do elektrovučne podstanice;
29) pantograf je uređaj na železničkom elektrovučnom vozilu koji svojim mehanizmom i klizačem preuzima električnu energiju iz voznog voda ili predaje energiju vučnog vozila sa rekuperacijom energije;
30) raspon je razmak između susednih tačaka vešanja voznog voda;
31) stabilna postrojenja električne vuče su deo podsistema energija u kome su funkcionalno međusobno povezani elektroenergetski objekti u tehničko tehnološku celinu i služe za napajanje električnom energijom elektrovučnih vozila i preuzimanje električne energije od vučnog vozila sa rekuperacijom energije;
32) sigurnosni razmak je najmanja dozvoljena udaljenost delova kontaktne mreže ili pantografa koji su pod naponom od najbližih delova okolnih objekata i vozila;
33) srednja kontaktna sila pantografa je rezultantna vrednost kontaktne sile, a sastoji se od statičke i dinamičke komponente kontaktne sile pantografa;
34) sekcija kontaktne mreže stanice je kontaktna mreža unutar službenog mesta na pruzi, ograničena prema otvorenoj pruzi izolovanim preklopima, sekcionim izolatorima ili jednim izolovanim preklopom i svojim krajem;
35) sekcija kontaktne mreže otvorene pruge je deo kontaktne mreže jednokolosečne ili jednog koloseka višekolosečne pruge, koji je sa obe strane ograničen izolovanim preklopima ili sekcionim izolatorima susednih stanica;
36) upravljana mesta su delovi stabilnih postrojenja električne vuče (elektrovučna podstanica, postrojenje za sekcionisanje, postrojenje za sekcionisanje sa neutralnim vodom i elektromotorni pogoni rastavljača kontaktne mreže), čijim se aparatima upravlja daljinski iz centra daljinskog upravljanja;
37) centar daljinskog upravljanja je operativni centar iz koga se daljinski upravlja stabilnim postrojenjima električne vuče na definisanom području;
38) čvrsta tačka je mesto u zateznom polju gde je noseće uže kompenzovane kontaktne mreže učvršćeno.
II OSNOVNI TEHNIČKI USLOVI ZA STABILNA POSTROJENJA ELEKTRIČNE VUČE
Dimenzionisanje stabilnih postrojenja električne vuče
Dimenzionisanje stabilnih postrojenja električne vuče radi se na osnovu elektroenergetskog proračuna za elektrifikaciju pruga.
Elektroenergetski proračun za elektrifikaciju pruga izrađuje se na osnovu:
1) saobraćajno-tehnološkog projekta;
2) analize izbora i načina priključka elektrovučnih podstanica 110/25 kV na prenosnu mrežu 110 kV i uslova isporučioca električne energije;
3) analize uticaja elektrovučnih podstanica na prenosne i distributivne mreže.
Sistem električne vuče
Pri elektrifikaciji železničkih pruga primenjuje se sistem naizmenične struje 25 kV, 50 Hz, i to kod:
1) elektrifikacije novih železničkih pruga i koloseka;
2) elektrifikacije postojećih neelektrificiranih železničkih pruga i koloseka.
Rekuperacija električne energije
Nova stabilna postrojenja električne vuče izvode se tako da omoguće vučnim vozilima korišćenje elektrodinamičke kočnice s povratkom električne energije u napojnu mrežu - rekuperacija.
Napon i frekvencija
Iznosi napona i frekvencije na sabirnicama u elektrovučnim podstanicama i na pantografima elektrovučnih vozila određeni su standardom SRPS EN 50163, a osnovni podaci dati su u Tabeli 1.
Tabela 1: Naponi napajanja i frekvencija električne vuče
Minimalni napon ograničenog trajanja između Umin1 i Umin2 ne sme da pređe 2 min. |
Umin2 = 17500 V |
Minimalni trajni napon |
Umin1 = 19000 V |
Nazivni napon |
Un = 25000 V |
Maksimalni trajni napon |
Umax1 = 27500 V |
Maksimalni napon ograničenog trajanja između Umax1 i Umax2 ne sme da pređe 5 minuta |
Umax2 = 29000 V |
Frekvencija napona |
f= 49 - 51 Hz |
Uslovi za usklađenost sistema napajanja i vozova
Faktor snage voza određen je standardom SRPS EN 50388, a osnovni podaci dati su u Tabeli 2.
Tabela 2: Ukupni induktivni faktor snage voza
Trenutna snaga voza na pantografu, MW |
Induktivni faktor snage voza(λ) |
P > 2 |
≥ 0,95 |
0 ≤ P ≤2 |
≥ 0,85 |
Tokom rekuperativnog kočenja, faktor snage može biti niži od navedenih iznosa u Tabeli 2, sa svrhom održavanja napona u dopuštenim granicama.
Izračunati srednji raspoloživi napon na pantografu određen je standardom SRPS EN50388, koristeći ulazne podatke za faktor snage iz Tabele 2.
Zaštitne mere
Na mestima na kojima su stabilna postrojenja električne vuče i njihovi delovi pod naponom, a gde postoji opasnost za život ljudi, sprovode se zaštitne mere od opasnog uticaja visokog napona.
Na signalno-sigurnosnim, telekomunikacionim i drugim uređajima koji se nalaze u neposrednoj blizini stabilnih postrojenja električne vuče i uređaja električne vuče pod naponom, sprovode se zaštitne mere od štetnih (opasnih i ometajućih) električnih uticaja.
a) Osnovni zahtevi za kontaktnu mrežu
Kontaktna mreža i brzina vožnje
Kontaktna mreža svojim karakteristikama omogućava odvijanje saobraćaja predviđenim brzinama.
Na sporednim kolosecima gde je vozni vod izveden samo sa kontaktnim provodnikom (tramvajski vozni vod), a to su koloseci ranžirnih stanica i završnih većih stanica, najveća dopuštena brzina iznosi 40 km/h.
U postojećim dugačkim tunelima, kontaktna mreža izvedena je kao nekompenzovana.
U novoizgrađenim i građevinski obnovljenim i unapređenim dugačkim tunelima za brzine do 200 km/h kontaktna mreža izvodi se kao kompenzovana.
Dužina zateznog polja kompenzovane kontaktne mreže
Svako zatezno polje kompenzovane kontaktne mreže može imati do 24 raspona.
Izuzetno od odredbi stava 1. ovog člana, broj raspona u zateznom polju može biti i veći od 24, ali pod uslovom da dužina zateznog polja ne pređe 1600 m.
U slučaju kada broj raspona u zateznom polju kompenzovane kontaktne mreže prelazi 24, potrebno je proveriti da promena sile zatezanja u sredini zateznog polja nije veća od 10% od normalne sile zatezanja.
Za slučajeve zateznog polja kontaktne mreže u dugačkim tunelima, specijalnim rešenjima kontaktne mreže u stanicama i slično, dužina zateznog polja i broj raspona može biti veći.
Električno i mehaničko razdvajanje kontaktne mreže
Kontaktna mreža na otvorenoj pruzi sa dva koloseka se električno i mehanički razdvaja za svaki kolosek.
U stanicama sa dva ili više prolaznih koloseka izvodi se električno razdvajanje kontaktnih mreža prolaznih koloseka.
Kontaktne mreže sporednih koloseka mogu se električno razdvajati po grupama koloseka.
Automatsko zatezanje voznog voda
Automatsko zatezanje voznog voda izvodi se na oba kraja zateznog polja.
Vozni vod se može automatski zategnuti i samo na jednom kraju zateznog polja, u kom slučaju ovakvo zatezno polupolje može imati najviše 12 raspona i dužinu do 800 m.
Izuzetno u opravdanim slučajevima dozvoljeno je automatsko zatezanje voznog voda samo na jednom kraju i sa više od 12 raspona u zateznom polupolju i dužinom do 880 m.
Kod voznih vodova na prugama nazivne brzine do 160 km/h i gde su sile zatezanja kontaktnog provodnika i nosećeg užeta jednake, automatsko zatezanje se izvodi kao zajedničko.
Za vozne vodove gde su sile zatezanja kontaktnog provodnika i nosećeg užeta različite, automatsko zatezanje se izvodi odvojeno.
Kod voznih vodova za brzine vožnje do 200 km/h kontaktni provodnik i noseće uže zatežu se odvojeno.
Neizolovani preklopi
Neizolovani preklopi se ugrađuju na mestima nastavljanja dva susedna zatezna polja koja međusobno nisu električno izolovana.
Preklopi se izvode u tri raspona. U slučajevima otežavajućih uslova za očuvanje potrebnog položaja kontaktnog voda u odnosu na osu pantografa, kao što su manji poluprečnici krivine, veće brzine vožnje i uticaj vetra na vozni vod, preklopi se se izvode u četiri raspona.
Razmak između dva kontaktna provodnika u preklopnim rasponima je 200 mm.
Neizolovani preklopi se ne postavljaju gde je sistemska visina manja od nazivne zbog blizine nadvožnjaka, tunela i sličnih građevina na pruzi. Ako se to ne može izbeći, preklop se izvodi kao specijalno rešenje.
Izolovani preklopi
Izolovani preklopi se ugrađuju na mestima gde je potrebno električno razdvajanje sekcija kontaktne mreže, otvorene pruge i stanica, odnosno gde je to predviđeno rešenjem sekcionisanja kontaktne mreže.
Preklopi se izvode u tri raspona. U slučajevima otežavajućih uslova za održanje potrebnog položaja kontaktnog voda u odnosu na osu pantografa, kao što su manji poluprečnici krivina, veće brzine vožnje i uticaj vetra na vozni vod, preklopi se izvode u četiri raspona.
Razmak između dva vozna voda u preklopnim rasponima je 400 mm.
Izolovani preklopi se ne postavljaju gde je sistemska visina manja od nazivne zbog blizine nadvožnjaka, tunela i sličnih građevina na pruzi. Ako se to ne može izbeći, preklop se izvodi kao specijalno rešenje.
Smeštaj izolovanog preklopa usklađuje se sa položajem ulaznog signala kako zaustavljeno vučno vozilo ne bi pantografom električno prespojilo sekcije napajanja.
Na jednokolosečnim prugama izolovani preklopi stanice postavljaju se tako da spoljni međustub izolovanog preklopa bude na najmanjoj udaljenosti od 50 m iza ulaznog signala prema stanici, a unutrašnji međustub na najmanjoj udaljenosti od 10 m iza signala "Granica manevrisanja" ka otvorenoj pruzi, pri čemu je potrebno obezbediti rastojanje između ulaznog signala i signala "Granica manevrisanja" od 120 m.
Izolovani preklopi stanica na dvokolosečnim prugama na pravilnim ulaznim, odnosno izlaznim kolosecima postavljaju se isto kao i na jednokolosečnim prugama, s tim što se mesta spoljnih odnosno unutrašnjih međustubova određuju:
1) za pravilan ulazni kolosek, u odnosu na signal "Granica manevrisanja" koji je ugrađen za pravilni izlazni kolosek;
2) za pravilni izlazni kolosek u odnosu na ulazni signal koji je ugrađen za pravilan ulazni kolosek.
U stanicama koje nemaju signal "Granica manevrisanja" kod postavljanja izolovanih preklopa stanice, spoljni međustub izolovanog preklopa ne sme biti na manjoj udaljenosti od 50 m iza ulaznog signala ka stanici, a unutrašnji međustub ne sme biti na manjoj udaljenosti od 100 m ispred ulazne skretnice ka otvorenoj pruzi.
Neutralne sekcije
Neutralne sekcije se primenjuju na onim mestima gde je potrebno da sekcije kontaktne mreže budu električno razdvojene i za vreme prolaska voza, a naročito u slučajevima različitih faza napajanja.
Prilikom vožnje voza pantografi ne smeju preneti napon s jedne strane neutralne sekcije na drugu.
Elektrovučno vozilo ulazi i izlazi iz neutralne sekcije sa isključenim napajanjem. Zbog toga se postavljaju odgovarajući signali ispred i iza neutralne sekcije kako bi se mašinovođe na vreme upozorile o potrebi isključenja/uključenja glavnog prekidača i spuštanja/dizanja pantografa.
Prilikom projektovanja neutralne sekcije uzimaju se u obzir predviđeni razmaci pantografa i prema tome određuje tip neutralne sekcije, dužina neutralnog voda i način signalizacije za električnu vuču.
Neutralne sekcije ne smeju biti smeštene na mestima gde se vozovi normalno zaustavljaju, kao što su stanična područja, stajališta i ulazni signali.
Neutralne sekcije se ne postavljaju gde je sistemska visina manja od nazivne zbog blizine nadvožnjaka, tunela i sličnih građevina na pruzi. Ako se to ne može izbeći, neutralna sekcija se izvodi kao specijalno rešenje.
Neutralne sekcije po pravilu se postavljaju na koloseku u pravcu bez uzdužnog nagiba pruge, odnosno u krivini poluprečnika ne manjeg od 800 m i uzdužnog nagiba ne većeg od 15 ‰.
Neutralna sekcija se izvodi preklopom voznog voda ili kao kratka neutralna sekcija sa dva sekciona izolatora.
U slučaju da se neutralna sekcija izvodi preklopom voznog voda, razmak između dva kontaktna provodnika u preklopnim rasponima iznosi 400 mm.
U slučaju da se neutralna sekcija izvodi kao kratka, dopuštena brzina prelaska preko sekcionog izolatora odgovara predviđenom tipu kontaktne mreže.
Pri projektovanju kontaktne mreže za javne pruge od značaja za međunarodni saobraćaj, rešenja neutralnih sekcija određena su standardom SRPS EN 50367.
Čvrste tačke
Čvrste tačke voznog voda izvode se oko polovine kompenzovanog zateznog polja, na čijim krajevima su uređaji za automatsko zatezanje.
Čvrste tačke se ne izvode kod polupolja kompenzovane kontaktne mreže, niti kod nekompenzovane kontaktne mreže.
Dimenzije slobodnog profila za pantograf u pogonskim uslovima
Profil glave pantografa, u skladu sa standardom SRPS EN 50367, dat je u Prilogu 1 - Profil glave pantografa, koji je odštampan uz ovaj pravilnik i čini njegov sastavni deo.
Prostor iznad pantografa za smeštaj voznog voda kontaktne mreže dat je u Prilogu 2 - Prostor iznad pantografa za smeštaj voznog voda, koji je odštampan uz ovaj pravilnik i čini njegov sastavni deo.
Kinematički profil glave pantografa dat je u standardu SRPS EN 50367.
Slobodni profil za pantograf čine mehanički i električni profil.
Kinematički profil pantografa računa se upotrebom kinematičkih metoda.
Slobodan profil određen je sigurnosnim razmakom.
Elementi kontaktne mreže koji su pod naponom kao i izolovani elementi, osim kontaktnog provodnika i poligonatora, nalaze se izvan kinematičkog profila.
Neizolovani elementi koji su uzemljeni ili su na različitom potencijalu od kontaktne mreže, nalaze se izvan kinematičkog i slobodnog profila.
Nagib i ugao skretanja kontaktnog provodnika
Ako je zbog lokalnih uslova, na primer kod tunela, mostova, nadvožnjaka i slično, potrebna promena visine kontaktnog voda, ona se izvodi sa što manjim nagibom i promenom nagiba čije vrednosti su date u Tabeli 3, u skladu sa standardom SRPS EN 50119.
Tabela 3: Dozvoljeni nagib kontaktnog provodnika između dve tačke vešanja u odnosu na nivo koloseka
Brzina do km/h |
Maksimalni nagib ‰ |
Maksimalna dozvoljena |
10 |
60 |
30 |
30 |
40 |
20 |
60 |
20 |
10 |
100 |
6 |
3 |
120 |
4 |
2 |
160 |
3,3 |
1,7 |
200 |
2 |
1 |
Promena visine kontaktnog provodnika izvodi se u tačkama njegovog vešanja.
Ugao skretanja kontaktnog provodnika
Maksimalni dozvoljeni ugao skretanja kontaktnog provodnika aktivnog dela voznog voda u odnosu na uzdužnu osu koloseka iznosi:
1) za otvorenu prugu i glavne prolazne koloseke 6º;
2) za sporedne koloseke 15º.
Otklon kontaktnog provodnika
Najveći dopušteni bočni otklon kontaktnog provodnika od ose statičkog pantografa, u bilo kojoj tački raspona pod uticajem najnepovoljnijeg vetra na vozni vod i stubove, iznosi:
1) 450 mm za koloseke u pravcu;
2) 400 mm za koloseke u krivini;
uzimajući pri tome u obzir i pomeranje tačaka vešanja pod dejstvom istog vetra.
Za kontaktnu mrežu na javnim prugama od značaja za međunarodni saobraćaj najveći dopušteni bočni otklon kontaktnog provodnika pod uticajem bočnog vetra iznosi 400 mm.
Poligonacija i izvlačenje u krivinama
Normalna poligonacija iznosi ± 200 mm, merena u tački vešanja od ose statičkog pantografa.
Maksimalno dozvoljeno izvlačenje na koloseku u krivini je 300 mm (izvlačenje u spoljnu stranu krivine od ose statičkog pantografa).
Poligonacija se primenjuje u svakoj tački vešanja.
Na prelazu iz koloseka u pravcu u kolosek u krivini i obrnuto, veličina i smer poligonacije određuju se u svakom slučaju posebno.
Opterećenja nosećih konstrukcija kontaktne mreže
Delovanja merodavna za dimenzionisanje nosećih konstrukcija kontaktne mreže su:
1) sopstvena težina stuba, opreme voznog voda, napojnog i obilaznog voda;
2) sila usled poligonacije voznog voda;
3) sile usled delovanja krivine i skretanja provodnika;
4) sile zatezanja;
5) delovanje temperature;
6) dodatno opterećenje;
7) delovanje vetra.
Temelji nosećih konstrukcija dimenzionišu se prema silama koje na njih prenosi noseća konstrukcija i prema svojstvima tla.
Dimenzionisanje nosećih konstrukcija kontaktne mreže
Temperature okoline za koje se projektuje kontaktna mreža su:
1) najmanja -20°C;
2) najveća +40°C;
3) srednja +10°C (za kompenzovanu mrežu).
Kod srednje temperature se geometrijski parametri voznog voda nalaze u normalnom položaju.
Za projektovanje kontaktne mreže, na osnovu merodavnih meteoroloških podataka, određuju se zone vetra sa odgovarajućim pritiscima za prugu, odnosno za pojedine kritične deonice.
Kontaktna mreža dimenzioniše se na pritisak vetra od najmanje 50 daN/m2, što odgovara brzini vetra od 100 km/h.
Ako je brzina vetra veća od 110 km/h što odgovara pritisku vetra od 60 daN/m2, tada se za proračun uzima najveća brzina vetra koja se pojavljuje prosečno svakih pet godina.
Noseće konstrukcije kontaktne mreže dimenzionišu se za najveće delovanje sila zatezanja užadi i provodnika koje se javljaju u najnepovoljnijim klimatskim uslovima:
1) na temperaturi -20 °C pri pritisku vetra za odgovarajuću zonu (pun pritisak vetra);
2) na temperaturi -5 °C sa normalnim dodatnim opterećenjem i pri 50% pritiska vetra za odgovarajuću zonu za nezaleđenu kontaktnu mrežu.
Visina kontaktnog provodnika
Visina kontaktnog provodnika merena od gornje ivice šine do donje ivice kontaktnog provodnika u tački vešanja određuje se kao normalna, minimalna i maksimalna.
Visine kontaktnog provodnika za napajanje električne vuče date su u Tabeli 4.
Tabela 4: Visine kontaktnog provodnika
Maksimalna visina (mm) |
6500 |
Normalna visina (mm) |
5500 |
Minimalna visina (mm) |
5020 |
Sistemska visina kontaktne mreže
Normalna sistemska visina kontaktne mreže iznosi 1400 mm.
Smanjene sistemske visine su 1200, 1000, 800 mm.
U postojećim tunelima sistemska visina iznosi 600 mm, smanjena 300 mm i izuzetno 0 mm.
Rasponi stubova kontaktne mreže
Za kolosek u pravcu uz dodatno opterećenje i pritisak vetra do 50 daN/m2, najveći raspon stubova kontaktne mreže iznosi:
1) za kompenzovanu mrežu: 70 m;
2) za nekompenzovanu mrežu: 55 m.
Za kolosek u pravcu uz dodatno opterećenje i pritisak vetra do 60 daN/m2 najveći raspon stubova kontaktne mreže iznosi:
1) za kompenzovanu mrežu 65 m;
2) za nekompenzovanu mrežu 50 m.
Za zone vetra gde je pritisak vetra Pv > 60 daN/m2, najveći rasponi stubova kontaktne mreže posebno se određuju.
U tunelima, u zavisnosti od primenjenog rešenja kontaktne mreže, upotrebljavaju se i manji rasponi.
Gde god je moguće, za smanjene raspone upotrebljavaju se tipske dužine, i to sledećim nizom: 70, 65, 60, 55, 50, 45, 40, 35, 30, a u tunelima i 45, 40, 30, 25, 20, 15 i 10 m.
Tolerancija pruge u odnosu na kontaktnu mreže
Kontaktna mreža za brzine do 160 km/h projektuje se za dozvoljena odstupanja kolosečne geometrije prema vrednostima datim u Tabeli 5.
Ukoliko su odstupanja veća od navedenih, vrši se usklađivanje kontaktne mreže sa kolosečnom geometrijom.
Tabela 5: Dozvoljena odstupanja za kolosečnu geometriju
Dopuštena brzina vožnje (km/h) |
Širina koloseka (mm) |
Osa koloseka Horizontalno (mm) |
Osa koloseka Vertikalno (mm) |
Nadvišenje (mm) |
>100 |
-3/+5 |
± 25 |
± 10 |
± 5 |
80-99 |
-3/+6 |
± 8 |
||
60-79 |
-3/+8 |
± 10 |
||
<60 |
-3/+10 |
Moguće horizontalno podešavanje voznog voda uz uslove date u Tabeli 5, bez izmene delova konzola, iznosi ± 90 mm.
Tolerancija za visinu kontaktnog provodnika za sve visine od 5020 mm do 6500 mm iznosi ± 20 mm.
v) Uzajamno dejstvo vozni vod - pantograf
Kontaktna sila
Tehničko rešenje voznog voda kontaktne mreže izvodi se tako da primi maksimalnu i minimalnu kontaktnu silu pantografa, uzimajući u obzir i aerodinamični uticaj kod najveće dozvoljene brzine vozila. Minimalna kontaktna sila pantografa mora biti pozitivna kako ne bi došlo do prekida kontakta između pantografa i kontaktnog provodnika.
Normalna kontaktna sila pantografa za brzine do 200 km/h definisana je u granicama vrednosti datim u Tabeli 6.
Tabela 6: Vrednosti normalne kontaktne sile pantografa
Normalna kontaktna sila pritiska FM za brzine do 200 km/h |
60 < Fm < 0,00047 · v² + 90 |
gde je Fm = normalna kontaktna sila u N, a v = brzina u km/h.
Karakteristike pantografa
Osnovne karakteristike pantografa za kontaktne mreže projektovane za brzine do 160 km/h date su u Tabeli 7.
Tabela 7: Karakteristike pantografa
Visina kontaktnog provodnika |
6500/5500/5020 mm |
Širina pantografa |
1600 mm |
Minimalna dužina klizne letve pantografa |
800 mm |
Statička kontaktna sila Fs |
60 - 90 N |
Maksimalna dozvoljena aerodinamična kontaktna sila Fa |
70 N |
Maksimalna dozvoljena brzina |
160 km/h |
Maksimalna struja po pantografu u mirovanju |
80 A |
Podizanje kontaktnog provodnika
Uslovi za dinamičke karakteristike i kvalitet oduzimanja struje kod projektovanja kontaktne mreže dati su u Tabeli 8.
Tabela 8: Uslovi za dinamičke karakteristike i kvalitet oduzimanja struje
Prostor za izdizanje poligonatora |
2So |
Srednja kontaktna sila Fm |
Vidi Tabelu 6 |
Standardna devijacija pri najvećoj brzini σmax (N) |
0,3 Fs |
Procenat iskrenja pri najvećoj brzini, (%) |
≤ 0.1 |
So je izračunato ili izmereno izdizanje kontaktnog provodnika na poligonatoru u normalnim pogonskim uslovima, s jednim ili više pantografa, pri kontaktnoj sili Fm kod najveće brzine. Pojmovi, vrednosti i metode testiranja definisane su standardima SRPS EN 50317i SRPS EN 50318.
Ukoliko je izdizanje poligonatora fizički limitirano kontaktnom mrežom dopušta se da prostor za izdizanje bude smanjen na 1,5 So.
Za krute komponente u kontaktnoj mreži, kao što su sekcioni izolatori, kontaktna sila može se povećati do najveće vrednosti od 350 N.
Sigurnosni razmak
Sigurnosni razmak između najniže tačke kontaktnog provodnika i profila železničkoga vozila iznosi 340 mm.
Sigurnosni razmak između delova kontaktne mreže koji su pod naponom i profila putničkih vozila iznosi 600 mm.
Sigurnosni razmak između golih provodnika pod naponom (kontaktna mreža ili pantograf), uključujući i njihov otklon od stalnog položaja, i najbližih delova stabilnih objekata (uzemljenih ili neuzemljenih), iznosi:
1) 170 mm - u normalnim uslovima;
2) 220 mm - u uslovima uticaja industrije i parne vuče.
Sigurnosni razmak između golih provodnika pod naponom (kontaktna mreža ili pantograf) u mirovanju, i najbližih delova stabilnih objekata (uzemljenih ili neuzemljenih), iznose:
1) 270 mm - u normalnim uslovima;
2) 320 mm - u uslovima uticaja industrije i parne vuče.
Sigurnosni razmak između dva uporedna električna odvojena vozna voda iznosi 400 mm.
Visina kontaktnog provodnika na ukrštanju pruge i puta u istom nivou
Visina kontaktnog provodnika iznad gornje ivice šine na ukrštanju pruge i puta u istom nivou iznosi najmanje 5500 mm.
Visina kontaktnog provodnika ispod objekata iznad pruge
Konstrukcija objekta iznad pruge i kontaktne mreže može da se projektuje i gradi, sa normalnom visinom kontaktnog provodnika i smanjenom sistemskom visinom kontaktne mreže iznad gornje ivice šine ispod objekata iznad pruge, kod kojih je donja ivica konstrukcije objekta na visini od najmanje 6300 mm od gornje ivice šine.
Visina kontaktnog provodnika može da se projektuje i gradi i na manjoj od visini kontaktnog provodnika iznad gornje ivice šine od normalne, ako je donja ivica konstrukcije postojećeg objekta na manjoj visini od 6300 mm iznad gornje ivice šine.
Visina i udaljenost obilaznog voda
Obilazni vod mora biti na dovoljnoj udaljenosti od voznog voda kako bi bio omogućen siguran rad na održavanju kontaktne mreže prilikom isključenja voznog voda.
Visina obilaznog voda iznosi:
1) iznad perona najmanje 7,0 m;
2) iznad utovarne površine 12 m.
g) Oprema i materijali kontaktne mreže
Tipska i proizvođačka oznaka
Sva oprema koja se ugrađuje na postrojenjima kontaktne mreže, osim kontaktnog provodnika i užadi, označava se tipskom oznakom i oznakom proizvođača. Sitniji i standardni elementi označavaju se tipskom skraćenom oznakom.
Kontaktni provodnici
Na kontaktnoj mreži upotrebljavaju se kontaktni provodnici sastava Cu preseka 100 mm2, ili sastava CuAg0,1 preseka 100 mm2.
Mogu se upotrebljavati i drugi kontaktni provodnici (osim legure bakar - kadmijum) koji udovoljavaju zahtevima standarda SRPS EN 50149.
Sila zatezanja kontaktnog provodnika ne sme biti veća od 65% njegove najmanje čvrstoće na istezanje, uključujući i koeficijente ograničenja najveće radne temperature, stepena istrošenosti, stepena upotrebljivosti uređaja za zatezanje, dodatnog opterećenja i načina spajanja.
Klizna letva pantografa izrađuje se od čistog ugljenika ili drugog materijala prema standardu SRPS EN 50367.
Užad kontaktne mreže
Na kontaktnoj mreži upotrebljava se noseće uže od bronze preseka 65 mm2 i druga noseća užad koja ispunjavaju zahteve standarda SRPS EN50119.
Sila zatezanja užeta, zavisno od namene, ne sme biti veća od 65% njegove najmanje čvrstoće na istezanje uzimajući u obzir i koeficijente ograničenja najveće radne temperature, načina zatezanja, dodatnog opterećenja i načina spajanja.
Na kontaktnoj mreži upotrebljava se obilazni vod od užeta Cu preseka od najmanje 150 mm2.
Izolatori kontaktne mreže
Konstrukcija izolatora za kontaktnu mrežu ispunjava električne i mehaničke zahteve kao i zahteve za otpornost na koroziju, eroziju i nečistoću, prema standardu SRPS EN 50119.
Minimalna zatezna čvrstoća izolatora iznosi 95% zatezne čvrstoće kontaktnog provodnika.
Maksimalno radno zatezno opterećenje izolatora ne sme preći 40% njegove najmanje zatezne čvrstoće.
Ispitivanja izolatora za kontaktnu mrežu sprovode se prema standardu SRPS EN 50119.
Sekcioni izolatori
Zahtevi za sekcione izolatore određeni su standardom SRPS EN 50119.
Rastavljači
Za potrebe sekcionisanja kontaktne mreže mogu se upotrebljavati:
1) jednopolni rastavljači bez mogućnosti isključivanja pod opterećenjem;
2) jednopolni rastavljači snage s mogućnošću isključivanja pod opterećenjem.
Rastavljači mogu biti opremljeni kontaktima za uzemljenje kao i elektromotornim pogonima, što se naznačava u šemama napajanja i sekcionisanja kontaktne mreže.
Konzole
Osnovni tip konzola za upotrebu na kontaktnoj mreži su obrtne konzole cevne konstrukcije.
U tunelima, kao i u drugim posebnim slučajevima, mogu se upotrebljavati i specijalne konstrukcije konzola.
Konzole se konstruišu po tipovima prema nameni, ali uvek tako da se omogući primena propisanog tovarnog profila za odnosnu prugu.
Delovi konzola: cevi, pričvrsna i spojna oprema i izolatori, dimenzionišu se za predviđena najveća opterećenja s odgovarajućim faktorom sigurnosti za primenjeni materijal.
Čelične cevi štite se od korozije toplim cinkanjem.
Raspored nosećih konstrukcija kontaktne mreže
Stubovi kontaktne mreže postavljaju se:
1) na jednokolosečnim prugama, sa spoljne strane koloseka u krivini;
2) na dvokolosečnim prugama, sa spoljne strane oba koloseka.
Na jednokolosečnim prugama stubovi se mogu postavljati i sa unutrašnje strane koloseka u krivini ukoliko je sa spoljne strane krivine predviđena izgradnja drugog koloseka ili postoji neka druga prepreka da se to učini sa spoljne strane koloseka u krivini.
Na jednokolosečnim prugama na kojima se predviđa izgradnja drugog koloseka, stubovi se postavljaju kao za dvokolosečnu prugu.
Odstojanje nosećih konstrukcija kontaktne mreže od ose koloseka usklađuje se sa zadatim slobodnim profilom i građevinskim parametrima pruge.
Odstojanja između unutrašnje ivice stuba i ose koloseka data su u Tabeli 9.
Tabela 9: Odstojanja između unutrašnje ivice stuba i ose koloseka
Postojeće pruge |
Novoizgrađene pruge |
|||
Razmak (mm) |
Razmak (mm) |
|||
Normalno |
Minimalno |
Normalno |
Minimalno |
|
Otvorena pruga i glavni prolazni koloseci: |
3100 |
2700 |
||
za pravac i spoljnu stranu krivine svih poluprečnika, i unutrašnju stranu krivine i R ≥ 1500 m |
2700 |
2500 |
||
za unutrašnju stranu krivine i R < 1500 m |
2800 |
|||
Stanice: |
||||
za pravac i spoljnu stranu krivine svih poluprečnika, i unutrašnju stranu krivine i R ≥1500 m |
2700 |
2200 |
2700 |
2200 |
za unutrašnje krivine i R<1500 |
2800 |
3100 |
2500 |
|
Na peronima uz glavne i preticajne koloseke |
3000 |
2850 |
3300 |
3000 |
Na peronima uz sporedne koloseke |
3000 |
2850 |
3000 |
3000 |
Normalna odstojanja mogu biti i veća od datih u Tabeli 9 ako je to ekonomski opravdano, uzimajući u obzir potrebnu širinu trupa pruge, izvođenje nosećih konstrukcija, najmanju udaljenost temelja zbog mašinskog održavanja pruge, rešenja vešanja voznog voda i primene šipova za temelje nosećih konstrukcija.
Minimalna odstojanja stubova kontaktne mreže na prugama koji se nalaze sa unutrašnje strane krivine s nadvišenjem, osim uslova iz Tabele 9, zadovoljavaju i sledeće uslove:
1) za otvorenu prugu i glavne prolazne koloseke i ostale glavne koloseke za putnički saobraćaj: Dmin = 2500 + Δ1 +50 (mm);
2) za ostale koloseke u stanicama: Dmin = 2200 + Δ2 +50 (mm),
gde se vrednosti Δ, koji zavise od nadvišenja, uzimaju iz Tabele 10, a veličina 50 mm je dodatak na toleranciju gradnje. Kod unutrašnje krivine merodavno je odstojanje na visini 3,05 m iznad gornje ivice šine.
Tabela 10: Povećanje minimalnog odstojanja stuba kod unutrašnje krivine sa nadvišenjem
Nadvišenje |
Za otvorenu prugu i glavne prolazne koloseke i ostale glavne koloseke za putnički saobraćaj |
Ostali |
d (mm) |
Δ1 (mm) |
Δ2 (mm) |
0 |
0 |
0 |
20 |
40 |
52 |
30 |
60 |
78 |
40 |
80 |
103 |
50 |
100 |
129 |
60 |
120 |
154 |
70 |
140 |
180 |
80 |
159 |
205 |
90 |
178 |
230 |
100 |
198 |
255 |
110 |
217 |
280 |
120 |
236 |
305 |
130 |
256 |
330 |
140 |
274 |
354 |
150 |
292 |
379 |
160 |
310 |
404 |
Na uređenim površinama u stanicama treba izbegavati postavljanje stubova kontaktne mreže zbog kvaliteta prostora namenjenog putnicima.
Temelji nosećih konstrukcija
Temelji nosećih konstrukcija dimenzionišu se prema silama koje na njih prenosi noseća konstrukcija i prema svojstvima (nosivosti i sleganju) zemljišta.
U temeljima stubova i portala ostavljaju se otvori ili rupe za naknadno usađivanje konstrukcija.
Osim temelja predviđenih za usađivanje konstrukcija mogu se upotrebljavati i temelji sa sidrenim vijcima za učvršćenje nosećih konstrukcija sa temeljnim blokom.
Za temeljenje stubova i sidara kontaktne mreže preporučuje se primena šipova specijalne konstrukcije za tu namenu.
Kape temelja izvode se s kosinom da se spreči zadržavanje vode, a spoljne površine temelja zaštićuju se glazurom.
Temelji nosećih konstrukcija se izvode tako da gornja kota u odnosu na gornju ivicu šine ili okolnog terena bude:
1) na otvorenoj pruzi u odnosu na gornju ivicu šine:
(1) za udaljenost stuba od ose koloseka Da ≥ 2700 mm: - 500 mm,
(2) za udaljenost stuba od ose koloseka Da < 2700 mm: - 300 mm;
2) u stanicama, na ravnoj površini:
(1) na peronima, uređenim površinama i stazama kojima se kreću putnici: u ravni terena,
(2) na ostalim površinama: najmanje 100 mm iznad terena, ali ne iznad gornje ivice šine.
Najmanja udaljenost ivice temelja koja omogućava nesmetano mašinsko održavanje pruge od ose koloseka na otvorenoj pruzi i glavnim prolaznim kolosecima u stanicama iznosi 2200 mm.
Stubovi kontaktne mreže se ugrađuju sa potrebnim prednagibom kako bi pri normalnom opterećenju postigli vertikalni položaj.
Oznake na nosećim konstrukcijama
Noseće konstrukcije kontaktne mreže imaju sledeće trajne oznake:
1) broj noseće konstrukcije;
2) znak opasnosti od električne struje;
3) oznaku nivoa gornje ivice šine;
4) udaljenost od ose koloseka u (m).
Na stub kontaktne mreže može se postaviti, na visini od 3m od temelja, nazubljena zaštitna obujmica tzv. trn.
Na stub kontaktne mreže može se postaviti građevinska geodetska oznaka za mehanizovano regulisanje koloseka po pravcu i niveleti.
Povratni vod
U strujnom kolu električne vuče za protok struje od vučnog vozila prema elektrovučnoj podstanici upotrebljavaju se šine koloseka i kablovska veza koloseka sa elektrovučnom podstanicom.
U posebnim slučajevima, kada je potrebno postići povoljnija preraspodela struja u svrhu smanjenja lutajućih struja ili nepoželjnog elektromagnetskog uticaja, može se koristiti uz šine koloseka i dodatni povratni vod (nadzemni, položen po stubovima kontaktne mreže ili kablovski).
Tehničko rešenje povratnog voda usklađuje se sa signalno-sigurnosnim uređajima, odnosno sa načinom kontrole zauzetosti koloseka. Pri tome se određuje koje se šine koriste za potrebe signalno-sigurnosnih uređaja, a koje se uključuju u povratni vod, i međusobni tehnički uslovi za siguran rad uređaja i postrojenja.
Povratni vod izvodi se tako da pruža što manji električni otpor, odnosno impedansu. Šine uključene u povratni vod povezuju se u kontinuitetu kako bi se omogućio nesmetan protok struje električne vuče u elektrovučnu podstanicu.
Za postizanje što manje ukupne impedanse povratnog voda, kao i za izjednačenje potencijala, šinski i poprečni prespoji izvode se kvalitetno, a međušinski i međukolosečni prespoji u određenim razmacima.
Omski otpor uzdužnih prespoja šina povratnog voda ne sme biti veći od otpora šine dužine 3 m.
Spoj između elektrovučne podstanice i sabirnice povratnog voda uz prugu izvodi se dvostrukim bakarnim kablovima s nivoom izolacije 1 kV. Preseci kablova se određuju prema očekivanim maksimalnim pogonskim strujama i strujama kratkog spoja elektrovučne podstanice.
Spoj između sabirnice povratnog voda elektrovučne podstanice i koloseka izvodi se višestrukim provodnicima na svaku šinu povratnog voda, u zavisnosti od primenjenog sistema kontrole zauzetosti koloseka.
Izbor i dimenzionisanje opreme, spojeva i prespoja povratnog voda i uzemljenja usklađuje se s najvećim očekivanim pogonskim strujama i strujama kratkog spoja.
Kontinuitet povratnog voda kontaktne mreže i zemljovodnih spojeva osigurava se tokom građenja i upotrebe železničkih infrastrukturnih podsistema, odnosno njihovih sastavnih delova.
Odvajanje povratnog voda
Električno odvajanje elektrificiranih od neelektrificiranih koloseka sprovodi se u slučajevima kada je potrebno sprečiti proticanje povratne struje električne vuče po šinama neelektrificiranog koloseka. Ovo razdvajanje se izvodi ugradnjom izolovanih šinskih sastava u obe šine koloseka, na mestu gde ih zaustavljeno vozilo ne može premostiti.
Kod koloseka predviđenih za pretakanje zapaljivih tečnosti i gasova, rešenja odvajanja povratnog voda, uzemljenja i zaštite izvode se prema utvrđenim zonama kontaktne mreže stanice i standarda SRPS EN50122-1.
Polaganje podzemnih vodova (električnih, vodovodnih, gasnih i slično) koji se nalaze u području elektrificirane pruge, odnosno njihovo približavanje, ukrštanje i eventualno spajanje s povratnim vodom, rešava se tako da se spreči pojava opasnog potencijala, kao i moguće štete usled povratnih struja električne vuče.
Podzemne metalne instalacije, uključujući i uzemljivače, koji napuštaju područje elektrificirane pruge, izvode se tako da se spreči ili smanji prenos povratne struje vuče i opasnog potencijala izvan područja elektrificirane pruge.
Uzemljenje
U slučaju kvara na kontaktnoj mreži, prekida i pada provodnika, proboja izolatora ili dodira sa delovima kontaktne mreže pod naponom, potrebno je da dođe do aktiviranja relejne zaštite kontaktne mreže koja isključuje napajanje tog dela mreže, prekida struju kratkog spoja i trajanje opasnog napona dodira.
U cilju sigurne prorade relejne zaštite kontaktne mreže i prekidanja struje kratkog spoja izvodi se uzemljivanje svih metalnih konstrukcija, kao i svih provodnih delova, koji u uslovima redovnog pogona nisu pod naponom, a nalaze se u zoni kontaktne mreže ili u zoni pantografa. To se odnosi naročito na noseće konstrukcije kontaktne mreže, stubove signala i opremu spoljnih signalno-sigurnosnih uređaja, stubove spoljne rasvete, pružne trafostanice, nadstrešnice te na svu ostalu metalnu opremu.
Sistem zajedničkog uzemljenja električne vuče naizmeničnog sistema čine povratni vod i sva uzemljenja nosećih konstrukcija u zoni kontaktne mreže i uzemljenja elektrovučnih podstanica i postrojenja za sekcionisanje.
Na šine povratnog voda, dvostrukim zemljovodnim spojevima spajaju se:
1) sve metalne konstrukcije u području u kojem je dopušten pristup korisnicima železničkih usluga;
2) noseće konstrukcije kontaktne mreže na kojima su montirani rastavljači ili odvodnici prenapona.
Za noseće konstrukcije kontaktne mreže na kojima su montirani rastavljači i stubne trafostanice 25/0,22 kV izvodi se i dodatno uzemljenje ekvipotencijalnim prstenom.
Radna i zaštitna uzemljenja trafostanica primarno priključenih na postrojenja za napajanje električne vuče povezuju se dvostrukim zemljovodnim spojevima na sistem povratnog voda i gde god je moguće, na različite koloseke.
Mesta spajanja radnih uzemljenja elektrovučnih podstanica, postrojenja za sekcionisanje i trafostanica napajanih iz kontaktne mreže, posebno se označavaju na šinama povratnog voda.
Uzemljenje u zoni kontaktne mreže se izvodi neposrednim spajanjem metalnih konstrukcija na šinu povratnog voda ili, u slučaju primene kolosečnih prigušnica, na neutralnu tačku prigušnice.
U slučajevima kada je potrebno sprečiti prenos povratne struje vuče na konstrukcije, uzemljenje se izvodi posredno preko naprava za ograničenje napona, kao što su iskrišta, odvodnici prenapona, i slično.
Zaštita od opasnog potencijala
Kod pojave kvara na kontaktnoj mreži, usled struja kratkog spoja, dolazi do promene potencijala šine povratnog voda i time do pojave vremenski promenljivog povišenog napona dodira.
Za vreme trajanja redovnog pogona, usled povećanja struje električne vuče pogotovo pri prolasku voza, nastaje povišeni potencijal šine koji dovodi do pojave napona dodira.
Napon dodira koji se javlja nastankom kratkog spoja na šini povratnog voda i konstrukcijama koje su na nju spojene, je unutar dozvoljenih granica datih u Tabeli 11. Njegovo trajanje je vremenski ograničeno ispravnim delovanjem relejne zaštite kontaktne mreže.
Tabela 11: Vrednosti dozvoljenih napona dodira prema SRPS EN 50122-1
Vreme trajanja |
25 kV, 50Hz |
0,02 |
940 |
0,05 |
935 |
0,1 |
842 |
0,2 |
670 |
0,3 |
497 |
0,4 |
305 |
0,5 |
225 |
Napon dodira, koji predstavlja razliku potencijala šine povratnog voda i mesta stajanja, najveći je pri prolasku voza. Njegova je pojava povremena i razmatra se u trajanju između 0,6 i 300 sekundi. Napon dodira ne sme biti veći od vrednosti datih u Tabeli 12.
Tabela 12: Vrednosti dozvoljenih povremenih napona dodira prema SRPS EN 50122-1
Vreme trajanja |
25kV, 50Hz |
0,6 |
160 |
0,7 |
130 |
0,8 |
110 |
0,9 |
90 |
1,0 |
80 |
≤ 300 |
65 |
Ako je trajanje napona dodira duže od 300 sekundi, smatra se trajnim. Trajni napon dodira ne sme biti veći od vrednosti datih u Tabeli 13.
Tabela 13: Vrednosti dozvoljenih trajnih napona dodira prema SRPS EN 50122-1
Objekti |
Vreme trajanja |
25 kV, 50 Hz |
Uopšteno |
>300 |
60 |
Radionice |
>300 |
25 |
Povremeni i trajni napon dodira se razmatra na površinama i mestima stalnog ili povremenog boravka ljudi. Ako je napon dodira veći od dozvoljenog, izvodi se jedna ili više dodatnih zaštitnih mera izvođenjem površinskih uzemljivača i/ili smanjenjem provodnosti posmatrane površine (asfaltiranjem i slično).
Mere zaštite od direktnog dodira
Za zaštitu osoba od nenamernog dodira delova kontaktne mreže pod naponom, prilikom približavanja ili pristupa kontaktnoj mreži, primenjuju se mere zaštite:
1) zaštitnim razmakom;
2) zaštitnim preprekama;
3) zaštitnim pregradama.
Mere zaštite iz stava 1. ovog člana određene se standardom SRPS EN 50122-1.
Zaštitne mere
Svi neaktivni metalni delovi, koji u redovnom pogonu nisu nikada pod naponom, uzemljuju se kako bi se u slučaju kvara omogućilo sigurno aktiviranje zaštite i isključenje napona napajanja.
U službenim mestima vidljivo se ističu upozorenja o opasnostima i zabranjenim postupcima na elektrificiranim prugama u svrhu upozorenja službenog osoblja, korisnika železničkih usluga i ostalih osoba na opasnost od električnoga udara u blizini elektrificiranih koloseka.
đ) Ugradnja drugih instalacija i opreme na noseće konstrukcije kontaktne mreže
Na noseće konstrukcije kontaktne mreže mogu se ugrađivati samo instalacije i oprema koje pripadaju železničkoj infrastrukturi (spoljna rasveta, optički kabl, signali i slično), ako je to ekonomski i tehnički opravdano i ako je moguće primeniti propisane zaštitne mere pri građenju i upotrebi na elektrificiranim prugama.
Ugradnja instalacija i opreme iz stava 1. ovoga člana na noseće konstrukcije kontaktne mreže ne sme ugroziti upotrebu i održavanje stabilnih postrojenja električne vuče, niti umanjiti njihovu raspoloživost.
Nazivni napon dalekovoda koji napaja elektrovučnu podstanicu je 110 kV.
Drugi tehnički uslovi za napojne dalekovode određeni su propisima elektroprivrede.
4. Elektrovučne podstanice i postrojenja za sekcionisanje
Delovi elektrovučne podstanice
Elektrovučna podstanica sastoji se iz:
1) spoljnog razvodnog postrojenja 110 kV;
2) razvodnog postrojenja 25 kV u zgradi;
3) komandnog postrojenja.
Napajanje i izbor opreme
Napajanje elektrovučnih podstanica izvodi se na osnovu tehničkih uslova operatera prenosnog sistema sa 110 kV.
Projektovanje i građenje elektrovučnih podstanica i postrojenja za sekcionisanje vrši se prema propisima kojima se uređuje oblast elektroenergetike, ako odredbama ovoga pravilnika nije drugačije propisano.
Oprema 110 kV u elektrovučnoj podstanici dimenzioniše se prema snazi tropolnog/jednopolnog kratkog spoja na mestu priključenja na prenosnu mrežu operatera prenosnog sistema.
Prilaz elektrovučnoj podstanici
Elektrovučne podstanice i postrojenja za sekcionisanje imaju pristupni put za:
1) transport opreme i uređaja, uvažavajući najveću težinu i dimenzije opreme;
3) vozila za osoblje na izgradnji i održavanju postrojenja.
Elektrovučne podstanice i postrojenja za sekcioniranje zaštićuju se od pristupa neovlašćenih osoba.
b) Energetski transformatori 110/25 kV
Opšte odredbe
U elektrovučnoj podstanici ugrađuju se dva transformatora.
Energetski transformatori se izrađuju i ispituju prema standardu SRPS EN 50329.
Nazivna snaga transformatora je takva da zadovolji rezultate elektroenergetskog proračuna koji se sprovodi za predviđenu prugu za elektrifikaciju na osnovu saobraćajno-tehnološkog projekta.
Svi transformatori jedne elektrovučne podstanice priključuju se uvek na dve iste faze, a izbor faza vrši se uz saglasnost operatera prenosnog sistema.
Transformatori su regulacioni, a regulacija napona se izvodi na sekundarnoj strani transformatora pod opterećenjem.
Tehnički uslovi
U elektrovučnim podstanicama postavljaju se jednofazni transformatori koji ispunjavaju sledeće tehničke uslove:
1) nazivna snaga ≥ 7,5 MVA;
2) sprega transformatora Ii0;
3) frekvencija 50 Hz;
4) prenosni odnos 110/27,5 kV;
5) nazivni napon primarne mreže 110 kV;
6) nazivni primarni napon transformatora 110 kV;
7) najviši radni napon 123 kV;
8) nazivni sekundarni napon 25±10 • 1,5% kV;
9) način hlađenja transformatora ONAN.
Režimi rada
Energetski transformatori imaju sledeće režime rada i regulacije napona:
1) paralelni rad, automatska regulacija;
2) paralelni rad, ručna regulacija;
3) pojedinačni rad, automatska regulacija;
4) pojedinačni rad, ručna regulacija.
Oprema transformatora
Energetski transformatori opremaju se najmanje sledećim:
1) buholc relejom sa dva plovka za sud transformatora;
2) buholc relejom za zaštitu suda regulatora napona;
3) zaštitnim relejom regulacione sklopke;
4) kontaktnim termometrom;
5) sušionikom vazduha;
6) strujnim mernim transformatorom za kotlovsku zaštitu;
7) ventilima za ispust i filtriranje ulja;
8) ventilima za uzimanje uzoraka ulja;
9) otvorima za termometre.
Uslovi pogona vlastite potrošnje
Potrošači koji se napajaju iz transformatora vlastite potrošnje projektuju se i izvode tako da su otporni na uslove pogona sistema električne vuče, kao što su:
1) dopuštene tolerancije napona i frekvencije sistema električne vuče;
2) dopušteni nivo viših harmonika;
3) prenaponi.
Dvopolni prekidači 110 kV
Prekidači 110 kV su dvopolni, sa odvojenim polovima za spoljašnju montažu.
Svaki pol prekidača je opremljen elektromotornim pogonom, ima mogućnost komandovanja daljinski i sa lica mesta električno i mehanički i predviđenu mogućnost ručnog navijanja opruge.
Napon za komandu i signalizaciju je jednosmerni 110 V a napon grejača 230 V, 50 Hz.
Tehnički uslovi su:
1) nazivni napon 110 kV;
2) najviši pogonski napon 123 kV;
3) nazivna frekvencija 50 Hz;
4) nazivna struja ≥ 600 A;
5) nazivna prekidna struja > 26,3 kA;
6) nazivna uklopna struja > 66,7 kA.
Jednopolni prekidači 25 kV
Prekidači 25 kV su jednopolni u vakumskoj tehnologiji sa jednim prekidnim mestom, predviđeni za unutrašnju montažu.
Napon za komandu i signalizaciju je jednosmerni 110 V.
Tehnički uslovi su:
1) nazivni napon ≥25 kV;
2) najviši pogonski napon 27,5 kV;
3) nazivna frekvencija 50 Hz;
4) nazivna struja ≥ 600 A;
5) nazivna prekidna struja > 6 kA;
6) nazivna uklopna struja >15,2 kA.
Rastavljači 110 kV
Rastavljači 110 kV su dvopolni sa ručnim pogonom ili elektromotornim pogonom i elektromotornim pogonom i noževima za uzemljenje ili tropolni sa elektromotornim pogonom i noževima za uzemljenje.
Rastavljači su dvostubni (za tropolne trostubni) sa sinhrozovanim centralnim prekidanjem, za spoljašnju montažu.
Napon za komandu i signalizaciju je jednosmerni 110 V a napon grejača 230 V, 50 Hz.
Tehnički uslovi su:
1) nazivni napon 110 kV;
2) nazivna frekvencija 50 Hz;
3) nazivna struja ≥ 1250 A;
4) nazivna podnosiva struja ≥100 kA.
Rastavljači 25 kV
Rastavljači 25 kV su jednopolni i dvopolni sa ručnim ili elektromotornim pogonom za unutrašnju montažu.
Napon za napajanje motornog pogona, komande i signalizacije je jednosmerni 110 V.
Tehnički uslovi su:
1) nazivni napon ≥ 25 kV;
2) nazivna frekvencija 50 Hz;
3) nazivna struja ≥ 600 A;
4) nazivna kratkotrajno podnosiva struja > 6 kA;
5) nazivna dinamička struja >15,2 kA.
Strujni merni transformatori 110 kV
Strujni merni transformatori 110 kV su jednofazni za spoljnu montažu sa više jezgara.
Tehnički uslovi su:
1) nazivni napon 110 kV;
2) nazivna primarna struja 2x100 A;
3) nazivna kratkotrajna termička struja 30 kA;
4) nazivna dinamička struja 75 kA;
5) jezgro za merenje:
(1) nazivna sekundarna struja 5A,
(2) nazivna snaga 5 VA,
(3) klasa tačnosti 0,5,
(4) faktor sigurnosti 10;
6) jezgro za zaštitu:
(1) nazivna sekundarna struja 5 A,
(2) nazivna snaga 60 VA,
(3) klasa tačnosti 10P,
(4) granični faktor tačnosti 10.
Naponski merni transformatori 110 kV
Naponski merni transformatori 110 kV su jednofazni, jednopolno izolovani za spoljnu montažu.
Tehnički uslovi su:
1) nazivni primarni napon 110/√3 kV:
2) nazivni sekundarni napon 100/√3 V;
3) klasa tačnosti 0,5;
4) nazivna snaga 30 VA.
Naponski merni transformatori 25 kV
Naponski merni transformatori 25 kV su induktivni, jednofazni, jednopolno izolovani za unutrašnju montažu.
Tehnički uslovi su:
1) nazivni primarni napon 25 kV;
2) nazivni sekundarni napon 100 V;
3) klasa tačnosti 1;
4) nazivna snaga 100 VA.
Strujni merni transformatori 25 kV
Strujni merni transformatori 25 kV su jednofazni za unutrašnju montažu sa više jezgara.
Tehnički uslovi za strujne merne transformatore su:
1) nazivni napon 25 kV;
2) nazivna primarna struja 2x300 A;
3) nazivna kratkotrajna termička struja 30 kA;
4) nazivna dinamička struja 75 kA;
5) jezgro za merenje:
(1) nazivna sekundarna struja 5A,
(2) nazivna snaga 30 VA,
(3) klasa tačnosti 1,
(4) faktor sigurnosti 10;
6) jezgro za zaštitu:
(1) nazivna sekundarna struja 5 A,
(2) nazivna snaga 60 VA,
(3) klasa tačnosti 10P,
(4) granični faktor tačnosti 10.
Odvodnici prenapona 110 kV
Tehnički uslovi za odvodnike prenapona 110 kV su:
1) nazivni napon odvodnika 126 kV;
2) nazivni napon mreže 110 kV;
3) nazivna struja 10 kA;
4) odvodnici su u ZnO tehnologiji.
Odvodnici prenapona 25 kV
Tehnički uslovi za odvodnike prenapona 25 kV su:
1) nazivni napon 45 kV;
2) trajni radni napon 36 kV;
3) nazivna struja 10 kA;
4) odvodnici su u ZnO tehnologiji.
e) Oprema za komandovanje, signalizaciju, zaštitu i merenje
Pomoćni napon
Za potrebe pogona lokalnog i daljinskog upravljanja rasklopnim aparatima, lokalne i daljinske signalizacije i rasvete u zgradi, elektrovučne podstanice i postrojenja za sekcionisanje opremaju se sistemom za napajanje pomoćnim naponom 230 V AC, 110 V DC i 48/24 V DC.
Sistem za napajanje pomoćnim jednosmernim naponom izvodi se sa akumulatorskim baterijama i odgovarajućom jedinicom za napajanje.
Za sistem za napajanje pomoćnim jednosmernim naponom, potrebno je:
1) proračunati veličinu (Ah) i kvalitet elemenata izvora;
2) odrediti optimalnu strukturu razvoda;
3) proračunati struje kratkog spoja;
4) analizirati selektivnost delovanja sistema zaštite pojedinih nivoa razvoda;
5) kontrolisati padove napona;
6) kontrolisati termička opterećenja pri normalnim pogonskim uslovima i pri kratkom spoju.
Sredstva veze
Elektrovučne podstanice opremaju se najmanje priključcima na železničku telekomunikacionu mrežu i mogućnošću pristupa javnoj telefonskoj mreži, a postrojenja za sekcioniranje najmanje priključcima na železničku telekomunikacionu mrežu.
Zaštitni releji
Relejna zaštita elektrovučnih podstanica usklađena je s parametrima elektroprivredne mreže i elektrovučnim vozilima.
Za zaštitu izvoda kontaktne mreže predviđa se rele distantne zaštite u mikroprocesorskoj tehnologiji sa prekostrujnim članom za zaštitu voznog voda sa mogućnošću određivanja mesta kvara, memorisanja podataka i njihovog očitavanja na licu mesta i daljinski.
Releji prekostrujne zaštite transformatora su sa vremenskim stepenovanjem u mikroprocesorskoj tehnologiji za 5 A, imaju mogućnost memorisanja podataka i njihovog očitavanja na licu mesta i daljinski.
5. Postrojenja za daljinsko upravljanje
Opšte odredbe
Postrojenja za daljinsko upravljanje sinhronizuju se sa satom realnog vremena, a najmanja dopuštena odstupanja hronologije događaja je 10 ms.
Unutar daljinskog upravljanja stabilnim postrojenjima električne vuče omogućuje se promena nadležnosti, kako između centara upravljanja, tako i prema nivoima upravljanja unutar područja pojedinog centra (daljinsko iz centra daljinskog upravljanja - daljinsko iz elektrovučne podstanice ili postrojenja za sekcionisanje - lokalno s upravljačke ploče - lokalno sa aparata - ručno na aparatu).
Izvođenje i način izbora nivoa upravljanja su takvi da se onemogući istovremeno upravljanje sa više nivoa upravljanja.
Postrojenja za daljinsko upravljanje projektuju se i grade tako da se mogu jednostavno proširivati i nadograđivati.
Centar daljinskog upravljanja
Operativnim radom 24 sata dnevno centra daljinskog upravljanja obezbeđuje se pouzdano energetsko napajanje električne vuče za izvršenje reda vožnje vozova.
Sve signalizacije, komande i merenja kontinuirano se beleže u bazi podataka iz koje se u svakom trenutku mogu dobiti statistike i izveštaji po svim parametrima upravljanja.
Napajanje uređaja i opreme naizmeničnim naponom u centru daljinskog upravljanja izvodi se kao besprekidno napajanje.
Osnovno napajanje uređaja i opreme u centru daljinskog upravljanja je iz distributivne niskonaponske električne mreže 3x380/230 V, 50 Hz.
Pomoćno napajanje uređaja i opreme u centru daljinskog upravljanja je iz uređaja za besprekidno napajanje i stacionarnog električnog agregata ili iz uređaja za besprekidno napajanje i transformatora vlastite potrošnje elektrovučne podstanice ukoliko su centar daljinskog upravljanja i elektrovučna podstanica smešteni u istom objektu ili neposrednoj blizini.
U sistemu za besprekidno napajanje, akumulatorske baterije su kapaciteta dovoljnog za tri sata rada.
Uređaji daljinskog upravljanja na upravljanim mestima i u centru daljinskog upravljanja napajaju se naponom 48/24 V DC, a signalizacija i komande na upravljanim mestima vrše se naponom 110 V DC.
Sredstva veze u centru daljinskog upravljanja
U centrima daljinskog upravljanja osiguravaju se pouzdane telefonske linije javne telefonske mreže i železničke telefonije opšte i posebne namene (dispečerska linija, tzv. E vod i slično).
Centri daljinskog upravljanja opremaju se uređajima za registrovanje razgovora. Svi razgovori koji se vode između centra daljinskog upravljanja i njemu podređenih upravljanih mesta, kao i međusobno između upravljanih mesta i međusobno između različitih centara, automatski se snimaju posebnim uređajima za registraciju razgovora.
Upravljana mesta
Napajanje uređaja naizmeničnim naponom u postrojenjima daljinskog upravljanja u elektrovučnim podstanicama izvodi se kao besprekidno napajanje, i u tu svrhu osiguravaju se akumulatorske baterije kapaciteta dovoljnog za pet sati rada.
Napajanje uređaja daljinskog upravljanja u upravljanim mestima jednosmernim naponom izvodi se kao besprekidno napajanje, i u tu svrhu osiguravaju se akumulatorske baterije kapaciteta dovoljnog za pet sati rada.
Broj i vrsta informacija koje se iz uređaja daljinskog upravljanja u upravljanim mestima prenose u centar daljinskog upravljanja, prethodno se objedinjuju i jednoznačno određuju. Prenose se samo informacije koje su važne za odluke o upravljanju.
Iz upravljanih mesta u centru daljinskog upravljanja prenose se sledeće merne veličine i vrednosti:
1) napon sabirnica 110 kV i 25 kV;
2) struja u trafo poljima 25 kV i izvodnim poljima 25 kV;
3) struja povratnog voda;
4) aktivna snaga opterećenja elektrovučne podstanice;
5) reaktivna snaga opterećenja elektrovučne podstanice;
6) aktivna i reaktivna energija;
7) srednje 15 minutno opterećenje elektrovučne podstanice;
8) napon sabirnica 220 V, 50 Hz;
10) napon ispravljača 48/24 V DC;
11) napon baterije 110 V DC;
12) napon baterije 48/24 V DC;
13) temperatura relejne i baterijske prostorije.
U postrojenjima daljinskog upravljanja u elektrovučnim podstanicama pomoću prenosnog telekomunikacionog puta i komunikacijske opreme omogućava se daljinsko servisiranje procesne aplikacije, iz centra daljinskog upravljanja ili iz ovlašćenog servisnog mesta.
6. Priključak drugih potrošača na sistem napajanja električne vuče
Na stabilna postrojenja električne vuče mogu se priključiti samo sledeći potrošači:
1) postrojenja za predgrevanje i klimatizaciju vozova;
2) postrojenja za grejanje skretnica;
3) uređaji za potrebe daljinskog upravljanja;
4) napojni uređaji podsistema kontrola, upravljanje i signalizacija;
5) postrojenja i uređaji u funkciji bezbednosti železničkog saobraćaja.
Priključak potrošača iz stava 1. ovoga člana na stabilna postrojenja električne vuče dopušteno je samo u slučaju kada nema drugog ekonomski prihvatljivog i tehničko eksploataciono pogodnog rešenja i ne ugrožava pogon niti otežava održavanje stabilnih postrojenja električne vuče
Postrojenja koja se priključuju na stabilna postrojenja električne vuče projektuju se i izvode tako da se prilikom njihovog održavanja ne isključuje napon na stabilnim postrojenjima električne vuče.
Potrošači koji se napajaju iz sistema električne vuče projektuju se i izvode tako da su otporni na uslove pogona sistema električne vuče, kao što su:
1) dopuštene tolerancije napona i frekvencije sistema električne vuče;
2) dopušteni nivo viših harmonika;
3) prenaponi.
7. Tehnički uslovi za bezbednost u železničkim tunelima
Primena
Tehnički uslovi za bezbednost u železničkim tunelima primenjuju se za projektovanje, građenje, obnovu i unapređenje podsistema energija i njegovih sastavnih delova u novim i građevinski obnovljenim i unapređenim železničkim tunelima dužine veće od 1000 m.
Bitni zahtevi bezbednosti u tunelima
Podsistem energija mora zadovoljiti bitne zahteve bezbednosti u tunelima u sledećim područjima:
1) sekcionisanje kontaktne mreže;
2) uzemljenje kontaktne mreže;
3) napajanje električnom energijom;
4) električni kablovi;
5) pouzdanost električnih instalacija.
Sekcionisanje kontaktne mreže u tunelima
Kontaktna mreža projektuje se tako da osigura funkcionalnost u slučaju smetnji u tunelu, tako da se sistem napajanja električne vuče deli na sekcije ne duže od 5000 m.
Svaka sekcija kontaktne mreže se daljinski nadzire i upravlja.
Svaka sekcija ima mogućnost ručnog upravljanja u samom tunelu.
Broj aparata za sekcionisanje treba da je što manji, a njihova lokacija određuje se prema zahtevima plana osiguranja tunela.
Radi lakšeg posluživanja i održavanja, mesta ugradnje opreme za sekcionisanje osvetljavaju se i opremaju sredstvima za komunikaciju.
Uzemljenje kontaktne mreže u tunelima
Obezbeđuje se isključivanje napona i uzemljenje pojedinih sekcija napajanja kontaktne mreže tunela.
Prenosna oprema za uzemljenje nalazi se na ulazima i izlazima tunela, kao i u blizini mesta razdvajanja napojnih sekcija (mesta upravljanja).
Uzemljenje kontaktne mreže obavlja se ručno ili daljinski putem fiksnih instalacija.
Za postupke uzemljenja obezbeđuju se telekomunikaciona sredstva za obaveštavanje.
Postupci i odgovornosti za uzemljenje usaglašavaju se između upravljača infrastrukture i službi spašavanja u planu obezbeđenja tunela i planu spašavanja.
Konstrukcije i oprema kontaktne mreže u tunelima
Konstrukcije i spojna oprema kontaktne mreže u tunelima su od materijala koji je otporan na koroziju i projektovana na aerodinamične uticaje.
Konstrukcija i oprema kontaktne mreže, kao što su uređaji za automatsko zatezanje, ormarići i slično, smeštaju se tako da ne zauzimaju prostor za evakuaciju u tunelu i ne ograničavaju slobodan profil tunela za saobraćaj vozova.
Potreban prostor za smeštaj i raspored nosećih konstrukcija i opreme kontaktne mreže, kao i način njihovog učvršćivanja, određuju se u građevinskom projektu tunela.
Napajanje električnom energijom u tunelima
Sistem napajanja tunela električnom energijom usklađuje se sa planom spašavanja i potrebama službi spašavanja. Ukoliko iz određenih razloga nema potrebe za napajanjem opreme službe spašavanja, to se navodi u planu spašavanja.
Električni kablovi u tunelima
Kablovi koji mogu biti izloženi požaru, ispunjavaju sledeće zahteve:
1) niska zapaljivost;
2) da ne potpomažu gorenje ili širenje požara;
3) što manje oslobađanje toksičnih gasova i dima.
Pouzdanost električnih instalacija u tunelima
Električne instalacije koje su od sigurnosnog značaja (sigurnosna rasveta, dojava požara, komunikacijski uređaji) zaštićuju se od mogućih mehaničkih oštećenja, toplote i požara.
Sistem napajanja i razvoda električnom energijom mora biti u punoj funkciji i u slučaju ispadanja vitalnog elementa iz pogona.
Sigurnosna rasveta i komunikacijski sistemi imaju 90-minutnu autonomiju u slučaju prekida napajanja električnom energijom.
Sigurnosna rasveta u tunelima
Sigurnosna rasveta staze evakuacionog puta primenjuje se u tunelima čija je dužina veća od 500 m, kako bi se putnicima i voznom osoblju omogućilo brzo napuštanje tunela i to:
1) u tunelima jednokolosečne pruge, na jednoj strani tunela;
2) u tunelima dvokolosečne pruge, na obe strane tunela.
Zahtevi za sigurnosnu rasvetu su:
1) položaj svetiljki je iznad staze za evakuaciju što je moguće niže i ne sme ometati kretanje ljudi, ili mogu biti ugrađene u rukohvat;
2) najmanja osvetljenost staze iznosi 1 lx.
Ako je sigurnosna rasveta isključena u redovnom pogonu, njeno uključivanje se vrši:
1) daljinski iz centra za nadzor i upravljanje;
2) ručno unutar tunela, u razmacima ne većim od 250 m.
III OSNOVNI TEHNIČKI USLOVI ZA POGONSKA ELEKTROENERGETSKA POSTROJENJA
Opšte odredbe
Pogonska elektroenergetska postrojenja su trafostanice opšte namene, trafostanice za predgrevanje i klimatizaciju putničkih kola, trafostanice za grejanje skretnica, postrojenja rasvete otvorenog prostora, srednjenaponska nadzemna i kablovska mreža, niskonaponska nadzemna i kablovska mreža, stacionarni agregati za rezervno napajanje i električne instalacije u halama i zgradama.
Pogonska elektroenergetska postrojenja koja se priključuju na mrežu operatera distributivnog sistema, priključuju se u skladu sa uslovima koje propisuje operater distributivnog sistema.
U pogonskim elektroenergetskim postrojenjima primenjuju se uzemljenja i mere zaštite u skladu sa standardom SRPS EN 50122-1 i tehničkim uslovima operatera distributivnog sistema.
Sklopovi za grejanje skretnica mogu se priključiti na trafostanice opšte namene, niskonaponsku mrežu i na trafostanice za grejanje skretnica koje su priključene na kontaktnu mrežu.
Pogonska elektroenergetska postrojenja opremaju se indikacijom koji su potrošači priključeni na pogonska elektroenergetska postrojenja.
Trafostanice za predgrevanje i klimatizaciju putničkih kola
Trafostanice za predgrevanje i klimatizaciju putničkih kola u polaznim stanicama vozova koriste energetske transformatore snage 250 i 500 kVA.
Sekundarni napon transformatora u praznom hodu je 1500 V.
Transformatori trafostanica priključenih na postrojenja kontaktne mreže su prenosnog odnosa 25/1,5 ± 2x2,5% kV.
Trafostanice za grejanje skretnica, napajanje signalno-sigurnosnih uređaja i telekomunikacionih mreža
Trafostanice za grejanje skretnica priključene na postrojenja kontaktne mreže koriste energetske transformatore snage 20 - 100 kVA.
Sekundarni napon transformatora u praznom hodu je 230 V.
Transformatori trafostanica priključenih na kontaktnu mrežu su prenosnog odnosa 25/0,23 ± 2x2,5% kV.
Postrojenja za osvetljenje otvorenog prostora
Najmanje vrednosti horizontalne osvetljenosti radnih prostora određene su propisima kojima se uređuje bezbednost i zdravlje na radu.
Postrojenja za osvetljenje otvorenog prostora projektuju se i grade tako da se postigne zadovoljavajuća ravnomernost rasvete, definisana kao odnos najmanje i srednje osvetljenosti.
Pod osvetljenjem otvorenog prostora podrazumeva se osvetljenje podhodnika, peronskog, skretničkog, manipulativnog i prilaznog prostora.
Stubovi osvetljenja
Stubovi osvetljenja omogućavaju jednostavno, bezbedno i delotvorno održavanje osvetljenja i ne zahtevaju specijalnu opremu za održavanje, isključenje napona postrojenja kontaktne mreže i slično.
Raspored stubova osvetljenja i izvori svetla ne smeju uticati na železničku signalizaciju, bilo da rasporedom zaklanjaju signale, da jačinom osvetljenosti nadjačaju signal ili da izvor svetla zbog boje bude pogrešno shvaćen kao signalni znak.
Blještanje se izbegava projektovanjem i primenom odgovarajuće visine postavljanja, razmaka i odgovarajućih svetlotehničkih karakteristika svetiljki.
Upravljanje osvetljenjem otvorenog prostora
Upravljanje osvetljenjem otvorenog prostora u službenim mestima vrši se iz službene prostorije ručno i automatski.
Stacionarni agregati za rezervno napajanje
Za napajanje postrojenja i uređaja železničkog podsistema energija čiji je rad od posebne važnosti za bezbednost železničkog saobraćaja koriste se, u slučaju nestanka osnovnog napajanja, stacionarni agregati za rezervno napajanje kao što su dizel električni agregati, uređaji za besprekidno napajanje i slično.
Stacionarni agregati za rezervno napajanje imaju mogućnost ručnog i automatskog uključivanja i isključivanja. Stacionarni agregati za rezervno napajanje omogućavaju napajanje u trajanju od osam sati uz nazivno opterećenje.
Mere zaštite ostalih postrojenja i instalacija od sistema za napajanje električne vuče
U cilju sprečavanja prenosa povratne struje vuče i opasnih potencijala na daljinu preko električnih instalacija ili njihovih uzemljenja, primenjuju se odredbe standarda SRPS EN 50122-1.
Uslovi iz stava 1. ovog člana primenjuju se za izgradnju električnih instalacija koje se nalaze u zoni kontaktne mreže ili u području uticaja povratnih struja vuče.
Stupanje na snagu
Ovaj pravilnik stupa na snagu osmog dana od dana objavljivanja u "Službenom glasniku Republike Srbije".
PROFIL GLAVE PANTOGRAFA

A - klizna letva,
B - radni deo,
C - izolovani rog,
D - širina pantografa
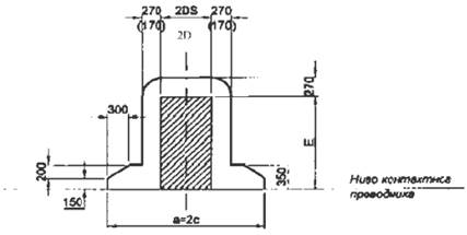
PROSTOR IZNAD PANTOGRAFA ZA SMEŠTAJ VOZNOG VODA
c - 1300 mm (usvojeno)
E - Sistemska visina voznog voda
na otvorenoj pruzi normalna: 1400/1000 mm,
u tunelima: normalna (500-650 mm),
smanjena 340 (250-450 mm),
izuzetna 0 mm.
DS - Maksimalni statistički otklon kontaktne mreže u odnosu na osu statičkog pantografa (poligonacija).
D - Maksimalni otklon voznog voda u odnosu na osu statičkog pantografa pod dejstvom vetra.
Vrednosti DS i D menjaju se sa dužinom posmatranog raspona i zateznog polja.
Šrafirano - Polje aktivnog voznog voda.









