PRAVILNIK O OBAVEZNOM ATESTIRANJU PROTIVUDARNIH VENTILA ZA SKLONIŠTA I DVONAMENSKE OBJEKTE I O USLOVIMA KOJE MORAJU ISPUNJAVATI ORGANIZACIJE UDRUŽENOG RADA OVLAŠĆENE ZA ATESTIRANJE TIH PROIZVODA("Sl. list SFRJ", br. 24/90) |
Ovim pravilnikom propisuje se postupak obaveznog atestiranja protivudarnih ventila za zaštitu otvora za dovod vazduha od vazdušnog udarnog talasa, u skloništima i dvonamenskim objektima, i to protivudarnih ventila sa propusnim impulsom većim od nule i protivudarnih ventila sa propusnim impulsom jednakim nuli, na koje se odnosi Pravilnik o tehničkim normativima za skloništa ("Službeni list SFRJ", br. 55/83).
Ovim pravilnikom određuju se i uslovi koje moraju ispunjavati organizacije udruženog rada ovlašćene za atestiranje tih proizvoda.
Postupak atestiranja protivudarnih ventila za skloništa i dvonamenske objekte (u daljem tekstu: PUV) sprovodi se na sledeći način:
1) za proizvode iz domaće proizvodnje atestira se tip proizvoda, uz kontrolu saobraznosti proizvoda iz proizvodnje atestiranom tipu;
2) za proizvode iz uvoza atestira se tip proizvoda, uz kontrolu saobraznosti proizvoda iz svake partije isporuke istog tipa i porekla.
Tip proizvoda određen je u Pravilniku o tehničkim normativima za skloništa.
Radi obaveznog atestiranja PUV iz člana 1. ovog pravilnika, proverava se tehnička dokumentacija i ispituju sledeće karakteristike PUV:
1) funkcionalnost;
2) otpor vazduha - zapreminski protok vazduha;
3) otpornost prema mehaničkom udarnom opterećenju;
4) vreme zatvaranja;
5) propusni impuls nadpritiska iza PUV.
Pod tehničkom dokumentacijom iz stava 1. ovog člana podrazumevaju se:
1) konstrukciona dokumentacija, sa glavnim montažnim crtežom;
2) proračuni konstrukcionih elemenata i rezultati propusnog impulsa pritiska;
3) podaci o kvalitetu zavarenih spojeva i zaštiti od korozije;
4) uputstvo za ugradnju, rukovanje i održavanje.
Karakteristike kvaliteta PUV koje podležu ispitivanju radi obaveznog atestiranja utvrđene su:
1) u tehničkoj dokumentaciji - funkcionalnost;
2) u Pravilniku o tehničkim normativima za skloništa - otpor vazduha, zapreminski protok vazduha kroz PUV pri normalnom provetravanju;
3) u tabeli 1 - otpornost prema mehaničkom udarnom opterećenju od nadpritiska vazdušnog udarnog talasa za pozitivno opterećenje:
Tabela 1
Parametar |
Najveći reflektovani nadpritisak Prmax ' |
Trajanje reflektovanog nadpritiska - 'poz, (s) |
Impuls reflektovanog nadpritiska ispred PUV I,(Ns/m2) |
100 (kPa) |
300 |
3,0 |
300×103 |
200 (kPa) |
600 |
2,5 |
420×103 |
300 (kPa) |
900 |
2,0 |
450×103 |
Otpornost prema mehaničkom udarnom opterećenju od nadpritiska vazdušnog udarnog talasa za negativno opterećenje iznosi 30 kPa.
Propusni impuls nadpritiska iza PUV, za sve stepene zaštite skloništa, ne sme biti veći od 36 ms/m2;
4) u tabeli 2 - vreme zatvaranja PUV, zavisno od stepena zaštite skloništa:
Tabela 2
Stepen zaštite |
Vreme zatvaranja, najviše ms |
100 |
5,0 |
200 |
3,0 |
300 |
2,0 |
Karakteristike PUV iz člana 3. ovog pravilnika ispituju se u postupku atestiranja tipa proizvoda na sledeći način:
1) funkcionalnost PUV - ručnim pomeranjem sklopa za zatvaranje ventila i vizuelnim pregledom ispravnosti montaže;
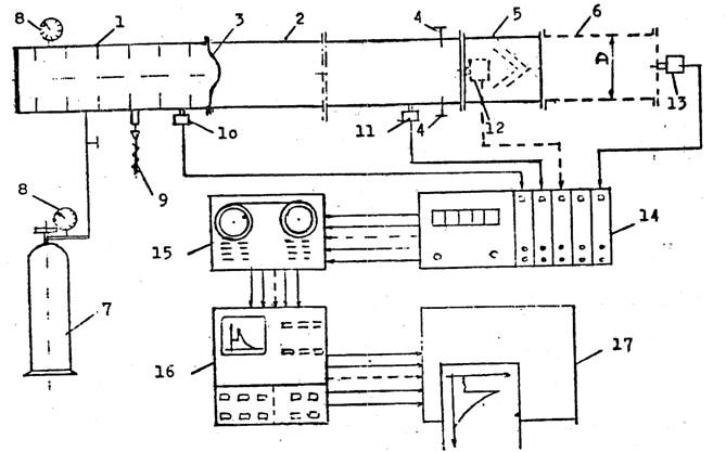
2) otpor vazduha - zapreminski protok vazduha kroz PUV na mernom uređaju prikazanom na slici 1, na kome treba ugraditi difuzore - konfuzore za spoj PUV sa mernim kanalima (poz. 2 i 4) za različite veličine PUV, i to:
a) merenjem u 20 tačaka sa početkom pri zatvorenom regulatoru pritiska vazduha (slika 1, poz. 8) i završetkom (tačka 20) pri protoku vazduha većem od nazivnog protoka;
b) pomoću mernog usisnog kolektora MUK (slika 1, poz. 1), spajanjem sondi (slika 1, poz. 9) sa mikromanometrom za očitavanje negativnih pritisaka. Razlika statičkih pritisaka meri se na kanalima (slika 1, poz. 2 i 4) spajanjem sondi (slika 1, poz. 10 i 11) sa mikromanometrom za očitavanje. Svi parametri se očitavaju u isto vreme u zadnjoj tački merenja.
Otpor vazduha - zapreminski protok vazduha kroz PUV, pri nazivnom protoku vazduha, ne sme biti veći od 200 Pa;
3) otpornost prema mehaničkom udarnom opterećenju nadpritiska vazdušnog talasa ispituje se na udarnoj cevi (prema slici 2) za pozitivno i negativno opterećenje, i to:
a) za pozitivno opterećenje:
- određuje se probni pritisak radi proveravanja mernih sondi i parametara datih u tabeli 1. To ispitivanje se vrši na udarnoj cevi bez PUV (slika 2, poz. 5) i impulsnoj cevi (slika 2, poz. 6). Na kraju udarne cevi, u ekspanzionoj komori (slika 2, poz. 2) treba ugraditi ploču sa mernom sondom (slika 2, poz. 12);
- ispitivanje se vrši tako što se komora visokog pritiska (slika 2, poz. 1) puni vazduhom iz rezervoara komprimovanog vazduha (slika 2, poz. 7) i u momentu rasprsnuća membrane (slika 2, poz. 3) u ekspanzionoj komori (slika 2, poz. 2) formira se udarni talas koji odgovara opterećenju pozitivne faze vazdušnog udarnog talasa atomske eksplozije;
|
|
Na slici je: |
|
Slika 1 |
|

Slika 2
1 - komora visokog pritiska
2 - ekspanziona komora
3 - membrana
4 - ekspanzioni ventil
5 - protivudarni ventil
6 - impulsna cev
7 - rezervoar komprimovanog vazduha
8 - mehanički manometar
9 - ventil sigurnosti
10 - pretvarač pritiska (sonda)
11 - bočna sonda
12 - čeona sonda
13 - čeona sonda
14 - merni most
15 - magnetofon
16 - dinamički analizator
17 - pisač
- svi parametri iz tabele 1 kao i tok krive udarnog talasa registruju se pomoću mernih sondi (slika 2, poz. 11 i 12);
- tok krive udarnog talasa prikazan je na slici 3;

Slika 3
- trajanje pozitivne faze udarnog talasa reguliše se pomoću ekspanzionih ventila (slika 2, poz. 4);
- odstupanje impulsa reflektovanog nadpritiska ispred PUV izračunava se kao razlika površina ispod eksperimentalne i teorijske krive prema sledećoj jednačini i ne sme iznositi više od 6%:
DI = |
I - Iexp |
×100 |
(1) |
I |
gde je:
DI - odstupanje impulsa reflektovanog nadpritiska ispred PUV, u njutnsekundama po kvadratnom metru (Ns/m2)
Iexp - impuls reflektovanog nadpritiska ispred PUV dobijen ispitivanjem, u njutnsekundama po kvadratnom metru (Ns/m2)
I - impuls nadpritiska (videti tabelu 1);
- teorijska kriva impulsa reflektovanog nadpritiska data je u jednačini:
DPr= DPrmax |
(I - |
t |
)n |
(2) |
tpoz |
gde je:
DPr - reflektovani nadpritisak, u kilopaskalima (kPa)
DPrmax - maksimalni reflektovani nadpritisak, u kilopaskalima (kPa)
tpoz - trajanje pozitivne faze, u sekundama (s)
n - eksponent, zavisno od DPrmax, prema tabeli 3
Tabela 3
DPrmax |
0 |
0,15 |
0,30 |
0,50 |
0,75 |
1,00 |
1,50 |
2,00 |
2,50 |
3,00 |
3,50 |
n |
0 |
0,40 |
0,65 |
0,90 |
1,12 |
1,35 |
1,55 |
1,70 |
1,85 |
2,00 |
2,11 |
DPrmax |
4,00 |
4,50 |
5,00 |
6,00 |
7,00 |
8,00 |
9,00 |
10,0 |
11,0 |
12,0 |
13,0 |
n |
2,22 |
2,32 |
2,42 |
2,60 |
2,75 |
2,89 |
3,02 |
3,14 |
3,25 |
3,35 |
3,35 |
DPrmax |
14,0 |
15,0 |
|
|
|
|
|
|
|
|
|
n |
3,53 |
3,60 |
|
|
|
|
|
|
|
|
|
- impuls nadpritiska reflektovanog udarnog talasa, izražen u njutnsekundama po kvadratnom metru (Ns/m2), dat je u jednačini:
I = |
1 |
×DPrmax × tpoz |
(3) |
n + 1 |
- PUV se ugrađuje na udarnu cev posle određivanja probnog pritiska, tako što se ploča sa sondom (slika 2, poz. 12) skida sa kraja udarne cevi, a na njeno mesto postavlja PUV (slika 2, poz. 5) - (za slučajeve primene različitih veličina PUV većih od 300 mm, treba ugraditi za spoj PUV difuzore pod bočnim uglom ne većim od 4°);
- radno opterećenje na PUV određuje se na isti način kao za probni pritisak;
- tok krive registruje se pomoću merne sonde (slika 2, poz. 11), mernog mosta (slika 2, poz. 14), višekanalnog magnetofona (slika 2, poz. 15), dinamičkog analizatora (slika 2, poz. 16) i pisača (slika 2, poz. 17);
- ispitivanje se ponavlja tri puta;
- za ispitivanje se koriste merne sonde za pritiske do 1000 kPa, 2000 kPa i 10000 kPa, odgovarajućih karakteristika;
b) za negativno opterećenje:
- protivudarni ventil se skida sa udarne cevi, okreće za 180° i montira na kraj udarne cevi;
- ispitivanje se vrši kao za pozitivno opterećenje, izuzev što radno opterećenje iznosi 15 kPa, u trajanju od najmanje 10 s, pri čemu membrana mora pravilno da nalegne i da se zatvori;
- membrana udarne cevi (slika 2, poz. 3), koja razdvaja komoru visokog pritiska od ekspanzione komore, može biti od veštačkog materijala ili od metala;
- za ispunjenje uslova iz tabele 1 ovog pravilnika, zavisno od stepena zaštite i pri konstantnoj dužini komore visokog pritiska 15 (slika 2, poz. 1), dužina ekspanzione komore 11 (slika 2, poz. 2) menja se prema tabeli 4:
Tabela 4
|
|
|
||||||||||||||||||
1,000 |
294,300 |
1,000 |
||||||||||||||||||
1,258 |
54,689 |
1,251 |
||||||||||||||||||
1,560 |
25,063 |
1,539 |
||||||||||||||||||
1,925 |
15,386 |
1,868 |
||||||||||||||||||
2,354 |
10,667 |
2,237 |
||||||||||||||||||
2,862 |
7,915 |
2,650 |
||||||||||||||||||
3,453 |
6,134 |
3,108 |
||||||||||||||||||
4,148 |
4,901 |
3,613 |
||||||||||||||||||
4,958 |
4,005 |
4,169 |
||||||||||||||||||
5,900 |
3,330 |
4,770 |
||||||||||||||||||
7,004 |
2,807 |
5,425 |
||||||||||||||||||
8,282 |
2,392 |
6,133 |
||||||||||||||||||
9,758 |
2,057 |
6,893 |
||||||||||||||||||
11,470 |
1,783 |
7,709 |
||||||||||||||||||
13,450 |
1,555 |
8,579 |
||||||||||||||||||
15,73 |
1,364 |
9,506 |
||||||||||||||||||
18,39 |
1,201 |
10,489 |
||||||||||||||||||
21,47 |
1,062 |
11,530 |
||||||||||||||||||
24,99 |
0,943 |
12,629 |
||||||||||||||||||
29,03 |
0,839 |
13,785 |
||||||||||||||||||
33,71 |
0,748 |
15,000 |
||||||||||||||||||
45,30 |
0,599 |
17,607 |
||||||||||||||||||
60,80 |
0,482 |
20,450 |
||||||||||||||||||
81,38 |
0,390 |
23,530 |
||||||||||||||||||
108,30 |
0,310 |
26,846 |
gde je:
P5 - pritisak u komori visokog pritiska, u kilopaskalima (kPa)
P1 - atmosferski pritisak, u kilopaskalima (kPa)
Pr - reflektovani pritisak vazdušnog udarnog talasa, u kilopaskalima (kPa)
15 - dužina komore visokog pritiska, u metrima (m)
11 - dužina ekspanzione komore, u metrima (m);
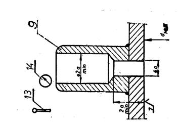
4) vreme zatvaranje PUV, utvrđeno u tabeli 2 ovog pravilnika, ispituje se kao vremenska razlika između početka dodira membrane ventila sa njegovim sedištem i početka pokretanja membrane pod dejstvom simuliranog udarnog talasa u udarnoj cevi, na način prikazan na slici 4:
Uređaj za merenje vremena zatvaranja membrane PUV, sa prekidačem, ugrađuje se na izlaznom delu kućišta PUV (slika 4, poz. 1). Uređajem se registruje početak pokretanja membrane i dodira sedišta PUV (slika 4, poz. 5) i letve (slika 4, poz. 4) na kojoj su napravljeni prorezi, čiji razmaci odgovaraju hodu membrane PUV. Neprekidni dodir između letve i membrane PUV ostvaruje se pomoću opruge (slika 4, poz. 7).
Vreme zatvaranja i toka krive registruje se pomoću optoprekidača (slika 4, poz. 5), magnetofona (slika 4, poz. 10), osciloskopa ili dinamičkog analizatora (slika 4, poz. 11) i pisača (slika 4, poz. 12).
Rezultati ispitivanja se prikazuju dijagramom (slika 5), gde je tz vreme zatvaranja membrane PUV;
5) propusni impuls nadpritiska iza PUV ispituje se u posebnoj impulsnoj cevi koja se postavlja iza PUV, i to tako što se jedan kraj impulsne cevi priključuje na PUV, a drugi kraj cevi se zatvori poklopcem u čijem središtu se nalazi otvor za smeštanje sondi (slika 2, poz. 13).

Slika 4
Na slici je:
1 - kućište PUV
2 - membrana PUV
3 - osovina PUV
4 - letva
5 - prekidač
6 - nosač optoprekidača
7 - opruga
8 - provodnici
9 - izvor napajanja
10 - magnetofon
11 - osciloskop - dinamički analizator
12 - pisač

Slika 5
Rezultati dinamičkih karakteristika propusnog impulsa iza PUV, Pri i ti, registruju se kao u članu 4, pod 3).
Rezultati ispitivanja prikazuju se grafički, u vidu krive prikazane na slici 6.
gde je:
DPri - reflektovani nadpritisak na kraju impulsne cevi, u kPa;
ti - vreme za koje opadne nadpritisak DPri na atmosferski, u ms;
Ii - impuls nadpritiska, u Ns/m2

Slika 6
Uz zahtev za atestiranje, podnosilac zahteva dostavlja organizaciji udruženog rada ovlašćenoj za obavljanje obaveznog atestiranja sledeće podatke:
1) kratak opis PUV, sa definicijom tipa prema Pravilniku o tehničkim normativima za skloništa;
2) tehničku dokumentaciju;
3) dokaz o kvalitetu:
a) materijala koji je u konstrukciji PUV direktno izložen opterećenjima iz člana 4. ovog pravilnika,
b) zavarenih spojeva;
4) dokaz o kvalitetu materijala za zaštitu od korozije, i to:
a) materijala za osnovni premaz i boju,
b) razređivača,
v) materijala za podmazivanje;
5) dokaz o stručnoj osposobljenosti varilaca, u skladu sa jugoslovenskim standardom JUS C.T3.061 - Tehnika varenja metala. Ispitivanje stručne sposobnosti varilaca za elektrolučno i plinsko varenje čelika.
Uzorke za ispitivanje, radi obaveznog atestiranja tipa PUV, odabira organizacija udruženog rada ovlašćena za obavezno atestiranje kod proizvođača - iz proizvedene količine PUV ili na skladištu uvoznika - iz partije uvoza.
Od svakog tipa PUV iz domaće proizvodnje uzimaju se po dva uzorka, a od svakog tipa iz svake partije uvoza uzima se po jedan uzorak.
O uzimanju uzoraka, organizacija udruženog rada ovlašćena za obavezno atestiranje sastavlja zapisnik, koji sadrži:
1) naziv i sedište proizvođača, odnosno uvoznika;
2) naziv i tip proizvoda;
3) broj uzoraka;
4) oznake na uzorcima;
5) mesto i datum uzimanja uzoraka;
6) obaveštenje o uočenim nedostacima, kao što su vidljive greške na PUV, strane materije vidljive golim okom, neujednačenost boje, nepotpuno ili pogrešno označavanje, nepostojanje uputstva za rukovanje i održavanje itd.
Zapisnik potpisuju predstavnici proizvođača, odnosno uvoznika i predstavnici organizacije udruženog rada ovlašćene za obavezno atestiranje.
Posle ispitivanja, uzorci se čuvaju kod proizvođača, odnosno uvoznika.
Izveštaj o ispitivanju PUV proizvedenih u Socijalističkoj Federativnoj Republici Jugoslaviji sadrži:
1) osnovne tehničke podatke o PUV;
2) podatke o uzimanju uzoraka, i to: broj uzoraka, oznake na uzorcima, mesto i datum uzimanja uzoraka i broj zapisnika;
3) vrednosti karakteristika kvaliteta dobijene ispitivanjima u skladu sa članom 5. ovog pravilnika;
4) zaključak u kome organizacija udruženog rada ovlašćena za obavezno atestiranje obrazlaže izdavanje ili odbijanje izdavanja atesta;
5) naziv organizacije udruženog rada ovlašćene za obavezno atestiranje, sedište i datum, potpis ovlašćenog lica i pečat.
Izveštaj o ispitivanju PUV uvezenih iz inostranstva, pored podataka iz stava 1. ovog člana, sadrži i: vrstu i tip PUV, naziv proizvođača, zemlju porekla, naziv isporučioca, odnosno uvoznika, broj i datum zaključnice, broj i datum ugovora, broj i datum fakture, mesto i datum prispeća i količinu.
Za PUV za koje se ispitivanjem utvrdi da ispunjavaju propisane uslove, organizacija udruženog rada ovlašćena za obavezno atestiranje izdaje atest, uz koji prilaže izveštaj o ispitivanju.
Atest, sa priloženim izveštajem o ispitivanju izdaje se u tri primerka, od kojih se jedan dostavlja podnosiocu zahteva za atestiranje, jedan Saveznom zavodu za standardizaciju, a jedan zadržava organizacija udruženog rada koja je izdala atest.
Rok važenja atesta za atestiranje tip PUV domaće proizvodnje koji se proizvodi serijski jeste šest godina od dana izdavanja atesta ako se kontrolnim ispitivanjem izvršenim prema članu 11. ovog pravilnika utvrdi da je PUV iz proizvodnje saobrazan atestiranom tipu.
Važenje izdatog tipskog atesta prestaje kad se na atestiranom tipu PUV izvrše izmene u konstrukciji koje utiču na propisane karakteristike PUV. U tom slučaju, o izvršenim izmenama proizvođač mora da obavesti organizaciju udruženog rada ovlašćenu za obavezno atestiranje koja je izdala atest, radi ponovnog atestiranja tog tipa PUV.
Rok važenja atesta za PUV iz uvoza je jedna godina.
Smatra se da je PUV snabdeven važećim atestom, bez obzira na datum prodaje, ako je proizveden u roku važenja atesta.
PUV za koji je izdat atest, proizvođač, odnosno uvoznik, označava atestnim znakom.
Atestni znak se stavlja na posebnu pločicu, nalepnicom ili utiskivanjem, sa spoljašnje strane, na prirubnici izlaznog dela PUV, u skladu sa Naredbom o izgledu i upotrebi atestnog znaka ("Službeni list SFRJ", br. 4/79 i 31/81), pri čemu veličina "V" iz tačke 4. te naredbe mora da iznosi najmanje 50 mm.
Atestni znak mora da sadrži i slovnu i dvocifrenu brojčanu oznaku. Slovna oznaka odnosi se na grupu i podgrupu jugoslovenskih standarda kojima pripada PUV (ZN), a brojčana oznaka je šifra organizacije udruženog rada ovlašćene za obavezno atestiranje.
Pored atestnim znakom, PUV mora da bude obeležen i posebnom pločicom, koja sadrži:
1) naziv i sedište proizvođača, odnosno uvoznika;
2) oznaku tipa proizvoda, prema pravilniku;
3) broj i datum izdavanja tipskog atesta;
4) godinu proizvodnje.
Pločica se izrađuje od aluminijumskog lima, nerđajućeg čelika, bronze ili mesinga, a pričvršćuje se na jedan od sledećih načina:
1) mekim ili tvrdim lemljenjem, direktno ili pomoću okvira;
2) upuštenim vijcima, blokiranim na određenom mestu punktiranjem ili mekim lemljenjem.
Saobraznost PUV iz domaće proizvodnje atestiranom uzorku kontroliše se jedanput u tri godine.
Kontrolu saobraznosti PUV vrši organizacija udruženog rada ovlašćena za obavezno atestiranje.
Prilikom kontrole saobraznosti ispituju se karakteristike kvaliteta propisane u članu 3. ovog pravilnika.
Metode ispitivanja karakteristika kvaliteta, prilikom kontrole saobraznosti, propisane su u članu 5. ovog pravilnika.
Za kontrolu saobraznosti uzima se jedan uzorak, a postupak uzimanja uzorka propisan je u članu 7. ovog pravilnika.
Ako rezultati ispitivanja pokažu da tri ili više karakteristika kvaliteta ne ispunjavaju uslove propisane u članu 4. ovog pravilnika, atest se oduzima.
Ako rezultati ispitivanja pokažu da jedna karakteristika kvaliteta ili dve karakteristike kvaliteta ne ispunjavaju uslove propisane u članu 4. ovog pravilnika, atest se povlači, a ispitivanje karakteristike ili karakteristika koje nisu zadovoljile ponavlja se na dvostrukom broju uzoraka. Posle tako ponovljenog ispitivanja, atest se potvrđuje ako su rezultati pozitivni ili se oduzima ako su rezultati negativni.
Izveštaj o kontroli saobraznosti PUV atestiranom tipu izdaje organizacija udruženog rada ovlašćena za obavezno atestiranje.
Izveštaj iz stava 8. ovog člana sadrži podatke propisane u članu 8. ovog pravilnika.
Za obavezno atestiranje PUV može se ovlastiti organizacija udruženog rada koja ispunjava sledeće uslove:
1) raspolaže sledećom opremom:
a) udarnom cevi za ispitivanje PUV, sa najmanje četiri davača (električnih pretvarača) pritiska sa istovremenim registrovanjem toka krive linije promene nadpritiska u funkciji vremena;
b) višekanalnim (dinamičkim) mernim mostom;
v) višekanalnim uređajem (mangetofonom) za registrovanje toka krive linije promene nadpritiska;
g) dinamičkim analizatorom ili osciloskopom;
d) pisačem;
đ) manometrima sa mernim opsegom do: 30, 60, 180 i 260 bar;
e) kompresorom od 150 bar;
ž) optoprekidačima (najmanje dva) koji rade na frekvenciji od 1 000 Hz;
z) izvorom jednosmernog napona 6 V i 9 V;
i) opitnom instalacijom za ispitivanje otpora pri stacionarnom strujanju vazduha kroz PUV;
j) ventilatorom sa zapreminskim protokom većim od 0,45 m3/s;
k) mikromanometrima, odnosno manometrima klase tačnosti od 1 Pa, za merenje pada pritiska kroz PUV;
l) aerodinamičkim sondama za merenje dinamičkih i statičkih pritisaka u ispitnoj aparaturi ili pretkomori;
2) ima radnike za obavezno atestiranje sa sledećim stručnim kvalifikacijama:
a) diplomiranog inženjera mašinstva sa najmanje deset godina radnog iskustva na ispitivanju elemenata zaštitnih sistema - ako je u pitanju radnik koji rukovodi ispitivanjima PUV;
b) diplomiranog inženjera mašinstva sa najmanje pet, odnosno pogonskog inženjera mašinstva sa najmanje sedam godina radnog iskustva na ispitivanju zaštitnih sistema - ako je u pitanju stručni radnik;
v) diplomiranog inženjera elektrotehnike sa najmanje dve godine radnog iskustva na ispitivanjima predviđenim u ovom pravilniku;
g) dva visokokvalifikovana radnika sa najmanje pet godina radnog iskustva na ispitivanjima predviđenim u ovom pravilniku.
Organizacija udruženog rada ovlašćena za atestiranje sprovodi postupak atestiranja PUV u roku od petnaest dana od dana uzimanja uzorka PUV.
Ovaj pravilnik stupa na snagu po isteku trideset dana od dana objavljivanja u "Službenom listu SFRJ".











